
![]()
MicroRAE™
QuickStart Guide
User Interface
Functions are controlled via the [MODE] and [Y/+] keys. The display shows information such as monitored threats, real-time readings and measurement units, alarm type (when in alarm, including cal. overdue), battery status, datalog (if on), GPS status, and radio and connection quality (if available).
Charging The MicroRAE
Always fully charge the battery before use. Contacts on the bottom of the MicroRAE meet the Travel Charger’s or Charging Cradle’s contact pins, transferring power.
Make sure the charger and MicroRAE are firmly attached. Then connect the AC Adapter’s plug to the charger, and plug its transformer into an AC outlet. While charging, the LED on the cradle glows red. When
the battery is fully charged, the LED glows green.

WARNINGS
Read Before Operating
The MicroRAE User’s Guide must be carefully read by all individuals who have or will have the responsibility of using, maintaining, or servicing this product. The product will perform as designed only if it is used, maintained, and serviced in accordance with the manufacturer’s instructions.
CAUTION!
| Never operate the monitor when the rear cover is removed. Remove rear cover, sensors, and/or battery or charge the battery only in an area known to be nonhazardous. Never use the instrument with the calibration adapter installed, as this can cause distorted readings, a potential safety threat. |
Turning The MicroRAE On
With the instrument turned off, press and hold the [MODE] key until the audible alarm stops, and then release. During startup, it tests the battery, buzzer, vibration alarm, LEDs, and internal functions. Then the main reading screen is shown.
Note: If the battery is completely empty, then the display briefly shows the message “Low Battery,” and the MicroRAE shuts off. You should charge the battery before turning it on again.
Note: It takes 45 seconds for some sensors to show a reading, so if any have not warmed up by the time the main screen is shown, you will see “- -” instead of a numerical value.
Note: If Fast Startup is enabled on the instrument, fewer screens are shown during startup, compared to the Normal Startup sequence.
Turning The MicroRAE Off
Press and hold [MODE]. A 5-second countdown to shutoff begins. You must continue pressing on the key for the entire shutoff process. If you remove your finger from the key during the countdown, the shutoff operation is canceled and the MicroRAE continues normal operation.
When the countdown ends and the screen displays “Unit Off,” release your finger from the [MODE] key. The MicroRAE is now off.
Testing The Alarms
Under normal-operation mode and non-alarm conditions, the buzzer, vibration alarm, and LED can be tested anytime by pressing [Y/+] once. If any alarm does not respond, check the Alarm Settings in Programming Mode or in ProRAE Studio II to make sure all alarms are enabled. If any alarms are enabled but are not functional, do not use the instrument.
Bump Testing and Calibration Setup
Important! Test the alarms prior to performing a bump or span calibration test.
Manually calibrate the MicroRAE using a fixed-flow regulator (refer to User’s Guide for more details) and the supplied special calibration adapter that covers the gas inlet:
- Connect the gas cylinder, flow regulator, tubing, and calibration adapter to the MicroRAE.
- With the MicroRAE in Normal Mode, enter Programming Mode by pressing and holding both [MODE] and [Y/+] until the password screen appears.
- Input the 4-digit password. (The default password is “0000”.) Then follow the menus to select single- or multi-sensor bump test, zero, or span calibration.
Important! After a bump test or calibration, remove the calibration adapter to ensure correct readings.
Zero & Fresh Air Calibration
Before other calibrations are performed, the MicroRAE should be fresh-air calibrated in clean air with 20.9% oxygen or with a cylinder of clean zero air. The oxygen sensor should be calibrated with nitrogen (N2). In Programming Mode, select “Fresh Air.” Then:
Press [Y/+] to start a Fresh Air calibration for the listed sensors. All are fresh-air calibrated at once.
To individually zero calibrate sensors:
- Select “SINGLE ZERO” and select a sensor.
- Press [Y/+] to select a sensor to zero calibrate.
- Start the flow of the zero gas, if used, and press [Y/+].
- The screen says, “CAL” and counts down.
- When done, it says, “PASS” (the reading should be 0 or very close to it for combustible and toxic gas sensors, and 0% Vol. for an oxygen sensor).
- Shut off the flow of zero air (if used) and remove the calibration adapter.
Span Calibration
Span Calibration determines the second point of the sensor calibration curve for the sensor.
Important! Make sure all sensors have warmed up before performing a span calibration.
With the MicroRAE in Programming Mode:
- Enter the Single Span or Multi-Span menu. The calibration gas value for each sensor is shown.
- In Single Span, select the sensor to calibrate. In Multi-Span, you do not need to select a sensor.
- Connect calibration gas to the instrument and start the flow.
- Press [Y/+] to start calibration.
- After the countdown, the result is shown.
- Exit span calibration.
Bump (Functional) Testing
Bump test to confirm that the sensors and alarms are functional.
Important! Make sure all sensors have warmed up before performing the bump test.
With the MicroRAE in Programming Mode:
- Enter the Bump Test or Multi Bump menu. The calibration gas value for each sensor is shown.
- In Single Bump, select the sensor to bump test. In Multi Bump, you do not need to select a sensor.
- Connect calibration gas to the instrument and start the flow.
- Press [Y/+] to start the bump test.
- After the countdown, the result is shown.
- Exit bump testing.
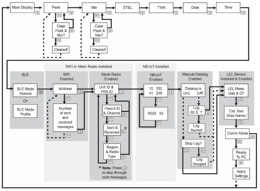
Pressing [MODE] repeatedly allows you to step through the screens as shown here.
Rev. D P/N: M03-4002-000
Note: The gray boxes Indicate optional functions. These depend on the instrument’s configuration and settings. Consult the MicroRAE User’s Guide for more detailed descriptions.
www.raesystems.com or safety.honeywell.com



















