BRINK Renovent Sky 300 Plus Heat Recovery Unit

Replacing post heater
Important: Only possible for Renovent Sky 300 Plus!
- Switch off the main power from the Renovent Sky 300.
- Position the post heater so that the arrow does not point to the appliance and place it on the duct “To dwelling”.
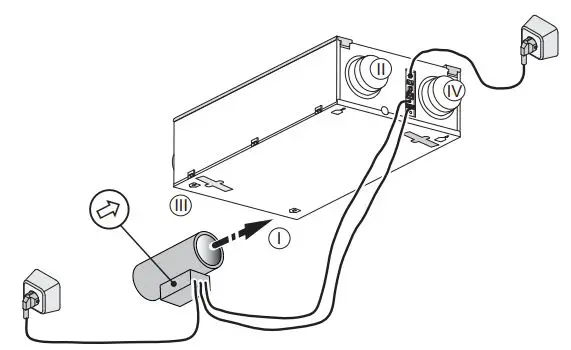
- Connect the wiring of the postheater as shown on the wiring diagram on page 2 is displayed.
- Turn on the power of the Renovent Sky 300 as well as the postheater.
- Parameter 12 must be changed to 2 and set parameter 13 to the desired temperature value.



Wiring diagramy



Technical information

Service
When ordering parts, in addition to the article code number, please state the type of the heat recovery appliance, the serial number, the year of production and the name of the part.
- Maximum safety
- Heating coil
- Mains cable with plug 230V
Wethouder Wassebaliestraat 8 7951 SN Staphorst The Netherlands
- P. O. Box 11 NL-7950 AA Staphorst The Netherlands
- T. +31 (0) 522 46 99 44
- F. +31 (0) 522 46 94 00
- [email protected]
- www.brinkclimatesystems.nl






















