IR 1200 S Radiant Heater
User Manual
Notes regarding the operating manual
Symbols
Warning of electrical voltage
This symbol indicates dangers to the life and health of persons due to electrical voltage.
Warning of hot surface
This symbol indicates dangers to the life and health of persons due to hot surfaces.
Warning
This signal word indicates a hazard with an average risk level that, if not avoided, can result in serious injury or death.
Caution
This signal word indicates a hazard with a low-risk level which, if not avoided, can result in minor or moderate injury.
Note
This signal word indicates important information (e.g. material damage) but does not indicate hazards.
Info
Information marked with this symbol helps you to carry out your tasks quickly and safely.
Follow the manual
Information marked with this symbol indicates that the operating manual must be observed.
You can download the current version of the operating manual and the EU declaration of conformity via the following link:
IR 1200 S
https://hub.trotec.com/?id=42758
Safety
Read this manual carefully before starting or using the device. Always store the manual in the immediate vicinity of the device or its site of use.
Warning
Read all safety warnings and all instructions. Failure to follow the warnings and instructions may result in electric shock. fire andfor serious injury. Save all warnings and instructions for future reference.
This appliance can be used by children aged 8 years and above and persons with reduced physical. sensory or mental capabilities or lack of experience and knowledge if they have been given supervision or instruction concerning the use of the appliance in a safe way and understand the hazards involved.
Children shall not play with the appliance. Cleaning and user maintenance shall not be made by children without supervision.
Warning
Children of less than 3 years should be kept away from the device unless continuously supervised. Children aged from 3 years and less than 8 years shall only switch on/off the appliance provided that it has been placed or installed in its intended normal operating position and they have been given supervision or instruction concerning the use of the appliance in a safe way and understand the hazards involved.
Children aged from 3 years and less than 8 years shall not plug in. regulate and clean the appliance or perform user maintenance.
Warning
Do not use the device in small rooms if persons are present who cannot leave the room independently and who are not under constant supervision.
- Do not use the device in potentially explosive rooms or areas and do not install it there.
- Do not use the device in an aggressive atmosphere.
- Let the device dry out after a wet clean. Do not operate it when wet.
- Do not use the device with wet or damp hands
- Do not expose the device to directly squirting water.
- Never insert any objects or limbs into the device.
- Do not use the device as a source of ignition.
- Do not cover the device during operation.
- This appliance is not a toy. Keep away from children and animals. Do not leave the device unattended during operation.
- Check accessories and connection parts for possible damage prior to every use of the device. Do not use any defective devices or device parts.
- Ensure that all electric cables outside of the device are protected from damage (e.g. caused by animals). Never use the device if electric cables or the power connection are damaged!
- The main connection must correspond to the specifications in the technical annex.
- Insert the mains plug into a property fused mains socket.
- Observe the device’s power input, cable length, and intended use when selecting extensions to the power cable. Completely unroll extension cables. Avoid electrical overload.
- Before carrying out maintenance, care, or repair work on the device, remove the main plug from the main socket. Hold onto the mains plug while doing so.
- Switch the device off and disconnect the power cable from the main socket when the device is not in use.
- Do not under any circumstances use the device if you detect damages on the mains plug or power cable. If the power cable is damaged, it must be replaced by the manufacturer, its service agent, or similarly qualified persons in order to avoid a hazard. Defective power cables pose a serious health risk!
- When installing the device, observe the minimum distances from walls and other objects as well as the storage and operating conditions according to the technical data (chapter Technical annex).
- Keep a safe distance of at least 1 m between the device’s radiator side and all combustible materials such as textiles, curtains, beds and sofas.
- Allow the device to cool down before transport and/or maintenance work.
- The device must not be positioned directly beneath a wall socket.
- Do not use the device if it has been dropped or if it shows visible signs of damage.
Intended use
Use the device for heating surfaces in roofed outdoor areas protected from weather effects. Intended use comprises:
- heating surfaces
— in storage facilities,
— in construction areas,
— in containers,
— in the catering trade,
— at trade fairs and events,
— in roofed outdoor areas (e.g. covered terraces).
Foreseeable misuse
- The device is not intended for industrial use.
- Do not place any objects, e.g. clothing, on the device.
- Do not use the device for heating in vehicles.
- Do not use this device in the vicinity of fuel, solvents, varnishes, or other easily inflammable vapors or in rooms where these substances are stored.
- The device may not be used as a heating device for babies/children or animals.
- Do not install the heating device in immediate proximity to swimming pools!
- Any use other than the intended use is regarded as a reasonably foreseeable misuse.
- Any unauthorized changes, modifications, or alterations to the device are forbidden.
Personnel qualifications
People who use this device must:
- • be aware of the dangers that occur when working with electric devices in damp areas.
- have read and understood the operating manual, especially the Safety chapter. Maintenance tasks that require the housing to be opened must only be carried out by specialist electrical companies or by Trotec.
Symbols on the device
| Symbols | Meaning |
![]() | This symbol located on the device indicates that it is prohibited to place objects (such as towels, clothes, etc.) above or directly in front of the device. In order to avoid overheating and fire hazards, the heater must not be covered. |
Residual risks
Warning of electrical voltage
Work on the electrical components must only be carried out by an authorized specialist company!
Warning of electrical voltage
Before any work on the device, remove the main plug from the main socket!
Do not touch the mains plug with wet or damp hands. Hold onto the mains plug while pulling the power cable out of the mains socket.
Warning of hot surface
Parts of this appliance can become very hot and cause burns. Particular attention is to be paid when there are children or vulnerable persons present!
Warning
Dangers can occur to the device when it is used by untrained people in an unprofessional or improper way! Observe the personnel qualifications!
Warning
The device is not a toy and does not belong in the hands of children.
Warning
Risk of suffocation! Do not leave the packaging lying around. Children may use it as a dangerous toy.
Warning
Improper installation entails a risk of fire. Do not place the device on the combustible ground. Do not place the device on high-pile carpets.
Warning
Risk of injury due to infrared radiation! Do not stay in the device’s immediate vicinity for too long. Do not look directly into the device for too long. Observe the minimum distances.
Warning of electrical voltage
Risk of electric shock! Risk of an electric shock if the heating device comes into contact with water in swimming pools! Do not install the heating device in immediate proximity to swimming pools!
Warning
In order to avoid overheating and fire hazards, the device must not be covered!
Warning
Coarse dirt particles on the heating rods can cause the device to overheat. Fire hazard! Remove coarse dirt particles from the heating rods according to the Maintenance chapter before switching on the device.
Behavior in the event of an emergency
- Switch the device off.
- In an emergency, disconnect the device from the mains feed-in: Hold onto the mains plug while pulling the power cable out of the mains socket.
- Do not reconnect a defective device to the mains.
Information about the device
Device description The device IR 1200 S is used to quickly generate instant heat. The device is based on the functional principle of heat generation by infrared radiation. Persons or objects are heated directly.
The 2 heating levels of up to 1200 W can be set using the pull switch with a cord.
- suitable for the application in roofed outdoor areas
- splash-proof 1P24
- only suitable for wall mounting
- adjustable angle
- no dust circulation (suitable for allergy sufferers)
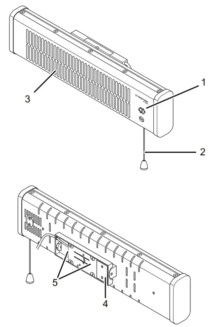
Device depiction

| No. | Designation |
| 1 | Heating level indicator: 0 = off 1 = level 1 (600 W) 2 = level 2 (1200 W) |
| 2 | Pull switch with cord |
| 3 | Heating rods |
| 4 | Swiveling bracket |
| 5 | Bracket for wall mounting |
Transport and storage
Note If you store or transport the device improperly, the device may be damaged.
Note the information regarding the transport and storage of the device.
Transport
Before transporting the device, observe the following:
- Switch the device off.
- Hold onto the mains plug while pulling the power cable out of the mains socket.
- Do not use the power cable to drag the device.
- Allow the device to cool down sufficiently.
Storage
Before storing the device, proceed as follows:
- Hold onto the mains plug while pulling the power cable out of the mains socket.
- Allow the device to cool down sufficiently.
When the device is not being used, observe the following storage conditions:
- dry and protected from frost and heat
- in an upright position where it is protected from dust and direct sunlight
- with a cover to protect it from invasive dust, if necessary
- Place no further devices or objects on top of the device to prevent it from being damaged.
Assembly and start-up
Scope of delivery
- 1 x device
- 4 x Wall plug for wall holder
- 4 x Fastening screw
- 1 x manual
Unpacking the device
- Open the cardboard box and take the device out.
- Completely remove the packaging.
- Fully unwind the power cable. Make sure that the power cable is not damaged and that you do not damage it during unwinding.
Assembly
Warning of electrical voltage
Risk of injury due to incorrect assembly! Local or national regulations may apply for installation.. We recommend having the installation carried out by a qualified electrician.
The device is only suited for wall mounting. Observe the following requirement for installation inside a room:
Warning
Risk of fire due to improper installation! There is a risk of fire if the required minimum distances are not observed.
Observe the “Installation” section in the “Assembly and start-up” chapter and the technical data in the “Technical annex” chapter.
Installation
When installing the device. observe the minimum distances from walls and other objects as described in the Technical data chapter.
- a minimum distance of 200 cm from the floor.
- a minimum distance of 50 cm from adjacent walls or other objects.
- Do not install the device on the ceiling or directly behind a door.
- Never install the device in a way that it radiates directly onto walls or other objects. Observe the minimum distances from walls or other objects according to the Technical data chapter.
- Only install the device in a horizontal position.

The following is required for installation:
- a pencil for marking the drill holes
- a tape measure for determining the distances
- a suitable drill
- wall plugs appropriate for the structure of the wall
- a screwdriver
- a spirit level
- Mark the drill holes on the wall according to the following pattern:

- Drill the holes into the wall at the marked positions.
- Insert suitable wall plugs into the drill holes.
- Loosen the screws from the holder of the device.

- Remove the cover from the holder.

You can see the hole in the holder as depicted in the picture. - Position the device on the wall and attach it there.
- Make sure that the device is attached securely.
- Reattach the cover on the holder of the device.
- Tilt the device to the desired angle. You can tilt the device by up to 30° both to the top and to the bottom.

Start-up
Info
Odors might arise upon initial start-up or after a longer period of non-use
- Before restarting the device, check the condition of the power cable. If there are doubts as to the sound condition, contact the customer service.
- Do not create tripping hazards when laying the power cable or other electric cables, especially when positioning the device in the middle of the room. Use cable bridges.
- Make sure that extension cables are completely unrolled.
- Make sure that there are no curtains or similar objects in the immediate vicinity.
Connecting the power cable
- Insert the mains plug into a properly fused mains socket.
- Make sure that the power cable is guided along the back of the device. Never guide the power cable along the front of the device!
Operation
Switching the device on
Once you have completely installed the device as described in the chapter Assembly and start-up, you can switch it on.
- Adjust the device position with the swiveling bracket.
- Pull the cord of the pull switch (2) until the desired heating level appears on the heating level indicator (1):
level 0 = device switched off
level 1 = 600 W
level 2 = 1200 W
Shutdown
Warning of electrical voltage
Does not touch the mains plug with wet or damp hands.
- Switch the device off by setting the pull switch (2) to the 0 position.
- Allow the device to cool down completely.
- Hold onto the mains plug while pulling the power cable out of the mains socket.
- Clean the device according to the Maintenance chapter. • Store the device according to the Transport and storage chapter.
Errors and faults
Warning of electrical voltage Tasks that require the device to be opened must only be carried out by authorized specialist companies or by Trotec.
The device has been checked for proper functioning several times during production. If malfunctions occur nonetheless. check the device according to the following list.
The device does not start:
- Check the power connection.
- Check the power cable and mains plug for damage. If you notice damages. do not try to take the device back into operation. If the supply cord is damaged, it must be replaced by the manufacturer. its service agent or similarly qualified persons in order to avoid a hazard.
- Check the on-site fusing.
- Wait for 10 minutes before restarting the device. If the device is not starting. have the electrics checked by a specialist company or by Trotec.
The device does not emit heat:
- The heating element may be defective. If the heating element is defective, have it replaced by a specialist electrical company.
- Check the heating level indicator (1). If it is set to O. the device is switched off.
Switch the device on by selecting heating level 1 or 2.
RCD or another fuse trips:
- Check the fuse. Switch off any other devices to reduce the load on the line.
The device slightly vibrates during switch-on and then stops vibrating:
- Slight vibrations during switch-on are a normal process. No measures are required.
Note Wait for at least 10 minutes after maintenance and repair work. Only then switch the device back on.
The device still does not operate correctly after these checks:
Please contact customer service. If necessary. bring the device to an authorised specialist electrical company or to Trotec for repair.
Maintenance
Activities required before starting maintenance
Warning of electrical voltage
Do not touch the mains plug with wet or damp hands.
- Switch the device off.
- Hold onto the mains plug while pulling the power cable out of the mains socket.
- Allow the device to cool down completely.
Warning of electrical voltage
Tasks that require the device to be opened must only be carried out by authorised specialist companies or by Trotec.
Cleaning the device
Warning of electrical voltage
Never immerse the device in the water!
Warning of hot surface
Do not touch the reflector or the heating rods with bare hands.
Clean the device with a soft, damp, and lint-free cloth. Ensure that no moisture enters the housing. Protect electrical components from moisture. Do not use any aggressive cleaning agents such as cleaning sprays, solvents, or alcohol-based or abrasive cleaners to dampen the cloth.
Wipe the housing dry after cleaning.
Dirt on the heating rods should be removed with a long brush with soft bristles.
Technical annex
Technical data
| Parameter | Value |
| Model | IR 1200 S |
| Heating capacity Stage 1 Stage 2 | 600 W 1200 W |
| Power supply | 220 — 240 V / 50 — 60 Hz |
| Power consumption | 1200 W |
| Nominal current consumption | 5.2 A |
| Plug type | CEE 7/7 |
| IP type of protection | IP 24 |
| Cable length | 1.2 m |
| Dimensions (length x width x height) | 113 x 538 x 135 mm |
| Minimum distance to walls and other objects top (A): sides (B): front (C): bottom (D): | 30 cm 180 cm 50 cm 50 cm |
| Weight | 1.5 kg |
Disposal
The icon with the crossed-out waste bin on waste electrical or electronic equipment stipulates that this equipment must not be disposed of with the household waste at the end of its life. You will find collection points for free return of waste electrical and electronic equipment in your vicinity. The addresses can be obtained from your municipality or local administration. You can also find out about other return options that apply for many EU countries on the website https://hub.trotec.com/?id=45090.Otherwise, please contact an official recycling center for electronic and electrical equipment authorized for your country.
The separate collection of waste electrical and electronic equipment aims to enable the re-use, recycling, and other forms of recovery of waste equipment as well as to prevent negative effects on the environment and human health caused by the disposal of hazardous substances potentially contained in the equipment.
Trotec GmbH
Grebbener Str. 7
D-52525 Heinsberg
+49 2452 962-400
+49 2452 962-200
[email protected]
www.trotec.com
























