IR 2000 S Radiant Heater
Owner’s Manual
OPERATING MANUAL RADIANT HEATER
TRT-BA-IR2000S-TC211028TTRT01-010-EN
Notes regarding the operating manual
Symbols
Warning of electrical voltage
This symbol indicates dangers to the life and health of persons due to electrical voltage.
Warning of hot surface
This symbol indicates dangers to the life and health of persons due to hot surface.
Warning
This signal word indicates a hazard with an average risk level which, if not avoided, can result in serious injury or death.
Caution
This signal word indicates a hazard with a low risk level which, if not avoided, can result in minor or moderate injury.
Note
This signal word indicates important information (e.g. material damage), but does not indicate hazards.
Info
Information marked with this symbol helps you to carry out your tasks quickly and safely.
Follow the manual
Information marked with this symbol indicates that the operating manual must be observed.
You can download the current version of the operating manual and the EU declaration of conformity via the following link:
https://hub.trotec.com/?id=40761
Safety
Read this manual carefully before starting or using the device. Always store the manual in the immediate vicinity of the device or its site of use.
Warning
Read all safety warnings and all instructions.
Failure to follow the warnings and instructions may result in electric shock, fire and/or serious injury.
Save all warnings and instructions for future reference.
This appliance can be used by children aged from 8 years and above and persons with reduced physical, sensory or mental capabilities or lack of experience and knowledge if they have been given supervision or instruction concerning use of the appliance in a safe way and understand the hazards involved.
Children shall not play with the appliance. Cleaning and user maintenance shall not be made by children without supervision.
Warning
Children of less than 3 years should be kept away from the device unless continuously supervised.
Children aged from 3 years and less than 8 years shall only switch on/off the appliance provided that it has been placed or installed in its intended normal operating position and they have been given supervision or instruction concerning use of the appliance in a safe way and understand the hazards involved.
Children aged from 3 years and less than 8 years shall not plug in, regulate and clean the appliance or perform user maintenance.
Warning
Do not use the device in small rooms if persons are present who cannot leave the room independently and who are not under constant supervision.
- Do not use the device in potentially explosive rooms or areas and do not install it there.
- Do not use the device in aggressive atmosphere.
- Let the device dry out after a wet clean. Do not operate it when wet.
- Do not use the device with wet or damp hands.
- Do not expose the device to directly squirting water.
- Never insert any objects or limbs into the device.
- Do not use the device as source of ignition.
- Do not cover the device during operation.
- This appliance is not a toy. Keep away from children and animals. Do not leave the device unattended during operation.
- Check accessories and connection parts for possible damage prior to every use of the device. Do not use any defective devices or device parts.
- Ensure that all electric cables outside of the device are protected from damage (e.g. caused by animals). Never use the device if electric cables or the power connection are damaged!
- The mains connection must correspond to the specifications in the Technical annex.
- Insert the mains plug into a properly fused mains socket.
- Observe the device’s power input, cable length and intended use when selecting extensions to the power cable. Completely unroll extension cables. Avoid electrical overload.
- Before carrying out maintenance, care or repair work on the device, remove the mains plug from the mains socket. Hold onto the mains plug while doing so.
- Switch the device off and disconnect the power cable from the mains socket when the device is not in use.
- Check the power cable and mains plug for damage. If you notice damages, do not try to take the device back into operation. Order a new power cable with mains plug from Trotec and replace the defective power cable with mains plug with the new one. Defective power cables pose a serious health risk!
- When installing the device, observe the minimum distances from walls and other objects as well as the storage and operating conditions according to the technical data (chapter Technical annex).
- Keep a safety distance of at least 1 m between the device’s radiator side and all combustible materials such as textiles, curtains, beds and sofas.
- Allow the device to cool down before transport and/or maintenance work.
- The device must not be installed directly beneath a socket.
- The device must not be used with a programming switch, timer, separate remote control system or similar equipment that switches the device on automatically, as this could cause a fire hazard if the heater is covered or positioned incorrectly.
- Do not use the device if it has been dropped or if it shows visible signs of damage.
Intended use
Use the device for heating surfaces in roofed outdoor areas protected from weather effects.
Intended use comprises:
- heating surfaces
– in storage facilities,
– in construction areas,
– in containers,
– in the catering trade,
– at trade fairs and events,
– in roofed outdoor areas (e.g. covered terraces).
Foreseeable misuse
- The device is not intended for industrial use.
- Do not place any objects, e.g. clothing, on the device.
- Do not use the device for heating in vehicles.
- Do not use this device in the vicinity of fuel, solvents, varnishes or other easily inflammable vapours or in rooms where these substances are stored.
- The device may not be used as a heating device for babies / children or animals.
- Do not install the heating device in immediate proximity to swimming pools!
- The device may not be exposed to moisture or weather effects (rain, sunlight).
- The device must not be mounted to the ceiling.
- Any use other than the intended use is regarded as a reasonably foreseeable misuse.
Any unauthorised changes, modifications or alterations to the device are forbidden.
Personnel qualifications
People who use this device must:
- be aware of the dangers that occur when working with electric devices in damp areas.
- have read and understood the operating manual, especially the Safety chapter.
Maintenance tasks which require the housing to be opened must only be carried out by specialist electrical companies or by Trotec.
Symbols on the device
| Symbols | Meaning |
| This symbol located on the device indicates that it is prohibited to place objects (such as towels, clothes etc.) above or directly in front of the device. In order to avoid overheating and fire hazards, the heater must not be covered. |
Residual risks
Warning of electrical voltage
Work on the electrical components must only be carried out by an authorised specialist company!
Warning of electrical voltage
Before any work on the device, remove the mains plug from the mains socket! Do not touch the mains plug with wet or damp hands. Hold onto the mains plug while pulling the power cable out of the mains socket.
Warning of electrical voltage
Risk of electric shock! Risk of an electric shock if the heating device comes into contact with water in swimming pools! Do not install the heating device in immediate proximity to swimming pools!
Warning of hot surface
Parts of this appliance can become very hot and cause burns. Particular attention is to be paid when there are children or vulnerable persons present!
Warning
Dangers can occur at the device when it is used by untrained people in an unprofessional or improper way! Observe the personnel qualifications!
Warning
The device is not a toy and does not belong in the hands of children.
Warning
Risk of suffocation! Do not leave the packaging lying around. Children may use it as a dangerous toy.
Warning
Improper installation entails a risk of fire. Do not place the device on combustible ground. Do not place the device on high-pile carpets.
Warning
Risk of injury due to infrared radiation! Do not stay in the device’s immediate vicinity for too long. Do not look directly into the device for too long. Observe the minimum distances.
Warning
In order to avoid overheating and fire hazards, the device must not be covered!
Warning
Coarse dirt particles on the heating rods can cause the device to overheat. Fire hazard! Remove coarse dirt particles from the heating rods according to the Maintenance chapter before switching on the device.
Behaviour in the event of an emergency
- Switch the device off.
- In an emergency, disconnect the device from the mains feed-in: Hold onto the mains plug while pulling the power cable out of the mains socket.
- Do not reconnect a defective device to the mains.
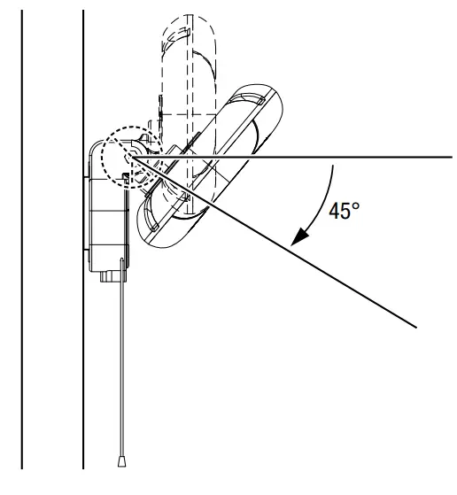
Tilt protection
The device comes equipped with a tilt protection. The tilt protection is a safety device intended to minimize the risk of fire in case the device is tipped over inadvertently. The device will be switched off when knocked over or when tilted beyond the inclination angle of 45°.
The device automatically switches back on when brought into an upright position.
Information about the device
Device description
The device IR 2000 S is used to quickly generate instant heat.
The device is based on the functional principle of heat generation by infrared radiation. Persons or objects are heated directly.
The 3 heating levels of up to 2000 W can be set using the pull switch with cord.
- suitable for the application in wet rooms and roofed outdoor areas
- splash-proof IP34
- suitable for wall mounting or attachment to a telescopic tripod
- adjustable angle
- no dust circulation (suitable for allergy sufferers)
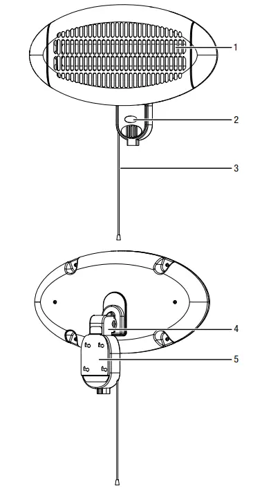
Device depiction
| No. | Designation |
| 1 | Heating rods |
| 2 | Heating level indicator: 0 = off 1 = level 1 (650 W) 2 = level 2 (1300 W) 3 = level 3 (2000 W) |
| 3 | Pull switch with cord |
| 4 | Swivelling bracket |
| 5 | Bracket for wall mounting |
Transport and storage
Note
If you store or transport the device improperly, the device may be damaged. Note the information regarding transport and storage of the device.
Transport
Before transporting the device, observe the following:
- Switch the device off.
- Hold onto the mains plug while pulling the power cable out of the mains socket.
- Do not use the power cable to drag the device.
- Allow the device to cool down sufficiently.
Storage
Before storing the device, proceed as follows:
- Hold onto the mains plug while pulling the power cable out of the mains socket.
- Allow the device to cool down sufficiently.
When the device is not being used, observe the following storage conditions:
- Store the device in a dry location and protected from frost and heat.
- Store the device in an upright position where it is protected from dust and direct sunlight.
- If required, use a cover to protect the device from invasive dust.
- Place no further devices or objects on top of the device to prevent it from being damaged.
Assembly and start-up
Scope of delivery
- 1 x Device
- 4 x Fastening screw
- 4 x Wall plug
- 1 x Manual
Unpacking the device
- Open the cardboard box and take the device out.
- Completely remove the packaging.
- Fully unwind the power cable. Make sure that the power cable is not damaged and that you do not damage it during unwinding.
Assembly
Warning of electrical voltage
Risk of injury due to incorrect assembly!
Local or national regulations may apply for installation. We recommend to have the installation carried out by a qualified electrician.
The device is suited for wall mounting. Alternatively, you can also use a telescopic tripod. Observe the following requirement for installation inside a room:
Warning
Risk of fire due to improper installation!
There is a risk of fire if the required minimum distances are not observed.
Observe the “Installation” section in the “Assembly and start-up” chapter and the technical data in the “Technical annex” chapter.
Installation
When installing the device, observe the minimum distances from walls and other objects as described in the Technical data chapter.
- Minimum distance of 200 cm from the floor.
- Minimum distance of 50 cm from adjacent walls or other objects.
- Do not install the device at the ceiling or directly behind a door.
- Never install the device in a way that it radiates directly onto walls or other objects. Observe the minimum distances from walls or other objects according to the Technical data chapter.

The following is required for installation:
- a pencil for marking the drill holes
- a tape measure for determining the distances
- a suitable drill
- wall plugs appropriate for the structure of the wall
- a screwdriver
- a spirit level
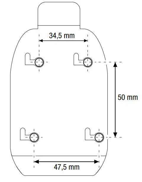
- Mark the drill holes on the wall according to the following pattern:

- Drill the holes into the wall at the marked positions.
- Insert suitable wall plugs into the drill holes.
- Insert the screws into the wall plugs and fasten the screws.
The screws should protrude approx. 0.5 cm from the wall plugs. - Hang the device in.
- Check whether all 4 screws are hooked into the bracket.
- Make sure that the device is attached securely.
- Tilt the device to the desired angle. The device can be tilted downwards by 45°.

Start-up
Info
Odours might arise upon initial start-up or after a longer period of non-use.
- Before restarting the device, check the condition of the power cable. If there are doubts as to the sound condition, contact the customer service.
- Do not create tripping hazards when laying the power cable or other electric cables, especially when positioning the device in the middle of the room. Use cable bridges.
- Make sure that extension cables are completely unrolled.
- Make sure that there are no curtains or similar objects in the immediate vicinity.
Connecting the power cable
- Insert the mains plug into a properly fused mains socket.
- Make sure that the power cable is guided along the back of the device. Never guide the power cable along the front of the device!
Operation
Info
Do not tilt the device beyond the inclination angle of 45°. Otherwise the device will not be switched on, as the tilt protection will be activated.
Switching the device on
Once you have completely installed the device as described in the chapter Assembly and start-up, you can switch it on.
- Adjust the device position with the swivelling bracket.
- Pull the cord of the pull switch (3) until the desired heating level appears on the heating level indicator (2):
level 0 = device switched off
level 1 = 650 W
level 2 = 1300 W
level 3 = 2000 W
Shutdown
Warning of electrical voltage
Do not touch the mains plug with wet or damp hands.
- Switch the device off by setting the pull switch (3) to the 0 position.
- Allow the device to cool down completely.
- Hold onto the mains plug while pulling the power cable out of the mains socket.
- Clean the device according to the Maintenance chapter.
- Store the device according to the Transport and storage chapter.
Errors and faults
Warning of electrical voltage
Tasks which require the device to be opened must only be carried out by authorised specialist companies or by Trotec.
The device has been checked for proper functioning several times during production. If malfunctions occur nonetheless, check the device according to the following list.
The device does not start:
- Check the power connection.
- Check the power cable and mains plug for damages. If you notice damages, do not try to take the device back into operation. Order a new power cable with mains plug from Trotec and replace the defective power cable with mains plug with the new one.
- Check the on-site fusing.
- The device has been tilted beyond the inclination angle of 45°. Check whether the tilt protection has tripped. Place the device in an upright position to avoid the tilt protection being activated. Switch the device on again by pulling the cord of the pull switch (3) and setting a heating level.
- Wait for 10 minutes before restarting the device. If the device is not starting, have the electrics checked by a specialist company or by Trotec.
The device does not emit heat:
- The heating element may be defective. If the heating element is defective, have it replaced by a specialist electrical company.
- Check the heating level indicator (2). If it is set to 0, the device is switched off.
Switch the device on by selecting another heating level between 1 and 3.
RCD or another fuse trips:
- Check the fuse. Switch off any other devices to reduce the load on the line.
- Contact a specialist electrical company.
The device slightly vibrates during switch-on and then stops vibrating:
- Slight vibrations during switch-on are a normal process.
No measures are required.
Note Wait for at least 3 minutes after maintenance and repair work. Only then switch the device back on.
The device still does not operate correctly after these checks:
Please contact the customer service. If necessary, bring the device to an authorised specialist electrical company or to Trotec for repair.
Maintenance
Activities required before starting maintenance
Warning of electrical voltage
Do not touch the mains plug with wet or damp hands.
- Switch the device off.
- Hold onto the mains plug while pulling the power cable out of the mains socket.
- Allow the device to cool down completely.
Warning of electrical voltage
Tasks which require the device to be opened must only be carried out by authorised specialist companies or by Trotec.
Cleaning the device
Warning of electrical voltage
Never immerse the device in water!
Warning of hot surface
Do not touch the reflector or the heating rods with bare hands.
Clean the device with a soft, damp and lint-free cloth. Ensure that no moisture enters the housing. Protect electrical components from moisture. Do not use any aggressive cleaning agents such as cleaning sprays, solvents, alcohol-based or abrasive cleaners to dampen the cloth. Wipe the housing dry after cleaning. Dirt on the heating rods should be removed with a long brush with soft bristles.
Technical annex
Technical data
| Parameter | Value |
| Model | IR 2000 S |
| Heating capacity | 650 / 1300 / 2000 W |
| Power supply | 1/WPE |
| Plug type | CEE 7/7 |
| Type of protection | IP34 |
| Dimensions (depth x width x height) | 160 x 500 x 370 mm |
| Minimum distance to walls and other objects: top: bottom: sides: front: | 50 cm 200 cm 50 cm 50 cm |
| Weight | 1.5 kg |
Disposal
Always dispose of packing materials in an environmentally friendly manner and in accordance with the applicable local disposal regulations.
The icon with the crossed-out waste bin on waste electrical or electronic equipment stipulates that this equipment must not be disposed of with the household waste at the end of its life. You will find collection points for free return of waste electrical and electronic equipment in your vicinity. The addresses can be obtained from your municipality or local administration. You can also find out about other return options that apply for many EU countries on the website https://hub.trotec.com/?id=45090. Otherwise, please contact an official recycling centre for electronic and electrical equipment authorised for your country.
The separate collection of waste electrical and electronic equipment aims to enable the re-use, recycling and other forms of recovery of waste equipment as well as to prevent negative effects for the environment and human health caused by the disposal of hazardous substances potentially contained in the equipment.
Only for United Kingdom
According to Waste Electrical and Electronic Equipment Regulations 2013 (2013/3113) devices that are no longer usable must be collected separately and disposed of in an environmentally friendly manner.
Trotec GmbH
Grebbener Str. 7 D-52525 Heinsberg
+49 2452 962-400
+49 2452 962-200
[email protected]
www.trotec.com




















