TROTEC IR 2050 Infrared Radiant Heater 
Notes regarding the operating manual
- Warning of electrical voltage
This symbol indicates dangers to the life and health of persons due to electrical voltage. - Warning of hot surface
This symbol indicates dangers to the life and health of persons due to hot surface. - Warning
This signal word indicates a hazard with an average risk level which, if not avoided, can result in serious injury or death. - Caution
This signal word indicates a hazard with a low risk level which, if not avoided, can result in minor or moderate injury. - Note
This signal word indicates important information (e.g. material damage), but does not indicate hazards. - Info
Information marked with this symbol helps you to carry out your tasks quickly and safely. - Follow the manual
Information marked with this symbol indicates that the operating manual must be observed.
Safety
Read this manual carefully before starting or using the device. Always store the manual in the immediate vicinity of the deavice or its site of use.
Warning
Read all safety warnings and all instructions. Failure to follow the warnings and instructions may result in electric shock, fire and/or serious injury. Save all warnings and instructions for future reference.This appliance can be used by children agedfrom 8 years and above and persons with reduced physical, sensory or mental capabilities or lack of experience and knowledge if they have been given supervision or instruction concerning use of the appliance in a safe way and understand the hazards involved. Children shall not play with the appliance. Cleaning and user maintenance shall not be made by children without supervision.
Warning
Children of less than 3 years should be kept away from the device unless continuously supervised. Children aged from 3 years and less than 8 years shall only switch on/off the appliance provided that it has been placed or installed in its intended normal operating position and they have been given supervision or instruction concerning use of the appliance in a safe way and understand the hazards involved. Children aged from 3 years and less than 8 years shall not plug in, regulate and clean the appliance or perform user maintenance.
Warning
Do not use the device in small rooms if persons are present who cannot leave the room independently and who are not under constant supervision.
Warning
Always remove the transport protection made of plastic foam completely from the device before taking the device into operation. Otherwise there is a risk of fire!Observe the Assembly and installation chapter.
- Do not use the device in potentially explosive rooms or areas and do not install it there.
- Do not use the device in aggressive atmosphere.
- Let the device dry out after a wet clean. Do not operate it when wet.
- Do not use the device with wet or damp hands.
- Do not expose the device to directly asquirting water.
- Never insert any objects or limbs into the device.
- Do not use the device as source of ignition.
- Do not cover the device during operation.
- This appliance is not a toy. Keep away from children and animals. Do not leave the device unattended during operation.
- Check accessories and connection parts for possible damage prior to every use of the device. Do not use any defective devices or device parts.
- Ensure that all electric cables outside of the device are protected from damage (e.g. caused by animals). Never use the device if electric cables or the power connection are damaged!
- The mains connection must correspond to the specifications in the Technical annex.
- Insert the mains plug into a properly fused mains socket.
- Observe the device’s power input, cable length and intended use when selecting extensions to the power cable. Completely unroll extension cables. Avoid electrical overload.
- Before carrying out maintenance, care or repair work on the device, remove the mains plug from the mains socket. Hold onto the mains plug while doing so.
- Switch the device off and disconnect the power cable from the mains socket when the device is not in use.
- Check the power cable and mains plug for damage. If you notice damages, do not try to take the device back into operation. Order a new power cable with mains plug from Trotec and replace the defective power cable with mains plug with the new one.
- effective power cables pose a serious health risk!
- When installing the device, observe the minimum distances from walls and other objects as well as the storage and operating conditions according to the technical data (chapter Technical annex).
- Keep a safety distance of at least 1 m between the device’s radiator side and all combustible materials such as textiles, curtains, beds and sofas.
- Allow the device to cool down before transport and/or maintenance work.
- The device must not be installed directly beneath a socket.
- Do not use the device if it has been dropped or if it shows visible signs of damage.
- Use the CR 2025 button battery type.
- Never charge batteries that cannot be recharged.
- Different types of batteries and new and used batteries must not be used together.
- Insert the batteries into the battery compartment according to the correct polarity.
- Remove discharged batteries from the device. Batteries contain materials hazardous to the environment. Dispose of the batteries according to the national regulations.
- Remove the batteries from the remote control if you will not be using the device for a longer period of time.
- Never short-circuit the supply terminal in the battery compartment!
- Do not swallow batteries! If a battery is swallowed, it can cause severe internal burns within 2 hours! These burns can lead to death!
- If you think batteries might have been swallowed or otherwise entered the body, seek medical attention immediately!
- Keep new and used batteries and an open battery compartment away from children.
- If the battery compartment does not close securely, stop using the product via the remote control.
Intended use
Use the device IR 2050 / IR 3050 for heating surfaces in roofed and non-roofed outdoor areas.
Intended use comprises:
- heating surfaces
- in storage facilities,
- in construction areas,
- in containers,
- in the catering trade,
- at trade fairs and events,
- in outdoor areas (e.g. terraces).
Note
Please use a safety fuse (overcurrent protection device) or a type C circuit breaker.
Foreseeable misuse
- The device is not intended for industrial use.
- Do not place any objects, e.g. clothing, on the device.
- Do not use the device for heating in vehicles.
- Do not use this device in the vicinity of fuel, solvents, varnishes or other easily inflammable vapours or in rooms where these substances are stored.
- The device may not be used as a heating device for babies/children or animals.
- Do not install the heating device in immediate proximity to swimming pools!
- The device must not be mounted to the ceiling.
- Any use other than the intended use is regarded as a reasonably foreseeable misuse.
Any unauthorized changes, modifications or alterations to the device are forbidden.
Personnel qualifications
People who use this device must:
- be aware of the dangers that occur when working with electric devices in damp areas.
- have read and understood the operating manual, especially the Safety chapter.
- Maintenance tasks which require the housing to be opened must only be carried out by specialist electrical companies or by Trotec.
Residual risks
- Warning of electrical voltage
Work on the electrical components must only be carried out by an authorised specialist company! - Warning of electrical voltage
Before any work on the device, remove the mains plug from the mains socket! Do not touch the mains plug with wet or damp hands. Hold onto the mains plug while pulling the power cable out of the mains socket. - Warning of electrical voltage
Risk of electric shock! Risk of an electric shock if the heating device comes into contact with water in swimming pools! Do not install the heating device in immediate proximity to swimming pools! - Warning of hot surface
Parts of this appliance can become very hot and cause burns. Particular attention is to be paid when there are children or vulnerable persons present! - Warning
Dangers can occur at the device when it is used by untrained people in an unprofessional or improper way!Observe the personnel qualifications! - Warning
The device is not a toy and does not belong in the hands of children. - Warning
Risk of suffocation! Do not leave the packaging lying around. Children may use it as a dangerous toy. - Warning
Improper installation entails a risk of fire. Do not place the device on combustible ground. Do not place the device on high-pile carpets. - Warning
Risk of injury due to infrared radiation! Do not stay in the device’s immediate vicinity for too long. Do not look directly into the device for too long. Observe the minimum distances. - Warning
In order to avoid overheating and fire hazards, the device must not be covered! - Warning
Coarse dirt particles on the heating rods can cause the device to overheat. Fire hazard! Remove coarse dirt particles from the heating rods according to the Maintenance chapter before switching on the device.
Behavior in the event of an emergency
- Switch the device off.
- In an emergency, disconnect the device from the mains feed-in: Hold onto the mains plug while pulling the power cable out of the mains socket.
- Do not reconnect a defective device to the mains.
Information about the device
The device IR 2050 / IR 3050 is used to quickly generate instant heat. The device is based on the functional principle of heat generation by infrared radiation. Persons or objects are heated directly. The 3 heating levels can be selected using the remote control. The device indicates operation by means of two-coloured LEDs.
- suitable for outdoor use
- IP65 type of protection – water-jet-proof professional device, dustproof and rainproof from all directions
- The IR 2050 comes equipped with a high-quality low-glare short-wave infrared tube offering more heat, lower brightness and a long service life.
- The IR 3050 comes equipped with two high-quality low-glare short-wave infrared tubes offering more heat, lower brightness and a long service life.
- approx. 6,000 operating hours with a light reduction of 80 %
- only suitable for wall mounting
- adjustable angle
- no dust circulation (suitable for allergy sufferers)
Device depiction IR 2050
| No. | Designation |
| 1 | Operating light (behind grille) |
| 2 | On/off switch |
| 3 | Wall holder with adjustable inclination angle |
| 4 | Remote control |
| 5 | Heating rod |
| 6 | Grille |
| 7 | Infrared receiver for remote control |

| No. | Designation |
| 1 | Operating light (behind grille) |
| 2 | On/off switch |
| 3 | Wall holder with adjustable inclination angle |
| 4 | Remote control |
| 5 | Heating rod |
| 6 | Grille |
| 7 | Infrared receiver for remote control |
Transport and storage
Note
If you store or transport the device improperly, the device may be damaged. Note the information regarding transport and storage of the device.
Transport
Before transporting the device, observe the following:
- Switch the device off.
- Hold onto the mains plug while pulling the power cable out of the mains socket.
- Do not use the power cable to drag the device.
- Allow the device to cool down sufficiently.
- Store the device in a dry location and protected from frost and heat.
- Store the device in an upright position where it is protected from dust and direct sunlight.
- If required, use a cover to protect the device from invasive dust.
- Place no further devices or objects on top of the device to prevent it from being damaged.
- Remove batteries from the remote control.
Assembly and start-up
- 1 x Device
- 1 x Mounting bracket
- 2 x Wing nut
- 3 x Screw
- 2 x Fastening screw
- 3 x Wall plug
- 1 x SW 5 Allen wrench
- 1 x Remote control
- 1 x Manual
IR 3050
- 1 x Device
- 2 x Mounting bracket
- 4 x Wing nut
- 6 x Screw
- 4 x Fastening screw
- 6 x Wall plug
- 1 x SW 5 Allen wrench
- 1 x Remote control
- 1 x Manual
Unpacking the device
- Open the cardboard box and take the device out.
- Completely remove the packaging.
- Remove the transport protection from the grille (6) of the radiant heater.

- Fully unwind the power cable. Make sure that the power cable is not damaged and that you do not damage it during unwinding.
Installation
When installing the device, observe the minimum distances from walls and other objects as described in the Technical data chapter.
- Minimum distance of 180 cm from the floor.
- Minimum distance of 50 cm from adjacent walls or other objects.
- Do not install the device at the ceiling or directly behind a door.
- Never install the device in a way that it radiates directly onto walls or other objects. Observe the minimum distances from walls or other objects according to the Technical data chapter.
- Only install the device in a horizontal position.

The following is required for installation:
- a pencil for marking the drill holes
- a suitable drill
- wall plugs appropriate for the structure of the wall
- a screwdriver
- a spirit level
IR 2050
- Mark the drill holes on the wall.

- Drill the holes into the wall at the marked positions.
- Insert suitable wall plugs into the drill holes.
- Screw the mounting bracket to the wall.
- Check the mounting bracket for tight fit.
- Screw the device onto the mounting bracket. To do so, fasten the wall holder to the mounting bracket using the fastening screws and wing nuts.
- Make sure that the device is attached securely.

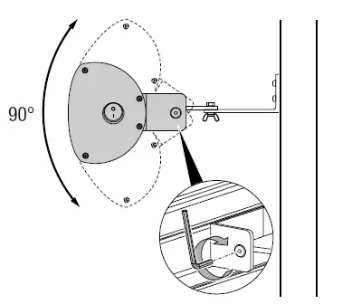
- Tilt the device to the desired angle. The device can be tilted upwards and downwards by 90°. Use the Allen wrench to fix the inclination angle.

IR 3050
- Mark the drill holes on the wall.

- Drill the holes into the wall at the marked positions.
- Insert suitable wall plugs into the drill holes.
- Screw the mounting brackets to the wall.
- Check the mounting brackets for tight fit.
- Screw the device onto the mounting brackets. To do so, fasten the wall holders to the mounting brackets using the fastening screws and wing nuts.
- Make sure that the device is attached securely.

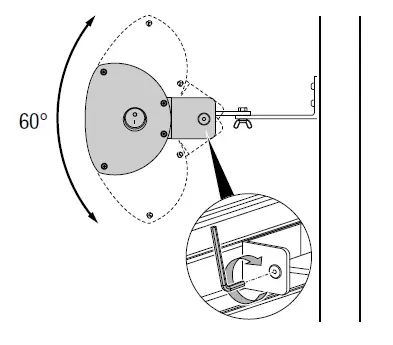
- Tilt the device to the desired angle. The device can be tilted upwards and downwards by 60°. Use the Allen wrench to fix the inclination angle.

Note
Please use a safety fuse (overcurrent protection device) or a type C circuit breaker.
Note
Current peaks in the millisecond range may occur temporarily during switch-on of the device. With an output of up to 3,000 watts, this may cause category 16A-B circuit breakers to trigger and to become defective in the long run.
If necessary, have the fuses replaced by a specialist electrical company.
Info
Odours might arise upon initial start-up or after a longer period of non-use.
- Before restarting the device, check the condition of the power cable. If there are doubts as to the sound condition, contact the customer service.
- Do not create tripping hazards when laying the power cable or other electric cables, especially when positioning the device in the middle of the room. Use cable bridges.
- Make sure that extension cables are completely unrolled.
- Make sure that there are no curtains or similar objects in the immediate vicinity.
Inserting batteries into the remote control
- Press the locking at the side of the battery compartment together and pull the battery compartment out of the remote control.
- Insert a type CR 2025 battery into the battery compartment and slide the battery compartment back into the remote control.
Operation
Note
Please use a safety fuse (overcurrent protection device) or a type C circuit breaker.
Info
The device will only emit heat if the settings are made via the remote control.
Info
If you switch off the device via the remote control, the device will be set to standby mode. If standby operation is not required, you can switch the device off via the on/off switch (2).
Remote control
The device settings can only be made using the remote control included in the scope of delivery. Therefore, keep the remote control in a safe place, otherwise the device can no longer be operated. Should you still be unable to find the remote control, you can reorder a new one from Trotec.
| No. | Designation | Meaning |
| 8 | Transmitter | Sends signals to the device. |
| 9 | Power button | For switching the device on and off |
| 10 | P2 button | To select heating capacity level 2 (2000 W) |
| 11 | P3 button | To select heating capacity level 3 (3000 W) |
| 12 | P1 button | To select heating capacity level 1 (1000 W) |
Switching the device on
Once you have completely installed the device as described in the chapter Assembly and start-up, you can switch it on.
Shutdown
- Switch off the device by pressing the Power button (9) on the remote control. Then set the on/off switch (2) on the device to 0. The operating light flashes red.
- Allow the device to cool down completely.
- Hold onto the mains plug while pulling the power cable out of the mains socket.
- Clean the device according to the Maintenance chapter.
- Store the device according to the Transport and storage chapter.
Available accessories
Warning
Only use accessories and additional equipment specified in the operating manual. Using insertion tools or accessories other than those specified in the operating manual may cause a risk of injury.
| Designation | Article number |
| remote control IR 2050 | 7.140.000.575 |
| remote control IR 3050 | 7.140.000.042 |
Errors and faults
Warning of electrical voltage Tasks which require the device to be opened must only be carried out by authorised specialist companies or by Trotec.The device has been checked for proper functioning several times during production. If malfunctions occur nonetheless, check the device according to the followaing list.
The device does not start:
- Check the power connection.
- Check the power cable and mains plug for damages. If you notice damages, do not try to take the device back into operation. Order a new power cable with mains plug from Trotec and replace the defective power cable with mains plug with the new one.
- Check the on-site fusing.
- Wait for 10 minutes before restarting the device. If the device is not starting, have the electrics checked by a specialist company or by Trotec.
- The heating element may be defective. If the heating element is defective, have it replaced by a specialist electrical company.
- Check the on/off switch. If the on/off switch is set to the 0 position, the device is switched off. Switch the device on.
- Check the operating light. If the operating light flashes red, the device is running in standby mode.
- Switch on the device by selecting a heating level via the remote control.
- Check the fuse. Switch off any other devices to reduce the load on the line.
- Contact a specialist electrical company.
- Check whether the distance between remote control and device is too large and reduce it if necessary.
- Make sure there are no obstacles, such as furniture or walls, between the device and the remote control. Ensure visual contact between device and remote control.
- Check the charging status of the batteries and change them if required.
- If the batteries have just been changed, check them for correct polarity.
Cleaning the device
Warning of electrical voltage
Never immerse the device in water!
Warning of hot surface
Do not touch the reflector or the heating rods with bare hands.Clean the device with a soft, damp and lint-free cloth. Ensure that no moisture enters the housing. Protect electrical components from moisture. Do not use any aggressive cleaning agents such as cleaning sprays, saolvents, alcohol-based or abrasive cleaners to dampen the cloth Dirt on the heating rods should be removed with a long brush with soft bristles.
Technical annex
| Parameter | Value | |
| Model | IR 2050 | IR 3050 |
| Heating capacity | 750 / 1500 / 2000 W | 1000 / 2000 / 3000 W |
| Power supply | 220–240 V ~ 50/60 Hz | 220–240 V ~ 50/60 Hz |
| Plug type | CEE 7/7 | CEE 7/7 |
| Protection class | IP65 | IP65 |
| Dimensions (depth x width x height) | 165 x 630 x 105 mm | 165 x 960 x 105 mm |
| Minimum distance to walls and other objects: top: bottom: sides: front: |
50 cm 180 cm 50 cm 50 cm |
50 cm 180 cm 50 cm 50 cm |
| Remote control batteries | type CR 2025 / 3 V | type CR 2025 / 3 V |
| Weight | 2 kg | 3 kg |
Disposal
The icon with the crossed-out waste bin on waste electrical or electronic equipment stipulates that this equipment must not be disposed of with the household waste at the end of its life. You will find collection points for free return of waste electrical and electronic equipment in your vicinity. The addresses can be obtained from your municipality or local administration. You can also find out about other return options that apply for many EU countries on the website /https://hub.trotec.com?id=45090. Otherwise, please contact an official recycling centre for electronic and electrical equipment authorised for your country. The separate collection of waste electrical and electronic equipment aims to enable the re-use, recycling and other forms of recovery of waste equipment as well as to prevent negative effects for the environment and human health caused by the disposal of hazardous substances potentially contained in the equipment. In the European Union, batteries and accumulators must not be treated as domestic waste, but must be disposed of professionally in accordance with Directive 2006/66/EC of the European Parliament and of the Council of 6 September 2006 on batteries and accumulators. Please dispose of batteries and accumulators according to the relevant legal requirements.Only for United Kingdom According to Waste Electrical and Electronic Equipment Regulations 2013 (2013/3113) and the Waste Batteries and Accumulators Regulations 2009 (2009/890), power tools that are no longer ausable must be collected separately and disposed of in an environmentally friendly manner.

























