TROTEC TIH 350+ Infrared Heating Plat
Notes regarding the operating manual
Symbols
- Warning of electrical voltage
This symbol indicates dangers to the life and health of persons due to electrical voltage. - Warning of hot surface
This symbol indicates dangers to the life and health of persons due to hot surface. - Warning
This signal word indicates a hazard with an average risk level which, if not avoided, can result in serious injury or death. - Caution
This signal word indicates a hazard with a low risk level which, if not avoided, can result in minor or moderate injury - Note
This signal word indicates important information (e.g. material damage), but does not indicate hazards. - Info
Information marked with this symbol helps you to carry out your tasks quickly and safely. - Follow the manual
Information marked with this symbol indicates that the operating manual must be observed.
You can download the current version of the operating manual and the EU declaration of conformity via the following link:
Safety
Read this manual carefully before starting or using the device. Always store the manual in the immediate vicinity of the device or its site of use.
Warning
Read all safety warnings and all instructions. Failure to follow the warnings and instructions may result in electric shock, fire and/or serious injury. Save all warnings and instructions for future reference.
This appliance can be used by children aged from 8 years and above and persons with reduced physical, sensory or mental capabilities or lack of experience and knowledge if they have been given supervision or instruction concerning use of the appliance in a safe way and understand the hazards involved.
Children shall not play with the appliance. Cleaning and user maintenance shall not be made by children without supervision.
Warning
Children of less than 3 years should be kept away from the device unless continuously supervised.
Children aged from 3 years and less than 8 years shall only switch on/off the appliance provided that it has been placed or installed in its intended normal operating position and they have been given supervision or instruction concerning use of the appliance in a safe way and understand the hazards involved.
Children aged from 3 years and less than 8 years shall not plug in, regulate and clean the appliance or perform user maintenance.
Warning
Do not use the device in small rooms if persons are present who cannot leave the room independently and who are not under constant supervision.
- Do not use the device in potentially explosive rooms or areas and do not install it there.
- Do not use the device in aggressive atmosphere.
- Only put up the device in an upright, stable position on firm ground.
- Let the device dry out after a wet clean. Do not operate it when wet.
- Do not use the device with wet or damp hands.
- Do not expose the device to directly squirting water.
- Never insert any objects or limbs into the device.
- Do not cover or transport the device during operation.
- Do not remove any safety signs, stickers or labels from the device. Keep all safety signs, stickers and labels in legible condition.
- Do not sit on the device.
- This appliance is not a toy. Keep away from children and animals. Do not leave the device unattended during operation.
- Check accessories and connection parts for possible damage prior to every use of the device. Do not use any defective devices or device parts.
- Ensure that all electric cables outside of the device are protected from damage (e.g. caused by animals). Never use the device if electric cables or the power connection are damaged!
- The mains connection must correspond to the specifications in the Technical annex.
- Insert the mains plug into a properly fused mains socket.
- Observe the device’s power input, cable length and intended use when selecting extensions to the power cable. Completely unroll extension cables. Avoid electrical overload.
- Before carrying out maintenance, care or repair work on the device, remove the mains plug from the mains socket. Hold onto the mains plug while doing so.
- Switch the device off and disconnect the power cable from the mains socket when the device is not in use.
- Do not under any circumstances use the device if you detect damages on the mains plug or power cable.
If the power cable is damaged, it must be replaced by the manufacturer, its service agent or similarly qualified persons in order to avoid a hazard.
Defective power cables pose a serious health risk! - During the installation of the device observe the minimum distances from walls and other objects as well as the storage and operating conditions specified in the Technical data chapter.
- The limit values for leakage current and residual current stated in the standard DIN VDE 701-702:2008 are exceeded by the heating panels of the TIH and TIH+ series. According to DIN VDE 701-702 chapter 5, table 2, as well as annex D exceptions are possible in justified cases. The increased measured values are not the result of any safety-relevant reasons. Therefore, a limit value of 4.5 mA is permissible for residual and leakage currents contrary to the values stated in DIN VDE 701-702:2008.
- Never drill into the heating panel.
- Do not use the device in immediate proximity to curtains, beds or sofas.
- Do not place the device on combustible ground.
- Do not transport the device during operation.
- Only use original spare parts, for otherwise safe and functional operation cannot be ensured.
- Allow the device to cool down before transport and/or maintenance work.
- Do not use this device near bathtubs, shower trays, swimming pools or other water containers. Risk of electric shock!
Intended use
Use the device TIH 350+ / TIH 650+ for heating walls to assist the drying process as part of water damage restoration.
Only use the device in interior spaces.
Foreseeable misuse
- Do not place any objects, e.g. clothing, on the device.
- Do not use the device for heating in vehicles.
- Do not use the device for heating rooms.
- Do not use the device out of doors.
- Do not use this device in the vicinity of fuel, solvents, varnishes or other easily inflammable vapours or in rooms where these substances are stored.
- The device may not be used as a heating device for babies / children or animals.
- The device may not be installed inside a shower or directly above a bathtub.
- The device must not be used near swimming pools.
- Do not use this device in the immediate vicinity of sinks, bathtubs or other water containers. Never immerse the device in water.
- Any use other than the intended use is regarded as a reasonably foreseeable misuse.
Any unauthorised changes, modifications or alterations to the device are forbidden.
Personnel qualifications
People who use this device must:
- be aware of the dangers that occur when working with electric devices in damp areas.
- have read and understood the operating manual, especially the Safety chapter.
Maintenance tasks which require the housing to be opened must only be carried out by specialist electrical companies or by Trotec.
Symbols on the device
Residual risks
- Warning of electrical voltage
Work on the electrical components must only be carried out by an authorised specialist company! - Warning of electrical voltage
Before any work on the device, remove the mains plug from the mains socket!
Do not touch the mains plug with wet or damp hands. Hold onto the mains plug while pulling the power cable out of the mains socket. - Warning of hot surface
Some parts of this product can become very hot and cause burns. Particular attention has to be given where children and vulnerable people are present! - Warning of hot surface
The surface of the device warms up during operation. Do not touch the device surface during operation and observe the minimum distance! - Warning
Dangers can occur at the device when it is used by untrained people in an unprofessional or improper way!Observe the personnel qualifications! - Warning
The device is not a toy and does not belong in the hands of children. - Warning
Risk of suffocation!
Do not leave the packaging lying around. Children may use it as a dangerous toy. - Warning
Risk of injury due to infrared radiation!
Do not stay in the device’s immediate vicinity for too long. Do not look directly into the device for too long. Observe the minimum distances. - Warning
Improper installation entails a risk of fire.
Do not place the device on combustible ground.
Do not place the device on high-pile carpets. - Warning
In order to avoid overheating and fire hazards, the device must not be covered!
Behaviour in the event of an emergency
- In an emergency, disconnect the device from the mains feed-in: Hold onto the mains plug while pulling the power cable out of the mains socket.
- Do not reconnect a defective device to the mains.
Overheating protection
The device is provided with a safety thermostat which is activated by overheating of the device (when exceeding the operating temperature).
Once the safety thermostat has switched itself on, the device will be turned off.
When the device has cooled down sufficiently, the heating will be switched back on.
If the safety thermostat does not switch in the event of overheating, the overheating protection will be tripped. In that case the device switches off completely. If so, please contact the customer service to have the overheating protection replaced.
Information about the device
Device description
The device serves for drying selective water damages on walls. For damages located above floor level up to two further devices may be mounted on top of the first panel using the set of stacking handles TIH 350+/650+ from the available accessories.
To irradiate higher wall surfaces, you can use the set of assembly support fastening clamps and the assembly supports connection set 350+ or 650+ from the available accessories as well as suitable assembly supports.
The device is fitted with a MID-certified energy consumption meter and thus qualified for billing purposes. The meter indicates the energy consumed so far. It cannot be reset. An LED indicates that the panel is switched on and the energy meter captures the energy consumption.
In accordance with calibration regulations, restoration companies are so-called “meter users” or “users of measurement readings”, which binds them to observe the German Weights and Measures Act (MessEG). The MessEG regulates the recording and transfer of measurement readings based on which the power consumption costs of the devices shall be determined.
Radiation
The wavelength of the thermal radiation produced by the devices TIH 350+ / TIH 650+ lies within the IR-C range. The wavelength depends on the respective surface temperature of the heating panel and thus on the ambient temperature in the room where the heating panel is set up. At 75 °C = 8.3 μm,
at 85 °C = 8.1 μm, at 95 °C = 7.9 μm (according to Wien’s displacement law). Thanks to such mild IR-C radiation, there is no risk of eye damage.
What is infrared radiation?
Infrared radiation is a natural type of radiation and for instance part of solar radiation. It is heat radiation, regardless of how this heat is generated. Every object whose temperature lies above the absolute zero (-273 °C) emits energy in the form of electromagnetic radiation.
The wavelength of the infrared radiation is determined by the temperature of the radiating object. If infrared rays hit the surfaces of other objects, the stored energy is released in the form of heat. The heat transfer takes place through conductivity, convection or radiation. In any case, the decisive factor is the temperature difference.

| No. | Designation |
| 1 | foot |
| 2 | energy consumption meter |
| 3 | electric control box |
| 4 | power cable with plug |
| 5 | radiating side |
Transport and storage
Note
If you store or transport the device improperly, the device may be damaged.
Note the information regarding transport and storage of the device.
Transport
Before transporting the device, observe the following:
- Hold onto the mains plug while pulling the power cable out of the mains socket.
- Do not use the power cable to drag the device.
- Allow the device to cool down sufficiently.
Storage
Before storing the device, observe the following:
- Hold onto the mains plug while pulling the power cable out of the mains socket.
- Allow the device to cool down sufficiently.
When the device is not being used, observe the following storage conditions: - dry and protected from frost and heat
- in an upright position where it is protected from dust and direct sunlight
- with a cover to protect it from invasive dust, if necessary
- Place no further devices or objects on top of the device to prevent it from being damaged.
Assembly and installation
Scope of delivery
- 1 x Device
- 1 x Manual
- 2 x Foot
Unpacking the device
- Open the cardboard box and take the device out.
- Completely remove the packaging.
- Fully unwind the power cable. Make sure that the power cable is not damaged and that you do not damage it during unwinding.
Assembly
Upon delivery the device TIH 350+ / TIH 650+ is already partially preassembled. The feet still need to be mounted.
Mounting the feet
Info
The assembly of the feet is identical for both devices TIH 350+ and TIH 650+.
Please proceed as follows to assemble the feet at the device:
- Detach the feet from the heating panels.

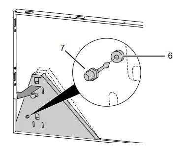
ð Fold the feet outwards and away from the device. Make sure that the bolt of each foot (7) disengages from the locking device (6). - Position the device either upright or horizontally as desired.
- Attach the feet to the respectively correct side of the device.

- Make sure that the feet’s connection bars fit properly into the openings at the device

- Check that the spring bolt (8) securely locks into place

Stacking devices (optional)
The device can only be stacked using the set of stacking handles from the available accessories. To do so, please observe the information supplied with the stacking handles. TIH 350+ and TIH 650+ can be combined in any desired stacking order. 
Caution
Risk of injury! Ensure the secure footing and stable positioning of the stacked installation. Provide additional safety measures if required.
Assembly for irradiating higher wall surfaces (optional)
The devices can only be properly mounted for irradiating higher wall surfaces by use of the fastening clamps and the assembly supports connection set from the available accessories. Suitable assembly supports are also required. 
Positioning
A number of spatial and technical conditions have to be considered for the selection of the device’s installation site. Non-observance may impair the proper functioning of the device or the accessories or can entail risks of personal injury and property damage.
- Set the device up in an upright and stable position.
- Make sure that there are no curtains or similar objects in the immediate vicinity.
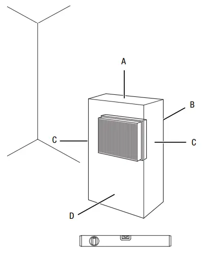
- Set the radiator up in a way that the radiating side (5), i.e. the dark side, points towards the surface to be dried. If the feet touch the wall, the distance between panel and wall is optimal.
Do not install the device directly in front of a wall socket. The socket should be located next to the device. - When using more than 3 infrared panels, please use separate circuits.
- The devices can be installed both upright and horizontally.

- Always set the infrared heating panel up in a way that the dark, radiating side (5) faces a wall. The distance to the wall may amount to maximally 20 cm.
- Observe any regulations applicable for the installation site during the set-up of the infrared heating panel.
Start-up
When positioning the device, observe the minimum distance from walls or other objects as described in the chapter Technical annex. 
- Before restarting the device, check the condition of the power cable. If there are doubts as to the sound condition, contact the customer service.
- Set the device up in an upright and stable position.
- Do not create tripping hazards when laying the power cable or other electric cables, especially when positioning the device in the middle of the room. Use cable bridges.
- Make sure that extension cables are completely unrolled.
- Make sure that there are no curtains or similar objects in the immediate vicinity.
Connecting the power cable
Insert the mains plug into a properly fused mains socket.
Operation
Avoid open doors and windows.
Energy consumption meter
The MID-certified energy consumption meter flashes once with every watt consumed.
| No. | Designation |
| 9 | Indication of the energy consumption |
Switching the device on
Once you have completely installed or positioned the device as described in the chapters Start-up and Positioning, you can switch it on:
- Plug the mains plug into a sufficiently fused mains socket.
- The energy consumption meter (2) lights up.
Shutdown
Warning of electrical voltage
Do not touch the mains plug with wet or damp hands.
- Hold onto the mains plug while pulling the power cable out of the mains socket.
- The energy consumption meter (2) goes out.
- Allow the device to cool down completely.
- Clean the device according to the Maintenance chapter.
- Store the device according to the Storage chapter.
Available accessories
Warning
Only use accessories and additional equipment specified in the operating manual.
Using insertion tools or accessories other than those specified in the operating manual may cause a risk of injury.
| Accessories | Article number |
| Set of stacking handles TIH 350+/650+ | 1.410.003.009 |
| Assembly supports connection set 350+ | 1.410.003.007 |
| Assembly supports connection set 650+ | 1.410.003.003 |
| Set of assembly support fastening clamps | 1.410.003.004 |
| Transport bag TIH 650+ | 1.410.003.005 |
| Socket thermostat BN30 | 6.100.007.009 |
| Socket thermostat BN35 for TIH+ | 6.100.007.008 |
Errors and faults
Warning of electrical voltage
Tasks which require the device to be opened must only be carried out by authorised specialist companies or by Trotec.
The device has been checked for proper functioning several times during production. If malfunctions occur nonetheless, check the device according to the following list.
The device does not start:
- Check the power connection.
- Check the power cable and mains plug for damages.
- Check the on-site fusing.
The surface of the device bulges outward:
• The material expands due to heating. This is a perfectly normal process. No measures are required.
The surface of the device only heats up slightly:
- The mains voltage does not meet the requirements. Check the mains voltage.
- The ambient temperature is low. This is a perfectly normal process. No measures are required.
Maintenance
Activities required before starting maintenance
Warning of electrical voltage
Do not touch the mains plug with wet or damp hands.
• Switch the device off.
• Hold onto the mains plug while pulling the power cable out of the mains socket.
• Allow the device to cool down completely.
Warning of electrical voltage
Tasks which require the device to be opened must only be carried out by authorised specialist companies or by Trotec.
Cleaning the device
Warning of electrical voltage
Never immerse the device in water! Clean the device with a soft, damp and lint-free cloth. Ensure that no moisture enters the housing. Protect electrical components from moisture. Do not use any aggressive cleaning agents such as cleaning sprays, solvents, alcohol-based or abrasive cleaners to dampen the cloth.
Wipe the housing dry after cleaning.
Technical annex
Technical data
| Parameter | Value | |
| Model | TIH 350+ | TIH 650+ |
| Article number | 1.410.003.022 | 1.410.003.030 |
| Heating capacity at 20 °C1 | 350 W | 650 W |
| Mains connection | 230 V / 50 Hz | 230 V / 50 Hz |
| Operating range | -20 °C to 55 °C | -20 °C to 55 °C |
| Max. power input | 440 W | 820 W |
| Nominal consumption at 20 °C1 | 0.3 kWh | 0.5 kWh |
| Cable length | 2 m | 2 m |
| Effective range | 0.46 m2 | 0.85 m2 |
| Surface temperature | 85 °C | 85 °C |
| Type of protection | IP 44 | IP 44 |
| Weight | 6.5 kg | 10.7 kg |
| Dimensions (width x height2 x depth2) | 1370 x 367 x 36 mm | 1370 x 625 x 36 mm |
| Minimum distance to walls and other objects: A: top B: rear C: side D: front |
6 cm 6 cm 6 cm 6 cm |
6 cm 6 cm 6 cm 6 cm |
- The indicated temperature refers to temperature at the heating element.
- without feet
Note
The limit values for leakage current and residual current stated in the standard DIN VDE 701-702:2008 are exceeded by the heating panels of the TIH and TIH+ series.
According to DIN VDE 701-702 chapter 5, table 2, as well as annex D exceptions are possible in justified cases. The increased measured values are not the result of any safety-relevant reasons. Therefore, a limit value of 4.5 mA is permissible for residual and leakage currents contrary to the values stated in DIN VDE 701-702:2008.
Performance of the TIH 350+ depending on the heating film temperature 
Performance of the TIH 650+ depending on the heating film temperature 
| Parameter | Value |
| (W) | Device performance given in watts |
| (°C) | Heating film temperature in °C |
| (1) | Average |
| (2) | Minimum |
| (3) | Maximum |
Disposal
The icon with the crossed-out waste bin on waste electrical or electronic equipment stipulates that this equipment must not be disposed of with the household waste at the end of its life. You will find collection points for free return of waste electrical and electronic equipment in your vicinity. The addresses can be obtained from your municipality or local administration. You can also find out about other return options that apply for many EU countries on the website https://hub.trotec.com/?id=45090. Otherwise, please contact an official recycling centre for electronic and electrical equipment authorised for your country.
The separate collection of waste electrical and electronic equipment aims to enable the re-use, recycling and other forms of recovery of waste equipment as well as to prevent negative effects for the environment and human health caused by the disposal of hazardous substances potentially contained in the equipment.
Trotec GmbH
Grebbener Str. 7
D- 52525 Heinsberg
+ 49 2452 962-400
+ 49 2452 962-200
[email protected]
www.trotec.com























