TSA8050 Floor-Wall Radiant Heater
Owner’s Manual
TSA8050 Floor-Wall Radiant Heater

Thank you for purchasing the TEESA appliance. Please read this operation instruction carefully before use, and keep it for future reference.
The producer does not take responsibility for damages caused by inappropriate handling and use of the product.
SAFETY INSTRUCTIONS
In order to reduce injuries or damages, follow basic safety precautions applied when using any electrical device, including the following:
- Read the entire instruction manual before you start installation and assembly and keep it for future reference. Keep the manual for future reference.
- Do not use the product for purposes different from those displayed in this operating manual.
- Before connecting the device to the power supply socket, make sure the voltage indicated on the device corresponds to the voltage in the power supply socket.
- ALWAYS turn off the device and disconnect it from the mains supply:
◦ if it’s not operating correctly
◦ if there’s an uncommon sound when using
◦ before cleaning
◦ when not in use - Caution: during the first use, the device may emit an odor from the heating element, and isolation is normal.
- During first use after a long time of storing the device, it may emit various sounds- this is normal and will stop after a while.
- When you disconnect the power cord of the device, grasp and pull the plug, not the cord/cable.
- Place the device on a flat, stable, and heat-resistant surface. The device can be used while it is placed vertically. Do not leave the device unattended while working.
- If the device will be mounted on a wall, make sure that it will not fall off or detach. Use proper screws/bolts.
- Before mounting, make sure, that the device is disconnected from the power supply.
- Protection class IPX4 means that the device is resistant to light splashes of water. Do not use the device if there is a risk of getting it fully wet.
- Keep the device and its cord/cable away from heat, water, moisture, sharp edges, and any other factor which may damage the appliance or its cord.
- Do not change the angle of the device while it is working.
- Do not place the device near flammable, explosive substances and near a working environment involving lacquers and glues.
- Do not cover or block vents (overheating risk). Make sure, that there are no obstacles within 1-meter distance from the device. Do not place the device directly next to the walls, furniture, curtains, etc. Position the device in a properly ventilated place.
- The heater is not intended for drying clothes.
- After turning off the device, make sure that it cools down.
- Do not use the device in rooms with less than 5 m2 of area.
- Do not use this device in dusty places.
- Store the device in a dry, cool, and dust-free place. Before storing, make sure, that the device has cooled off.
- Protect the device from being dropped.
- Keep the device out of the reach of children. Do not leave children unsupervised with the product.
- This appliance may be used by children who are above 8 years old and by persons with reduced physical, sensory or mental capabilities, or lack of experience and knowledge, if they are supervised and guided by a person who is responsible for their safety in a cautious manner for all the safety precautions being understood and followed. Children should be supervised to ensure that they do not play with the appliance. Children should not perform cleaning and servicing of the device unsupervised.
- Important! The case of device will increase its temperature while working. To avoid burns and damage, do not touch hot surfaces! While the device is working, make sure that children and animals stay away from it.
- Do not place the power cable under the device or near the ventilation slots.
- ALWAYS disconnect the product from the power mains when it is not in use.
- DO NOT use this device if the cord or the plug is damaged, or the appliance is broken.
- Do not attempt to repair this device yourself. Only authorized and qualified personnel may repair this device. Never disassemble this device.
- Fixed power cables may only be replaced at an authorized service point.
- Clean this device in accordance with the instructions listed in the Cleaning paragraph. Keep the heater clean. Make sure that there are no objects inside the ventilation holes. Otherwise, this may pose a fire hazard or device damage.
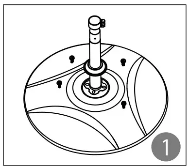
MOUNTING
On the stand
- Put the bottom part into the base. Screw four M6 screws.
- Put the middle part into the bottom part. Screw three M5 screws.
- Put the upper part into the middle part. Screw three M5 screws.
- Put the heating element into the upper part. Screw the heating element into the upper part of the stand (screw hole is placed in the back of the heating element).
- To adjust the angle of the heating element, slightly unscrew the screw and adjust the angle.
Screw in the screw.

On a wall
The heating element has to be mounted on a solid and flat wall.
- Screw out the mounting bracket from the heating element.
- Put the mounting bracket on the wall and mark the places for drilling.
- Drill the holes and screw in the proper screws or bolts (do not screw them all the way).
- Screw in the mounting bracket to the heating element.
- Put the heating element with the mounting bracket into the screws/bolts.

OPERATION
- Connect the power cable to the power supply.
- Pull the string to turn on the device. Pull the string again to change the heating mode. The device will cycle through every mode until turning off.
CLEANING
- Clean the device regularly with soft, slightly damp cloth without any abrasive agents.
- Before cleaning, disconnect the device from the power supply and wait for it to cool down.
- After cleaning, wait until the device is fully dry.
SPECIFICATION
- 3 heating modes:
◦ 650 W
◦ 1300 W
◦ 2000 W - Fast heat-up
- Mounting on a stand or wall
- For outdoor use only
- Tip-over switch
- Heating element: quartz tubes
- Protection class: IPX4
- Angle adjustment: 45°
- Stand height adjustment: 1,3 – 2,1 m
- Stand diameter: 50 cm
- Heating element dimensions: 41 x 1 x 1 cm
- Heating element weight: 0,14 kg
- Power cord length: 180 cm
- Power supply: 230 V / 50 Hz
Correct Disposal of This Product
(Waste Electrical & Electronic Equipment)
(Applicable in the European Union and other European countries with separate collection systems) This marking shown on the product or its literature indicates that it should not be disposed of with other household wastes at the end of its working life. To prevent possible harm to the environment or human health from uncontrolled waste disposal, please separate this from other types of waste and recycle it responsibly to promote the sustainable reuse of material resources. Household users should contact either the retailer where they purchased this product, or their local government office, for details of where and how they can take this item for environmentally safe recycling. Business users should contact their suppliers and check the terms and conditions of the purchase contract. This product should not be mixed with other commercial wastes for disposal.
Made in China for LECHPOL ELECTRONICS
www.teesa.pl





















