Wireless Bell Push
RPWL100A
User Manual
![]() | ![]() |
This is a legacy product document supported by Resideo. It is no longer manufactured
Wireless Push
Thank you for choosing this product. Please use the following instructions to ensure correct installation and use. Keep these instructions in a safe place for future reference.
Package contains…
- Bell push
- 23A 12V battery for bell push
- 2 Mounting screws
- 2 Wall anchors
- Adhesive pad
You will need:
- Small flat-bladed screwdriver
- Small cross-head screwdriver
Safety…
Always follow the manufacturer’s advice when using power tools and wear suitable protective equipment (e.g. safety goggles) when drilling holes.
Installation Guide…
- Open bell push.
Carefully insert a small flathead screwdriver into the slot (A) and twist gently. Lift away the front of the bell and push to reveal the inside.
- Set the bell push channel
Using a flat blade screwdriver, set rotary switch (B) to the same setting as the chime that you want to operate with this push.
- Select a tune
Switch (C), in the bell push, selects the chime tune:
1. Westminster
2. Ding Dong (manufacturer’s setting)
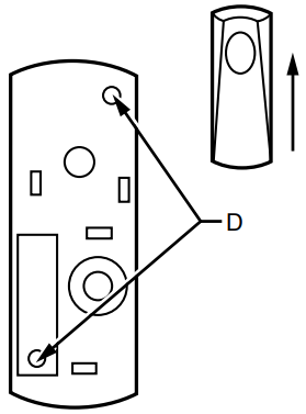
3. Ding - Mount the bell push
Mount the bell push using the adhesive pad or by using the two screws, as follows:
A. Hold the bell and push up against the door frame or wall where you want to mount it. (Ensure the push button is at the top).
B. Make a mark on the wall where the two screw holes will be.
C. Take away the bell push base and drill two holes large enough to accommodate the wall anchors if necessary.
D. Screw the bell and push to the wall through the mounting points (D).
E. Insert the 23A 12V battery (included).
F. Refit the cover, locating the top catch first.

Troubleshooting…
Chime doesn’t sound when the bell push is pushed
- Check that the batteries have enough charge and are installed the right way. Note the + and – symbols molded into the back of the battery compartment.
- If the chime sound becomes faint or distorted, you should replace the batteries. Use LR14(C) alkaline batteries only.
- Check that the bell push channel switch and the chime channel switch are in the same position. See Set Up.
- Check that the distance between the bell push or the chime is not too great* (see chime user manual).
Chime sounds without being pushed - Check that there is no water in the bell push or the chime.
This can damage the electronics. - Check that a neighbor is not using the same channel for their chime or a similar wireless system. See Set Up.
*The stated transmission range if this product is measured in open field conditions. Walls, ceilings, and metal structures (i.e. reinforced uPVC) will reduce the maximum range.
Disposal and Recycling…
Batteries and waste electrical products should not be disposed of with household waste. Please recycle where these facilities exist.
Check with your local authority or retailer for recycling advice.
Guarantee…
Honeywell guarantees this product for 1 year from the date of purchase. Proof of purchase is required; this does not affect your statutory rights. If you require further information about your product, call the Honeywell helpline at 1-800-468-1502.
Declaration…
Honeywell hereby declares that this product complies with Part 15 of the FCC rules and Industrial Canada standards. This device operation is subject to the following two conditions: (1) This device may not cause harmful interference, and (2) This device must accept any interference received, including interference that may cause undesired operation.
Caution: Changes or modifications not expressly approved by the party responsible for regulatory compliance could void the user’s authority to operate the equipment.

Design reg. UK3015344;
EU 180823,176672;
China ZL200430006524.9
Federal
Communications
Commission
Operating frequency: 345 MHz;
FCC and IC certified
http://yourhome.honeywell.com
1-800-468-1502
1-Year Limited Warranty
Model
RPWL100A1009
69-2136EFS
©2007 Honeywell International IncAll Rights Reserved.
Golden Valley, MN 55422 U.S.A.
Engineered by Honeywell
Made in China






















