Honeywell RCWL300A Premium Portable Wireless Chime and Push Instruction Manual
RCWL300A
Thank you for choosing this Honeywell product. Please use the following instructions to ensure correct installation and use. Keep these notes in a safe place for future reference.
Checking Pack Contents
Unpack your chime kit and identify the following parts:
| You will need:
|
Safety
Before proceeding with the installation, please note the following safety warnings:
- Always follow the manufacturer’s advice when using power tools and wear suitable protective equipment (e.g. safety goggles) when drilling holes, etc.
- Before drilling holes in walls, check for hidden electricity cables and water pipes. The use of a cable/pipe locator is advisable if in doubt.
Quick Start
The bell push supplied with this kit is pre-programmed to operate with the chime. You need to do the following to get started:
- Open the bell push
- Fit the push battery
- Fit the chime batteries
- Check the volume setting
When you operate the bell push, the chime will sound and the 1st Icon will flash. If you have additional pushes or you want to assign a different icon to your push, you will need to follow the programming procedure
Open the Bell Push
Insert a flat bladed screwdriver into the slot A at the base of the push. Carefully lever the cover and base apart (Fig. 1).

M27199
Fig. 1
Fit the Push Battery
Insert the CR2032 coin cell. Ensure the face marked ‘+’ is uppermost (Fig. 2).

M27153
Fig. 2
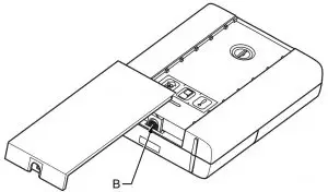
Fit the Chime Batteries
To remove the chime battery cover, press at point B and slide the cover back 1/4 in. (5 mm), then lift off. Insert 3 x LR6 ‘AA’ alkaline batteries (not supplied). Observe polarity as marked inside the battery compartment.

M27200
Fig. 3
Sliding Window
Release the catch (B) and slide open the window.

M27201
Fig. 4
Volume Control
The volume control is behind the sliding window on the front of the chime. Initially, set the control to mid-point. After you have tested your system, adjust to the desired volume.

M27202
Use of Icons
In addition to the chime sounds, your chime has a visual indication to show which device has activated it. An icon will illuminate when the chime is activated by a bell push or another compatible device. The chime supports 3 icons.
MAINDOOR
BACK DOOR![]()
ALERT SYMBOL
The ‘Main door’ and ‘Back door’ icons are usually used for bell pushes. The other icon is intended for use with other compatible devices, such as PIR movement detectors and Telephone ring detector. Icons numbered 1 to 3 are also included. The Icons are self-adhesive, supplied in strips of 3. They can be changed, if required, by opening the sliding window of the chime and gently peeling off the strips. If desired, the strips can be cut into individual icons and attached to the chime ina different order.
Use the Programming procedure to change
the icon associated with a push.

Programming Procedure
| Learn Procedure To enable your chime to learn the identity of your bell push:
| Unlearn Procedure If you want to remove a push from the chime’s memory:
|
Changing the Tune
Operate the push. While the Icon is flashing, press the
button.
Press the
button again and the tune will change. Repeat until the tune you want plays.
Recall Function
A short push of the
button will flash the Icon that was last in use.
Chime Sounds
To hear the chime sounds without operating the bell push, press the
button. Press the button again and the tune will change.
Mount the Push
Mount using either the double-sided adhesive pad or the screws provided. (See Fig. 6 )
Test your push before mounting. Avoid mounting to metal structures.

M27155
Fig. 6
Chime Position
The Chime can be free standing or wall mounted using the wall mounting bracket provided. If wall mounting is preferred, screw the bracket to the wall (see Fig7). The Chime hooks onto the wall bracket as illustrated.

M27203
Fig. 7
Troubleshooting
A ‘beep’ sound is heard in learn mode…
- The push you are programming has already been learned by the chime.
- If you want to change the Icon associated with the push, use the un-learn
procedure, then program the push again.
Two ‘beep’ sounds are heard after the normal chime sound…
- This indicates a low battery in the bell push that activated the chime. Fit a new battery, type CR2032.
When the bell push is operated, the amber confidence light does not turn on, or is only on for a short time…
- In normal operation, the amber light will turn on for 1 second. When the battery is weak, the light will only turn on for a short time. Fit a new battery, type CR2032.
The chime does not work…
- Check that the batteries are the correct type, LR6 ‘AA’ cells. Only use alkaline batteries.
- Check that the batteries are fitted correctly, with correct polarity.
- The chime could be out of range of the bell push. Try the chime in a different location.
- The chime might not have learned the identity of the bell push. Follow the programming procedure.
The chime does not sound…
- Check that the volume control is not at the minimum setting.
Range is reduced…
- Metal structures, including uPVC door frames can reduce the range of the product. Avoid mounting the push or chime on or near metal structures.
- Other equipment can cause radio interference that affects your chime.
- Walls and ceilings will reduce the range.
- Weak batteries will reduce range. Replace every 12–18 months. In cold conditions (below 41ºF [5ºC]), batteries may need to be replaced more often.
Amber light flashes…
- When the chime battery is low, an amber light will flash every 5 seconds. Fit new batteries in the chime, type LR6 ‘AA’ cells. Only use alkaline batteries.
Specifications
Specification | Chime | Bell push |
Operating Temperature | 32°F to 104°F 0ºC to 40ºC | 14°F to 104°F |
RF Frequency US/Canada | 916.8 MHz | 916.8 MHz |
| Range (open field) | 225 ft. (69 m) | See Chime |
Sound Level (typical) | 80dBA @ 3 ft. (1m) | – |
| RF Power | – | <1mW |
Battery Type | LR6 | CR2032 |
| Battery Life (5 activations/day) | 12 months | 18 months |
| Rain proof | N/A | Pass UL1598 rain test. |
Disposal & Recycling
Batteries and waste electrical products should not be disposed of with household waste. Please recycle where these facilities exist. Check with your local authority or retailer for recycling advice.
Declaration
Honeywell hereby declares that this product complies with Part 15 of the FCC rules and Industrial Canada standards.
This device operation is subject to the following two conditions:
- This device may not cause harmful interference, and
- This device must accept any interference received, including interference that may cause undesired operation.
Caution:
Changes or modification not expressly approved by the party responsible for regulatory compliance could void the user’s authority to operate the equipment.
Guarantee
Honeywell guarantees this product for 1 year from the date of purchase. Proof of purchase is required: this does not affect your statutory rights. If you require further information about your product call the Honeywell help line at 1-800-468-1502.

Honeywell International Inc.
ACS, Environmental and Combustion Controls
1985 Douglas Drive, Golden Valley, MN 55422
www.honeywell.com
Printed in U.S.A. on recycled
paper containing at least 10%
post-consumer paper fibers.

















