
This is a legacy product document
supported by Resideo. It is no
longer manufactured
Portable Wireless Chime & Push
![]()
Portable Wireless Chime & Push RCWL100A
Please retain these instructions for future reference.
Pack Contents
- Bell Push
- 75 ft. door chime
- 3 screws, wall anchors, adhesive pad
- 23A 12V Alkaline battery for the push
Safety
Always follow the manufacturer’s advice when using power tools and wear suitable protective equipment (e.g. safety goggles) when drilling holes.
You Will Require
- Small flat blade screwdriver
- Small cross-head screwdriver
- 2 LR14(C) Alkaline batteries for the chime (not included)
Set Up The Bell Push
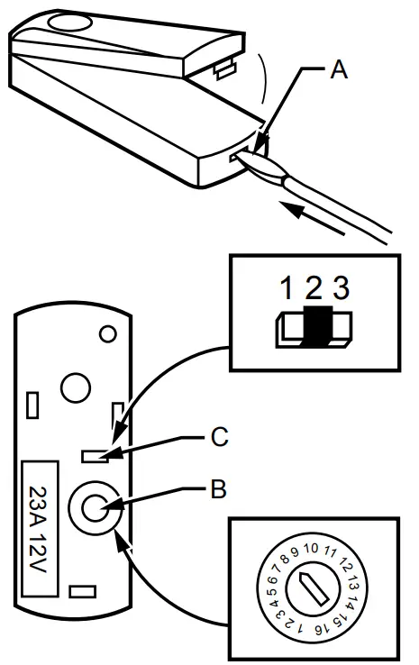
- Open the bell push unit.
Carefully insert a small flathead screwdriver into slot A and twist gently. Lift away the front of the bell and push to reveal the inside. - Set the bell push channel.
It is possible that your chime may be set off by a nearby wireless device. This could be a neighbor’s bell push, for example. To prevent this interference, you may need to change to another “channel”. Using a flat blade screwdriver, set rotary switch B to another position, 1 to 16. Make a note of the channel setting. Your chime will need to have its switch set to the same position – see “Set Up The Chime”.
- Select a tune.
Switch C, in the bell push, selects the chime tune:
1=Westminster
2=Ding Dong (manufacturer’s setting)
3=Ding
Mounting The Bell Push
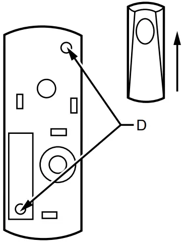
Mount the bell push using the adhesive pad or by using the two screws, as follows:
- Hold the bell push up against the door frame or wall where you want to mount it. (Ensure the push button is at the top).
- Make a mark on the wall where the two screw holes will be.
- Take away the bell push base and drill two holes, large enough to accommodate the wall plugs if necessary.
- Screw the bell and push to the wall through the mounting points D.
- Insert the 12V 23A battery (included).
- Refit the cover, locating the top catch first.

Set Up The Chime
- Set the chime channel. Set rotary switch E on the chime to position 1 to 16, as with the bell push. The channel set on the chime must match the channel already set on the ell push-in “Set Up The Bell Push”.
- Install the chime batteries. Remove the cover on the rear of the chime and insert the alkaline batteries, LR14(C), in the direction shown in the molding in the back of the battery compartment. Note that this door chime does not work with rechargeable Ni-Cd batteries.

Test Your Door Chime
Test your wire-free door chime at the desired location before you mount the chime on the wall.
- Press the bell push.
- The chime should sound.
Check the Troubleshooting section if the chime does not sound.
Wall Mounting
The chime is designed to be free-standing or wall-mounted, using a single screw (included).
- Drill a hole in the wall where you want to hang the chime. If you are mounting to a masonry wall, use the wall anchor supplied.
- Insert the wall anchor into the hole (if necessary), then screw in leaving the heads sticking out 6 mm from the surface.
- Hang the chime so that the screw heads sit in the hole in the back (F), then press gently downwards so that it cannot slide off the screw head.
Troubleshooting
Chime doesn’t sound when the bell push is pushed
- Check that the batteries have enough charge and are installed the right way. Note the + and – symbols molded into the back of the battery compartment.
- If the chime sound becomes faint or distorted, you should replace the batteries. Use LR14(C) alkaline batteries only.
- Check that the bell push channel switch and the chime channel switch are in the same position. See Set Up.
- Check that the distance between the bell push or the chime is not too great* (see the front of the pack).
Chime sounds without being pushed - Check that there is no water in the bell push or the chime. This can damage the electronics.
- Check that a neighbor is not using the same channel for their chime or a similar wireless system. See Set Up.
*The stated transmission range if this product is measured in open field conditions. Walls, ceilings, and metal structures (i.e. reinforced uPVC) will reduce the maximum range.
Disposal and Recycling
Batteries and waste electrical products should not be disposed of with household waste. Please recycle where these facilities exist. Check with your local authority or retailer for recycling advice.
Guarantee
Honeywell guarantees this product for 1 year from the date of purchase. Proof of purchase is required; this does not affect your statutory rights. If you require further information about your product, call the Honeywell helpline at 1-800-468-1502.
Declaration
Honeywell hereby declares that this product complies with Part 15 of the FCC rules and Industrial Canada standards. This device operation is subject to the following two conditions: (1) This device may not cause harmful interference, and (2) This device must accept any interference received, including interference that may cause undesired operation.
Caution: Changes or modifications not expressly approved by the party responsible for regulatory compliance could void the user’s authority to operate the equipment.
Design reg. UK3015090,3015344; EU 180823,176672;
China ZL200430006524.9, ZL200430050301.2
Federal Communications Commission
Operating frequency: 345 MHz;
FCC and IC certified ©2007 Honeywell International Inc.
All Rights Reserved.
Golden Valley, MN 55422 U.S.A.
Engineered by Honeywell – Made in China
http://yourhome.honeywell.com
1-800-468-1502
1-Year Limited Warranty
Proof of Purchase/Preuve d’achat/
Comprobante de compra
Model/Modèle/Modelo RCWL100A1008
69-2114EFS




















