Installation Instructions
Premium Portable Plus Wirefree Chime with Push Thank you for choosing this Honeywell product. Please use the following instruc-tions to ensure correct installation and use. Keep these notes in a safe place for future reference.
Checking Pack Contents
Unpack your chime kit and identify the following parts:
- Chime
- Chime bracket
- Bell push
- CR2032 battery for bell push
- 4 self-adhesive icons strips (2 pre-fitted on chime)
- 2 screws for push
- 2 screws for chime wall bracket
- 2 wall plugs
- Adhesive pad
You will need:
- A Phillips-head screwdriver
- A small flat-bladed screwdriver
- A 1/4-in. (6 mm) masonry drill
- 4 LR14 “C” alkaline batteries
Safety
Before proceeding with the installation, please note the following safety warnings:
- Always follow the manufacturer’s advice when using power tools and wear suitable protective equipment (e.g. safety goggles) when drilling holes, etc.
- Before drilling holes in walls, check for hidden electricity cables and water pipes. The use of a cable/pipe locator is advisable if in doubt.
Quick Start
The bell push supplied with this kit is pre-programmed to operate with the chime. You need to do the following to get started:
- Open the bell push
- Install the push battery
- Install the chime batteries
- Check the chime switch setting
- Check the volume setting
When you operate the bell push, the chime will sound and the first icon will flash. If you have additional pushes or you want to assign a different icon to your push, you will need to follow the programming procedure.
Open the Bell Push
Insert a flat-bladed screwdriver into the slot A, at the base of the push. Carefully lever the cover and base apart (Fig. 1).
Install the Bell Push Battery
Insert the CR2032 coin cell. Ensure the face marked “+” is facing up (Fig. 2).
Install the Chime Batteries
To remove the chime battery cover, press at point C and slide the cover back, then lift off. Insert 4 LR14 “C” alkaline batteries (not supplied). Observe polarity as marked inside the battery compartment (Fig. 3).
Switch Positions Mute with flash on
To keep the flash on and turn the sound off, set switch (D) to posi-tion 1.
Flash off with sound on
To turn the blue flashing light off, set switch (D) to position 3.
Normal operation
For normal operation (sound and flashing light on), set switch (D) to position 2.
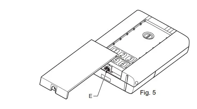
Sliding Window
Release the catch (E) and slide open the window.
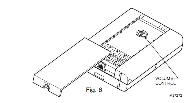
Volume Control
The volume control is behind the sliding window on the front of the chime. Initially, set the control to mid-point. After you have tested your system, adjust to the desired volume.
Use of Icons
In addition to the chime sounds, your chime has a visual indication to show which device has activated it. An icon will illuminate when the chime is activated by a bell push or another compatible device. The chime supports six icons:
Use of Icons
The “Main door” and “Back door” icons are usually used for bell pushes. The other icons are intended for use with other compatible devices, such as wireless motion detectors and telephone ring detectors (check availability). Icons numbered 1 to 6 are also included. The icons are self-adhesive, supplied in strips of 3. They can be changed, if required, by opening the sliding window of the chime and gently peeling off the strips. If desired, the strips can be cut into individual icons and fixed to the chime in a different order.
Use the Programming procedure to change the Icon associated with a push.
Programming Procedure Learn procedure
To enable your chime to learn the identity of your bell push:
- Press the l button and keep it pressed. Each Icon will light in turn. When the Icon you want is lit, release the button.
- While the Icon you have selected is lit, operate your push. The chime will sound. The Icon will flash.
Unlearn procedure
If you want to remove a push from the chime’s memory:
- Press the l button and keep it pressed. Each Icon will light in turn. When the Icon associated with the push to be unlearned is lit, release the button.
- Press and hold both l & until a “beep” sound is heard.
Operate the push. While the Icon is flashing, press the again and the tune will change. Repeat until the tune you want plays. Recall Function A short push of the l button will flash the Icon that was last in use. Chime Sounds To hear the chime sounds without operating the bell push, press the the button again and the tune will change.
Mount the Bell Push
Mount using either the double-sided adhesive pad, or the screws pro-vided (see Fig 7). Test your push before mounting. Avoid mounting to metal structures.
Chime Position
The chime can be free-standing or wall-mounted using the wall bracket provided. If wall mounting is preferred, screw the bracket to the wall (see Fig 8). The chime hooks onto the wall bracket as shown.
Troubleshooting
A “beep” sound is heard in learn mod.
- The push you are programming has already been learned by the chime.
- If you want to change the icon associated with the push, use the un-learn procedure, then program the push again.
- Two “beep” sounds are heard after the normal chime sound…
- This indicates a low battery in the bell push that activated the chime. Install a new battery, type CR2032.
- When the bell push is operated, the amber confidence light does not turn on, or is only on for a short time…
- In normal operation, the amber light will turn on for 1 second. When the battery is weak, the light will only turn on for a short time. Install a new battery, type CR2032.
- Check that the chime batteries are the correct type, LR14 “C” cells. Only use alkaline batteries.
- Check that the batteries are fitted correctly.
- The chime could be out of range of the bell push. Try the chime in a different location.
- The chime might not have learned the identity of the bell push. Follow the programming procedure.
Troubleshooting
The chime does not sound…
- Check the chime switch position.
- Check that the volume control is not at the minimum setting.
- The flashing light does not work…
- Check the chime switch position.
Range is reduced… - Metal structures, including door frames, can reduce the range of the product. Avoid mounting the push or chime on or near metal structures.
- Other equipment can cause radio interference that affects your chime.
- Walls and ceilings will reduce the range.
- Weak batteries will reduce range. Replace every 12–18 months. In cold conditions (below 0ºF), batteries may need to be replaced more often.
- When the chime battery is low, an amber light will flash every 5 seconds. Fit new batteries in the chime, type LR14 “C” cells. Only use alkaline batteries.
Specifications
| Specification | Chime | Bell Push |
| Operating Temperature | 32°F to 104°F 0°C to +40°C | 14°F to 104°F -10°C to +40°C |
| Range (open field) | 450 ft (140 m) | |
| RF Frequency | 916.8MHz | 916.8MHz |
| Sound Level (typical) | 90dBA @ 3 ft (1m) | |
| RF Power | <1mW | |
| Battery Type | LR14 “C” size | CR2032 |
| Battery Life (5 activations/day) | 12 months | 18 months |
| Rain Proof | Pass UL rain test | |
| Power Adaptor | 6V DC (Not included) |
Disposal & Recycling
Batteries and waste electrical products should not be disposed of with household waste. Please recycle where these facilities exist. Check with your local authority or retailer for recycling advice.
Declaration
Honeywell hereby declares that this product complies with Part 15 of the FCC rules and Industrial Canada standards. This device operation is subject to the following two conditions:
- This device may not cause harmful interference, and
- This device must accept any interference received, including interference that may cause undesired operation.
Caution:
Changes or modifications not expressly approved by the party responsible for regulatory compliance could void the user’s authority to operate the equipment.
Guarantee
Honeywell guarantees this product for 1 year from the date of purchase. Proof of purchase is required; this does not affect your statutory rights. If you require further information about your product, call the Honeywell helpline at 1-800-468-1502.


















