Homeit 61.020 Wireless Door Bell

Introduction
Thank you for choosing the wireless doorbell. Please read this instruction carefully before assembling and using the products. Keep your owner’s manual for future reference.
Safety instructions
- Please do not open PCB or repair it without professional guide in order to avoid break down of components.
- Operating range may be affected by environmental factors and nearby interference sources.
- Proper use will prolong life span of wireless doorbell effectively.
- Peplace the batteries when the sound is distorted.
- The batteries should be inserted with the polarity and terminals should not be short-circuited.
Specifications
| Receiver voltage: | 3V |
| Receiver power consumption: | 80mA |
| Sensitivity of receiver: | 75dBu |
| Battery of transmitter: | 3 x LR44 |
| Transmitter power: | 5Mw |
| Working frequency: | 433.92MHz |
| Transmitter power: | 10 dB |
| Working frequency: | 433,2 MHz +/- 200 kHz |
- Wireless, no cabling needed
- Operating range up to 50 meter
- 16 selectable melodies
- Transmitter IP-classIP44
Installation
- Tear up one side of the double-sided adhesive sticker and paste it to the underside of the Transmitter.
- Tear the other side of the double sided adhesive sticker.
- Choose a good place and paste it up, then pressed a little to ensure the transmitter solidly.
- Press”Music mode”button to choose prefer mode.


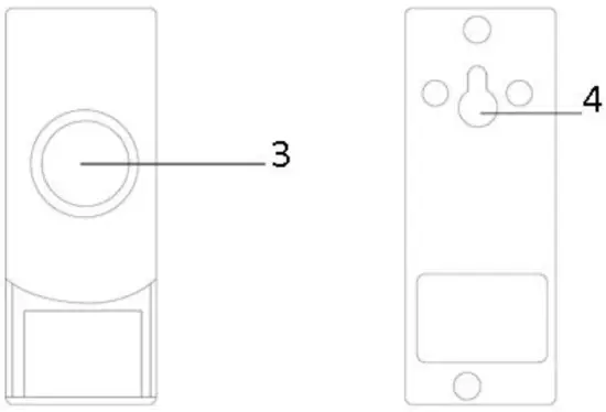
- Mounting hole
- Melody button
- Push button
- Mounting hole
DISPOSAL
Do not dispose this product as unsorted municipal waste. Collection of such waste separately for special treatment is necessary.
This product must not be disposed together with the domestic waste.
This product has to be disposed at an authorized place for recycling of electrical and electronic appliances.
By collecting and recycling waste, you help save natural resources, and make sure the product is disposed in an environmental friendly and healthy way
SERVICE AND REPAIR
We offer a warranty on our products in accordance with the legislation in effect in each country. (Proof of purchase must be presented/submitted.)
We provide service and repair free of charge during the warranty period in accordance with the Danish Sale of Goods Act and on the following terms.
- The fault is a design or material fault (this does not include normal wear and tear and misuse).
- Repair has not been attempted by anyone other than Millarco’s approved service workshops
- No non-original parts have been used on the product
Free service covers replacement of defective parts and man hours.
The product is to be returned to the place of purchase, and the store will send it in for service. We do not accept products for repair or warranty obligations directly from the customer.
Should technical questions arise, you are naturally welcome to contact our service workshop:
Millarco International A/S, Rokhøj 26, DK – 8520 Lystrup
Service phone: +45 8743 4233
E-mail: [email protected]




















