Neomounts NM-D775DXBLACK Monitor Desk Mount
NM-D775DXBLACK 

PARTS
Clamp
- STEP 1
- Install the clamp to the desk – for desktop thickness between 10-45 mm

- Install the clamp to the desk – for desktop thickness between 10-45 mm
Grommet
- STEP 1
- Install the grommet through the desk – for desktop thickness between 10-45 mm

- Install the grommet through the desk – for desktop thickness between 10-45 mm
- STEP 2
- Attach the lower arm to the base

- Attach the lower arm to the base
- STEP 3
- Attach the upper arm to the lower arm

- Attach the upper arm to the lower arm
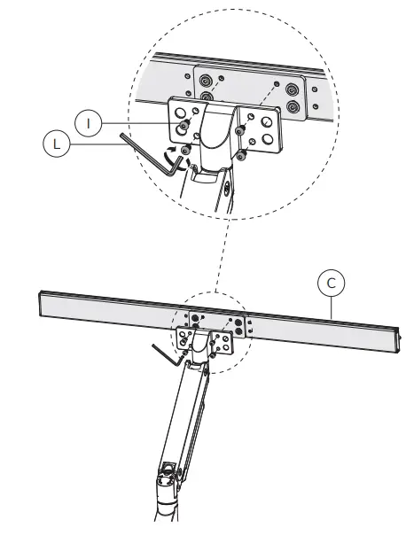
- STEP 4
- Attach the cross bar to the upper arm

- Attach the cross bar to the upper arm
- STEP 5
- Do not tighten the screws completely, to be able to adjust the mount to your desired position during use

- Do not tighten the screws completely, to be able to adjust the mount to your desired position during use
- STEP 6
- Attach the handle to the upper arm

- Attach the handle to the upper arm
- STEP 7
- Attach the VESA plates to the screens – Note: Do not tighten/loosen the screw in the middle of the VESA plate

- Attach the VESA plates to the screens – Note: Do not tighten/loosen the screw in the middle of the VESA plate
- STEP 8
- Install the monitors

- Install the monitors
- STEP 9
- Adjust the gas spring

- Adjust the gas spring
- STEP 10
- Remove the cable cover

- Remove the cable cover
- STEP 11
- Run cable through the cable cover

- Run cable through the cable cover
- STEP 12
- Keep the screens in a balanced position

- Keep the screens in a balanced position
- STEP 13
- Adjust the mount to your desired position and loosen or tighten the screws if necessary

- Adjust the mount to your desired position and loosen or tighten the screws if necessary
CAUTION
- To ensure safety, please read this manual carefully before installation and follow the instructions. Store this manual in a secure place for future reference.
- The manufacturer shall not be legally responsible for any equipment damage or personal injury caused by incorrect installation or operation other than that covered in this manual.
- The mount is designed for easy installation and removal.
- The manufacturer shall not be liable for damage to equipment or personal injuries arising out of human factors or acts of nature, such as earthquakes or typhoons.
- It is recommended that the mount be installed by qualified personnel only At least two persons are needed to install or remove the product to avoid the hazard of falling objects.
- Please carefully inspect the area where the mount is to be installed:
- Avoid places that are subject to high temperatures, humidity or contact with water. –
- Do not install the product near air conditioning vents or areas with excess dust and fumes. –
- Only install on vertical walls and avoid slanted surfaces. –
- Do not install in places subject to any shock or vibration.
- Do not install in places subject to direct exposure to bright light, as it may cause eye fatigue when viewing the display panel.
- Maintain sufficient space around the display to ensure adequate ventilation.
- To ensure safe installation, first check the structure of the wall, ceiling or floor and select a secure mounting location.
- The wall, ceiling or floor should be strong enough to sustain a weight or at least tour times of the display and mount combined.
- The mounting location must be able to withstand earhquake or another strong shock.
- Do not modiry any accessories or use broken parts. Contact your dealer with any questions.
- lighten all screws (do not exert excessive force to avoid breaking the screw or damaging its thread).
- Drill holes and bolts will be left in the wall, ceiling or floor once the display and bracket are removed. Stains may occur after extended use.
- Since the manufacturer has no way to control the wall, ceiling or floor type and installation of the mount, the warranty of the product shall only cover the body of the mount. The warranty period of the product is 5 years.
- Please consult the English language manual for any dispute on conditions.






























