Neomounts NM-D135D3 Monitor Desk Mount
Description
WIDE RANGE OF FUNCTIONS – Use an ergonomic flat panel mount to reduce neck and back pain. Perfect for usage at home, on counters, in waiting rooms, or in offices. Our Neomounts mounts come with a range of features, including 360° rotation and an extensive range of tilt (180°) and height adjustments. With the aid of this technology, our mounts can be adjusted to any viewing angle to take full advantage of flat panel display capabilities. Tilting, turning, and rotating table mount, suited for three screens between 10 and 27 and up to 24 kg max. variable height With this model, you may adjust the screen’s height, tilt, rotation, and turning to find the best viewing angle for your requirements. For complete details, see the list below.
Dimensions Overview

Instruments and Measurements

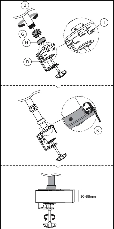
PARTS
Assembling the Monitor Desk Mount
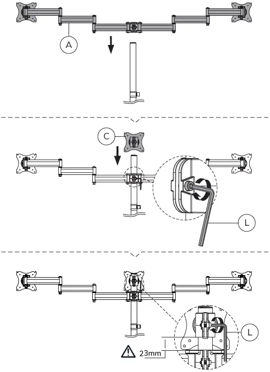
STEP 1 A

STEP 1 B

STEP 2

STEP 3

STEP 4

STEP 5

STEP 6

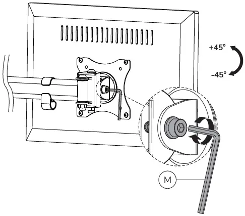
STEP 7

CAUTION
- To ensure safety, please read this manual carefully before installation and follow the instructions. Store this manual in a secure place for future reference.
- The manufacturer shall not be legally responsible for any equipment damage or personal injury caused by incorrect installation or operation other than that covered in this manual.
- The mount is designed for easy installation and removal. The manufacturer shall not be liable for damage to equipment or personal injuries arising out of human factors or acts of nature, such as earthquakes or typhoons.
- It is recommended that the mount be installed by qualified personnel only.
- At least two persons are needed to install or remove the product to avoid the hazard of falling objects.
- Please carefully inspect the area where the mount is to be installed:
- Avoid places that are subject to high temperatures, humidity, or contact with water.
- Do not install the product near air conditioning vents or areas with excess dust and fumes.
- Only install on vertical walls and avoid slanted surfaces.
- Do not install in places subject to any shock or vibration.
- Do not install in places subject to direct exposure to bright light, as it may cause eye fatigue when viewing the display panel.
- Maintain sufficient space around the display to ensure adequate ventilation.
- To ensure a safe installation, first check the structure of the wall, ceiling, or floor and select a secure mounting location.
- The wall, ceiling, or floor should be strong enough to sustain a weight of at least four times the display and mount combined. The mounting location must be able to withstand earthquakes or other strong shocks.
- Do not modify any accessories or use broken parts. Contact your dealer with any questions.
- Tighten all screws (do not exert excessive force to avoid breaking the screw or damaging its thread).
- Drill holes and bolts will be left in the wall, ceiling, or floor once the display and bracket are removed. Stains may occur after extended use.
- Since the manufacturer has no way to control the wall, ceiling, or floor type and installation of the mount, the warranty of the product shall only cover the body of the mount. The warranty period of the product is 5 years.
- Please consult the English language manual for any dispute on conditions.
User Support
- Address: Neomounts Computer Products Europa B.V. I Wateringweg 62 I 2031 EJ Haarlem I The Netherlands I
- Contact no. +3 1(0)23-5478888
- Support: [email protected]
- Email: www.neomounts.com
FAQ’s
However, if you have a fully-articulating monitor arm and you want to push the arm away from you, you’ll need space behind the desk to accommodate the arm behind the screen—between two to six inches. If you work in a cramped space, you will have less room to move around.
Yes, you can connect 3 Monitors to a laptop as long as your device supports it. Your hardware needs to have 3 graphic ports in order to connect 3 monitors. If your laptop does not have 3 graphic ports, do not worry since you can purchase an adapter or a docking station to support it.
Monitor arms are not “one size fits all,” and there are quite a few options out there, so be sure to consider these questions before buying. The Freedom Arm® is a stylish articulating monitor arm that easily mounts to any standard desk (or wall) allowing you to free up valuable desk space.
All computer monitors have at least two cables, a power cable, and a data cable. The power cable connects to the power outlet, or better, a surge protector, and is what allows the monitor to turn on.
Generally yes, most monitors can be mounted on a monitor arm. Monitors come with the standard VESA hole pattern of 75 x 75 mm or 100 x 100 mm on the back of the monitor for attaching to a monitor arm.
Set up dual monitors on Windows: Select Start, then open Settings. Under System, select Display. Use the dropdown list next to the image of your desktop to choose how your screen will project across your displays. Once you’ve chosen your setup, select Apply.
Mount Patterns are measured in millimeters and listed as width x height.
Unlike the stand that comes with most monitors, a monitor arm provides flexibility to position your screen exactly where you want it for proper ergonomics and comfort. It can also free up space on your desk and help your workspace look neater.
HDMI, DisplayPort, and USB-C are the most common types of monitor ports and cables, and you’ll find them on the majority of modern displays. However, there are legacy options available as well, such as VGA and DVI, that you may need to connect to older devices.
Most computer monitors range from 19 to 34 inches, measured diagonally from corner to corner.
Daisy-chaining, officially known as multi-stream transport, or MST (in the case of DisplayPort technology) involves connecting a monitor to another monitor instead of directly to your system’s video out port. It’s a great way of minimizing cable clutter and extending the range of your monitors from the source system.
Up to 6 USB displays are supported on Windows and up to 4 displays on macOS. Ubuntu supports up to 2 displays and Android supports a single mirrored display.
If you have a very thin desktop, say 10 mm or less, a monitor arm may not be suitable. Check the weight distribution when the monitor is mounted. Again, if the desktop isn’t sturdy enough, you risk damage. Most commercial-grade office furniture desktops of 24 mm thickness will be fine.
Most manufacturers comply with this standard by adhering to an industry-wide hole pattern on the back of the TV or monitor for mounting purposes. The VESA hole pattern for flat panel displays can be one of the following sizes: 75 mm x 75 mm (75 mm = 2.95 inches) 100 mm x 100 mm (100mm = 3.94 inches)
A buggy, outdated, or corrupted graphics driver can cause problems that may prevent Windows 10 from detecting a second monitor automatically. The easiest method to fix this issue is updating, reinstalling, or downgrading the driver.
Download this PDF Link: Neomounts NM-D135D3 Monitor Desk Mount Instructions Manual
















