SUSSEX DWBS200 Wall Basin Set Installation
Duet
Wall basin/bath set
Product code
- DWBS165
- DWBS200
- DBS165
- DBS200
Rough-in:
- The In-wall (Masterfit) is supplied and is to be used in conjunction with this Tapware.
- Secure a nogging 45mm (i) back from the front of the stud. Attach the Wall Masterfit to the nogging.
- Ensure the Masterfit is mounted square and parallel between the Wall Studs.
- To fit correctly, the thickness of the finished Wall coverings is calculated between 20mm and 35mm (ii)
- If the wall coverings and Tap Seat Body do not sit within the range specified. Please contact manufacturer.
Product parts
- (A) Handle Assembly (consisting of A1 – Handle, A2 – Spindle Adapter and A3 – Dress Ring).
- (B) Locknut.
- (C) Fibre Washer.
- (D) 90mm Spindle.
- (E) Wall Outlet
- (F) Set Screw
- (G) Dress Ring (for Outlet)
- (H) Supply Post
- (I) Spindle Sizing Gage
Plumber note
- Tapware is to be installed by a Licensed Plumber in accordance with AS/NZS 3500:2021
- Recommended working water pressure 300 – 500 Kpa. Maximum water temperature is 65°C
- After installation, ensure that tapware functions correctly without leaks.
- Please ensure a copy of the Installation Instructions are left with the end user for future reference.
While we aim to ensure the specifications shown are correct at time of printing, Sussex Taps reserves the right to make modifications without prior notice. Always use the physical product for accurate measurements. Dimensions are subject to chang ut notice. All measurements are shown in millimetres.
FIT OFF
- Step 1
Measure the amount of Locknut (B) protruding from the finished wall and mark the Locknut flush with the wall. Remove Locknut (B) for cutting. - Step 2
Cut and Deburr Locknut (B). Refit on Spindle (D) with Fibre Washer (C) and tightening well using a tube spanner.
- Step 3
The Locknut (B) must be cut to be flush or slightly behind the finished wall, as per diagram. - Step 4
Seal the wall penetration. Then screw the Dress Ring (A3) onto the Locknut (B) and secure using a spanner.

- Step 5
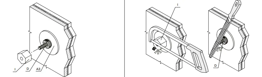
Thread the provided Spindle Sizing Guage (I) onto the Dress Ring (A3). - Step 6
Cut Spindle (D) against the face of the Sizing Guage (I). Remove Guage and deburr the edges to ensure the spindle adapter will fit.
- Step 7
Ensure both spindles (D) are set to OFF position: HOT = FULL TURN CLOCKWISE.
COLD = FULL TURN ANTICLOCKWISE. - Step 8
- Fit the Outlet Dress Ring (G) over the Supply Post (H).
- Ensure the O-rings on the Supply Post (H) are lubricated.
- Push Outlet (E) onto Supply Post (H).
- Adjust alignment and secure the outlet by tightening Set Screw (F) with an Allen key.

- Step 9
Fit the Spindle Adapter (A2) onto the end of the spindle (D). Now position and fit the handle (A1) to engage the lever of the handle assembly. - Step 10
Ensure that the handle (A1) is horizontally aligned (See Handle Alignment from step 11) and tighten by rotating the barrel whilst holding the handle lever. Rotate the barrel until it meets the Dress Ring (A3).
Fine-tuning Handle Alignment
- Step 11
The handle must be affixed as shown with the standard “off” position in horizontal alignment. - Step 12
If the handle alignment requires adjustment, remove the Handle (A1) and Spindle Adapter (A2). Rotate (A2) to engage a different position on the spindle and refit.
Repeat steps 10 and 12 until you reach alignment.
























