INSTALLATION GUIDE
GB-50 50/75 GPM Great Basin™ Indoor/Outdoor Grease Interceptor


LIFETIME GUARANTEED GREASE INTERCEPTORS
913-951-3300 | schierproducts.com
© Copyright 2023 Schier Products Company, 01/01/23
![]()
SPECIAL PRECAUTIONS
For Schier Grease Interceptor Installations – Failure to follow this guidance voids your warranty
WARNING! DO NOT AIR TEST UNIT OR RISER SYSTEM!
Doing so may result in property damage, personal injury or death.
CAUTION! Do not install this unit in any manner except as described in these instructions.
Installation Instructions
Installation instructions and additional components are included with the interceptor. Read all instructions prior to installation. This interceptor is intended to be installed by a licensed plumber in conformance with all local codes.

Install interceptor as close as possible to fixtures being served
Provide at least 12″ clearance above unit for routine maintenance.

High Temperature Kitchen Water
If water is entering the interceptor at excessive temperature (over 150º F), a drain water tempering valve (DTV) and approved backflow prevention assembly must be installed. Most state and local plumbing codes prohibit water above 150º F being discharged into the sanitary sewer. Water above 150º F will weaken or deform PVC Schedule 40 pipe, poly drainage fixtures like interceptors and erode the coating of cast iron (leading to eventual failure).
ODOR ALERT!
Interceptor is not a sewer gas trap. All upstream fixtures must be trapped

ODOR ALERT!
Do not install air gap on outlet side of interceptor.

Fully Support Base of Unit
Install unit on solid, level surface in contact with the entire footprint of unit base

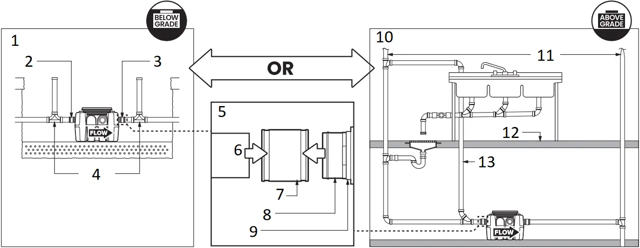
When Installing Interceptor Inside
If your dishwashing sink(s) discharges into a floor drain/sink (drain), you may regulate the flow into the drain to avoid an overflow of water onto the kitchen floor. This can be done by installing a valve or flow restriction cap on the sink piping that discharges into the drain. See drawing for guidance. For detailed guidance on indirect connections, go to:
webtools.schierproducts.com/Technical_Data/Indirect_Connections.pdf

- Fernco or similar rubber flow restriction end cap
Support Inlet and Outlet Piping
For above grade installations ensure heavy inlet and outlet piping (such as cast iron or long runs) is properly supported or suspended during the entire installation process to prevent connection failure or damage to bulkhead fittings.

- pipe supports

DO NOT USE CAST IRON COVERS IN ABOVE GRADE OR INDOOR INSTALLATIONS
Use composite cover C24BC for above grade installations
Secure Cover Adapters
Cover adapters must be secured to base units in above grade installations with increased head pressure conditions. Use cover adapter tie-down kit model ATD1.

Suspended Installations
Design trapeze to support the wet weight of the unit. Do not partially support unit or suspend unit using metal U-channel to create a trapeze.

- concrete floor
High Water Table Installations
Interceptors and risers are not designed to withstand water table height in excess of the top of the unit when buried (see figure). If it is possible for this to occur, install the interceptor and risers in a water-tight concrete vault or backfill with concrete or flowable fill (wet concrete and flowable backfill should be poured in stages to avoid crushing the interceptor). At risk areas include but are not limited to tidal surge areas, floodplains and areas that receive storm water. Great Basin™ models that are direct buried in high water table scenarios must be installed with an anchor kit. Model GB-50 uses model AK1 anchor kit.

- max water table height for direct burial
- model AK1 anchor kit
Hydrostatic/Pressure Slabs
When installed under a hydrostatic slab (slab designed to withstand upward lift, usually caused by hydrostatic pressure) interceptor must be enclosed in a watertight concrete vault.

- concrete slab subject to hydrostatic pressure
- watertight concrete vault

DO NOT COMPACT BACKFILL MECHANICALLY
Compact by hand only
Below Grade Installation Slab Requirements
A concrete slab to finished grade with rebar is required when installing interceptor below grade.

- Rebar
- 4″ min. slab
- Pedestrian Traffic or Greenspace Areas
- 8″ min. slab
- Vehicular Traffic Areas
Installations with Risers

- 3 FCR2 Risers Max
- Max Water Level
Risers are not designed to retain water
Corrugated Riser Pipe Requirements
Riser adapter model CA2 must be used when installing interceptors using 24″ diameter corrugated pipe as a riser. This will adequately embed the cover adapter in the concrete slab, preventing cover/cover adapture failure under traffic rated loads.

GETTING TO KNOW THE GB-50

1. Pickable cast iron cover (standard)
2. Cover gasket
3. Safety Star® access restrictor
4. Safety Star® tether
5. Cover adapter
6. Cover adapter gasket assembly with upper and lower stainless steel band clamps
7. 4″ cleanout plug (x2)
8. Outlet bulkhead connection (optional) 4″ FPT (x2)
9. Bulkhead connection gasket
10. Bulkhead connection retaining nut
11. Inlet diffuser cover (white)
12. Inlet diffuser
13. Inlet diffuser retaining nut
14. Inlet diffuser foot retaining nut
15. Inlet diffuser (foot)
16. Inlet bulkhead connection 4″ FPT
17. 4″ plain end fitting (x2)
18. Composite cover bolts and washers (x4)
19. Bolted composite cover (optional)
20. Air relief/visual access
21. Outlet diffuser retaining nut
22. Outlet diffuser
23. Outlet diffuser foot retaining nut
24. Outlet diffuser (foot)
25. Outlet bulkhead connection (standard) 4″ FPT
26. 7/16″ nut driver bit
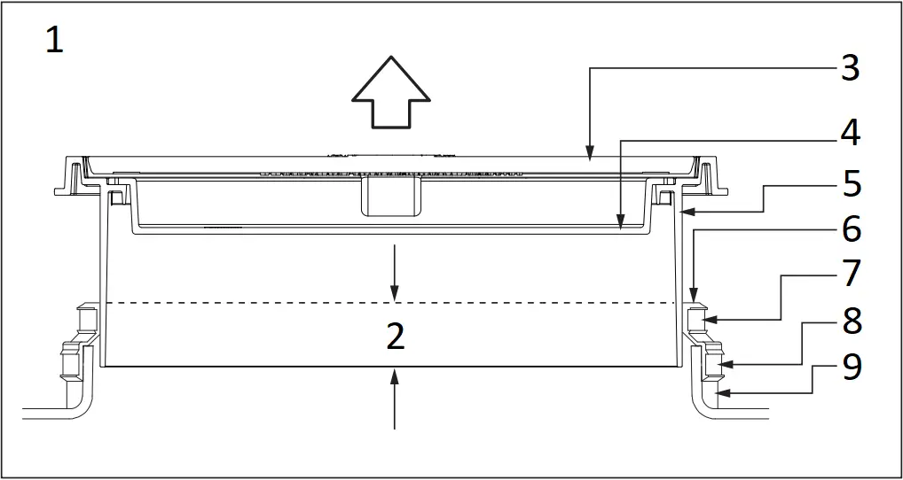
1 Test tank for water tightness
(1a)

Cap all connection points with 4″ cleanout plugs using pipe thread sealant or tape approved for use with plastics.
(1b)

- Fill Line
Remove covers. For base unit testing fill with water to just above the highest connection.
Inspect unit, connections and gaskets for leaks. Check water level at specific time intervals per local code.
(1c)

Have a Leak?
Call customer care at 913-951-3300
Hours 8am-5pm CST, M-F
2 Excavate Burial Pit
ONLY

Excavate hole at least 12″ larger than interceptor on all sides and 6″ deeper than tank bottom. Lay a level bed of well-packed, crushed aggregate (approximately 3/4″ size rock or sand, with no fines) in the base of hole.
3 Set Up Outlet Diffuser and Install Cleanout Plugs
(3a) Choose outlet location.

- Side Outlet:
Go to Step 3b. - Straight Through:
Go to Step 3c.
(3b) Reposition outlet diffuser (side outlets only)

Remove safety star insert, leave tethered to unit. Unscrew diffuser retaining nut and remove outlet diffuser. Unscrew diffuser foot retaining nut and remove outlet diffuser foot. Rotate diffuser toward chosen outlet, replace foot ensuring it will point to the back wall of the unit and hand tighten foot retaining nut. Insert diffuser into chosen outlet and hand tighten retaining nut.
(3c) Cap unused connections(all configurations)

Screw in provided 4″ cleanout plugs using pipe thread sealant or tape approved for use with plastics. Do not cap the inlet or outlet connections attached to the diffusers.
4 Install Inlet Diffuser Components

This unit is supplied with a white inlet diffuser cover to prevent the unit from swamping in high flow/ increased head pressure conditions.
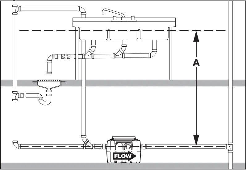
- If dimension “A” is 13 feet or less, the inlet diffuser cover is not needed, go to Step 5, Connect Piping.
- If dimension “A” is more than 13 feet, or a high flow/increased head pressure condition exists, follow Steps below.
(4a) Install inlet diffuser cover

- inlet diffuser cover retainer pin
- cartridge receiver slot
Remove Safety Star® insert and remove inlet diffuser cover from the parts bag. Slide inlet diffuser cover into top of inlet diffuser and rotate clockwise until cartridge drops onto inlet diffuser cover retainer pins. Continue rotating clockwise until pins are fully seated.
(4b) OPTIONAL: install extension handle
For easy inlet diffuser cover removal in deep burial installations, 1-1/2″ PVC SCH. 40 pipe may used as an extension handle. Before risers have been installed, cut pipe to length and attach to top of cover using PVC primer/cement. Extension handle length should be about 12″ shorter than total riser height.

- Finished installation showing optional extension handle
5 Connect Piping
(5a) Install plain end fittings

- 4″ FPT
- 4″ Plain End
Screw plain end fittings (included) into bulkhead fittings using pipe thread sealant or tape approved for use with plastics. 6″ connection types come pre-installed from the factory.
(5b) Connect interceptor to drain lines

- BURIED INSTALLATION
- Inlet
- Outlet
- 2-way cleanout tee
- COUPLING DETAIL
- Drain line
- Flexible coupling
- Plain end fitting
- Bulkhead fitting
- FLOOR BELOW INSTALLATION
- Vent per local code
- Kitchen floor
- Add this vent if unit is installed one or more floors below the fixtures being served
Place unit into final position and set level. Mechanically couple inlet and outlet drainage lines to unit. Do not solvent weld. Ensure all upstream fixtures are trapped. Vent per local code. Installation of 2-way cleanout tees to grade (by others) is recommended for buried installations.
6 Wet or Air Test Piping Per Local Code
WARNING! DO NOT AIR TEST UNIT OR RISER SYSTEM!
Doing so may result in property damage, personal injury or death.
Have a Leak? Call customer care at 913-951-3300
Hours 8am-5pm CST, M-F
7 Bring Covers Flush-to-Grade
ONLY
The GB-50 is ready for burial depth of 28-1/2″ from finished grade to bottom of tank (or 10-1/2″ to centerline of inlet).
Deeper burials will require extending the cover adapters and possibly adding risers.
(7a) Measure dimension X to determine riser height needed.

| Riser Height Needed | Risers Required |
| 0″ – 4″ | None (use adapter) |
| >4″ – 34″ | FCR2 (x1) |
| >34″ – 64″ | FCR2 (x2) |
| >64″ – 94″ | FCR2 (x3) |

(7b) Install risers if required

See instructions included with FCR2.
(7c) Make final cover adapter adjustments

Loosen the cover adapter upper band clamp using 7/16″ nut driver bit. Adjust cover adapter heights as needed. Maintain a minimum 2-1/2″ insertion depth. Tighten upper band clamp to 5 -8 ft. lbs. of torque using 7/16″ nut driver bit. If required, cover adapters may now be tilted up to 10º in any direction using gasket flexibility.

- COVER ADAPTER ADJUSTMENT DETAIL
- 2-1/2″ minimum
- Cover
- Safety Star access restrictor
- Cover adapter
- Gasket
- Upper band clamp
- Lower band clamp
- Interceptor accessway
8 Install Anti-Flotation Anchor Kit
ONLY

- Max water table height for direct burial
- Model AK1 anchor kit
If the installation location is in a high water table or at risk area (including but not limited to tidal surge areas, floodplains and areas that receive storm water) the GB-50 must be installed with Schier model AK1 anchor kit.
9 Backfill and Finished Grade
ONLY
(9a) Backfill

- DO NOT COMPACT BACKFILL
Fill unit with water for stabilization and float-out prevention. Backfill evenly around tank using crushed aggregate (approximately 3/4″ size rock or sand with no fines)or flowable fill. Do not compact backfill around unit.
(9b) Pour concrete slab to finished grade

- Rebar

- TOP VIEW
- 18″ min
- Concrete slab
- Rebar
Vehicular Traffic Areas:
Minimum 8″ thick concrete slab with rebar required. Thickness of concrete around covers to be determined by specifying engineer. If traffic loading is required the concrete slab dimensions shown are for guideline purposes only. Concrete to be 28 day compressive strength to 4,000 PSI. Use No. 4 rebar (ø 1/2″) grade 60 steel per ASTM A615: connected with tie wire. Rebar to be 2-1/2″ from edge of concrete and spaced in a 12″ grid with 4″ spacing around access openings.
Pedestrian Traffic or Greenspace Areas:
Minimum 4″ thick concrete slab with rebar required.
Schier | GB-50 Installation Guide
ONLY

















