SCHIER GB-1000 100-200 GPM Great Basin Indoor-Outdoor Grease Interceptor

GB-1000 100/200 GPM Great Basin™ Indoor/Outdoor Grease Interceptor
Part #: 4080-002-01 Find these instructions online at: schierproducts.com/gb-1000 This unit is certified for hydromechanical performance to ASME A112.14.3 and CSA B481.1 and IAPMO/ANSI Z1001-2021 for gravity grease interceptors.
SPECIAL PRECAUTIONS
For Schier Grease Interceptor Installations – Failure to follow this guidance voids your warranty
- DO NOT AIR TEST UNIT OR RISER SYSTEM! Doing so may result in property damage, personal injury or death.
- Do not install this unit in any manner except as described in these instructions.
Installation Instructions
Installation instructions and additional components are included with the interceptor. Read all instructions prior to installation. This interceptor is intended to be installed by a licensed plumber in conformance with all local codes.
Hydrostatic/ Pressure Slabs
When installed under a hydrostatic slab (slab designed to withstand upward lift, usually caused by hydrostatic pressure) interceptor must be enclosed in a watertight concrete vault.
ODOR ALERT!
Interceptor is not a sewer gas trap. All upstream fixtures must be trapped

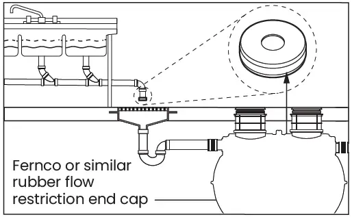
Indirect Connections

If your dishwashing sink(s) discharges into a floor drain/sink (drain), you must regulate the flow into the drain to avoid an overflow of water onto the kitchen floor. This
can be done by installing a valve or flow restriction cap on the sink piping that discharges into the drain. See drawing for guidance. For detailed guidance on indirect connections, go to: webtools.schierproducts.com/Technical_Data/Indirect_Connections.pdf
High Water Table Installations
Interceptors and risers are not designed to withstand water table height in excess of the top of the unit when buried (see figure). If it is possible for this to occur, install the interceptor and risers in a water-tight concrete vault or backfill with concrete or flowable fill (wet concrete and flowable backfill should be poured in stages to avoid crushing the interceptor). At risk areas include but are not limited to tidal surge areas, floodplains and areas that receive storm water. Great Basin™ models that are direct buried in high water table scenarios must be installed with an anchor kit. Model GB-1000 uses model AK3 anchor kit for use with deadmen anchors.
Below Grade Installation Slab Requirements
A concrete slab to finished grade with rebar is required when installing an interceptor below grade.

SPECIAL PRECAUTIONS
For Schier Grease Interceptor Installations – Failure to follow this guidance voids your warranty
High-Temperature Kitchen Water
If water is entering the interceptor at an excessive temperature (over 150º F), a drain water tempering valve (DTV) and approved backflow prevention assembly must be installed. Most state and local plumbing codes prohibit water above 150º F being discharged into the sanitary sewer. Water above 150º F will weaken or deform PVC Schedule 40 pipe, poly drainage fixtures like interceptors and erode the coating of cast iron (leading to eventual failure).
Lifting Straps
Use the yellow lifting straps provided with the tank. Designed for dry lift only.
Installations with Risers

Corrugated Riser Pipe Requirements
Riser adapter model CA2 must be used when installing interceptors using 24″ diameter corrugated pipe as a riser. This will adequately embed the cover adapter in the concrete slab, preventing cover/cover adapture failure under traffic rated loads.
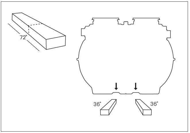
Above Grade Installation Support
For use in supporting tank body installed above grade. Use the provided 72″ long 2×4 shipped on top of the tank. Cut the marked 2×4 in half and install each 36″ long half into the alloted slots at the bottom of the tank.
Test Tank for Water Tightness

- Cap both connection points with 6″ flexible PVC caps.
- Remove covers. For base unit testing fill with water to just above the highest connection. Inspect unit, connections and gaskets for leaks. Check water level at specific time intervals per local code.
Have a Leak?
Call customer care at 913-951-3300 Hours 8am-5pm CST, M-F
Excavate Burial Pit

- Excavate hole at least 18″ larger than interceptor on all sides and 12″ deeper than tank bottom. Lay a level bed of well-packed, crushed aggregate (approximately 3/4″ size rock or sand, with no fines) in the base of hole.
Install Inlet Diffuser Components

This unit is supplied with additional components for use in high flow/ increased head pressure conditions.
- If dimension “A” is 13 feet or less, no additional components are needed, go to Step 4, Connect Piping.
- If dimension “A” is more than 13 feet, or a high flow/increased head pressure condition exists, follow Steps below.
Install inlet diffuser cover


OPTIONAL for 4″ Diffusers: install extension handle
For easy inlet diffuser cover or flow control cartridge removal in deep burial installations, 1-1/2″ PVC SCH. 40 pipe may used as an extension handle. Before risers have been installed, cut pipe to length and attach to top of cover using PVC primer/cement. Extension handle length should be about 12″ shorter than total riser height.
Connect Piping
Install plain end fittings (4″ CONNECTIONS ONLY)

Screw plain end fittings (included) into bulkhead fittings using pipe thread sealant or tape approved for use with plastics. 6″ connection types come pre-installed from the factory.
Connect interceptor to drain lines

Place unit into final position and set level. Mechanically couple inlet and outlet drainage lines to unit. Do not solvent weld. Ensure all upstream fixtures are trapped. Vent per local code. Installation of 2-way cleanout tees to grade (by others) is recommended for buried installations.
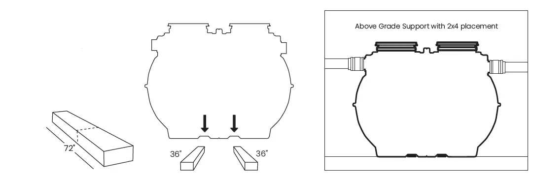
Above Grade Installation Support
For use in supporting tank body installed above grade. Use the provided 72″ long 2×4 shipped on top of the tank. Cut the marked 2×4 in half and install each 36″ long half into the alloted slots at the bottom of the tank. 
Wet or Air Test Piping Per Local Code
WARNING
DO NOT AIR TEST UNIT OR RISER SYSTEM! Doing so may result in property damage, personal injury or death.
Have a Leak?
Call customer care at 913-951-3300 Hours 8am-5pm CST, M-F
Bring Covers Flush-to-Grade
- The GB-1000 is ready for burial depth of 77″ from finished grade to bottom of tank (or 18″ to centerline of inlet). Deeper burials will require extending the cover adapters and possibly adding risers.
- Measure dimension X to determine riser height needed.
- Install risers if required

See instructions included with FCR2. LEARN MORE: schierproducts.com/fcr2
Make final cover adapter adjustments
Loosen the cover adapter upper band clamp using 7/16″ nut driver bit. Adjust cover adapter heights as needed. Maintain a minimum 2-1/2″ insertion depth. Tighten upper band clamp to 5 -8 ft. lbs. of torque using 7/16″ nut driver bit. If required, cover adapters may now be tilted up to 10º in any direction using gasket flexibility.
Install Anti-Flotation Anchor Kit
If the installation location is in a high water table or at risk area (including but not limited to tidal surge areas, floodplains and areas that receive storm water) the GB-1000 must be installed with Schier model AK3 anchor kit (with deadman anchors by others). See instructions included with AK3.
LEARN MORE: schierproducts.com/ak3

Backfill and Finished Grade

Fill unit with water for stabilization and float-out prevention. Backfill evenly around tank using crushed aggregate (approximately 3/4″ size rock or sand with no fines)or flowable fill. Do not mechanically compact backfill around unit.
Vehicular Traffic Areas:
Minimum 8″ thick concrete slab with rebar required. Thickness of concrete around covers to be determined by specifying engineer. If traffic loading is required the concrete slab dimensions shown are for guideline purposes only. Concrete to be 28 day compressive strength to 4,000 PSI. Use No. 4 rebar (ø 1/2″) grade 60 steel per ASTM A615: connected with tie wire. Rebar to be 2-1/2″ from edge of concrete and spaced in a 12″ grid with 4″ spacing around access openings.
Pedestrian Traffic or Greenspace Areas:
Minimum 4″ thick concrete slab with rebar required.
OPTIONAL PUMPOUT PORTS
Standard GB-1000 units DO NOT include pumpout port connections or the ability to have pumpout port connections added. Specific units listed below include two preinstalled pumpout connections.

GB-1000 models with preinstalled pumpout ports
- 6″ standard conn, indoor composite cover (4080-030-01)
- 6″ standard conn, outdoor cast iron cover (4080-031-01)
- 6″ male conn, indoor composite cover (4080-035-01)
- 6″ male conn, outdoor cast iron cover (4080-036-01)
- 4″ standard conn, indoor composite cover (4080-032-01)
- 4″ standard conn, outdoor composite cover (4080-033-01)
- 3″ cam and groove cap
- 3″ cam and groove fitting
- 4″ MPT x 3″ plain end fitting
- 4″ x 3″ PVC pumpout adapter
- Bulkhead connection retaining nut (green)
- 3″ PVC elbow fitting
- Internal 3″ PVC pipe
Notes
- Additional plumbing fitting(s) required to complete kit installation. Fitting(s) determined by unit outlet configuration.
Installation Notes
- Maximum vertical distance from static water line of grease interceptor to pumpout port hook-up shall not exceed 21 feet.
- Maximum horizontal distance from grease interceptor to pumpout truck (including pumper hose) shall not exceed 100 feet.
- Plumbing from interceptor to hook-up to have a maximum quantity of 6 elbow fittings
PUMPOUT PORT INSTALLATION IDEAS
Use the following illustrations for guidance to plan your pumpout ports piping layout.
- Below Grade Installation with Outdoor Remote Pumpout Hook-up
- Below Grade Installation with Outdoor In-Ground Remote Pumpout Hook-up

- At Grade Floor Below Installation with Indoor Remote Pumpout Hook-up

Plan pumpout plumbing
See “INSTALLATION IDEAS” for guidance. Choose two pumpout port connections on the interceptor and choose a location for the pumpout hook-up. NOTE: This kit does not include the plumbing from the interceptor to the hook-up location. You will need to plan out the pumpout plumbing based on site conditions and local codes and provide all additional piping, valves, connections and hardware needed to complete this installation.
Move pumpout port connections if needed
- Connections shown as shipped
- Move connections if needed
- Do not allow connections to both be on one side of the baffle


- Remove cover bolts (if applicable), then remove covers. Remove Safety Star® inserts, leave tethered to unit. Install cleanout plugs to two unused pumpout port connections.
Moving Internal Pipe Assembly
- Place the bulkhead connection retaining nut into position against the rim of the adapter, starting at the bottom of the vertical pipe and sliding it up and over the elbow.

- Place internal pipe assembly onto desired internal connection stub. Ensure piping assembly is pointed down (as shown) and there is at least 1/2″ of clearance between the pipe and floor of unit. Securely hand tighten retaining nut.

Connect External Piping
Install 3″ PVC piping, connections, valves and/or hardware from the interceptor pumpout port to pumpout hook-up location (Not included with this unit). Maximum quantity of 6 elbow fittings. Max. height from static water line of interceptor to hook-up is 21 feet. Max horizontal distance from interceptor to pumper truck (including hose) is 100 feet.
OR
In a manifold installation, you will need to pump out each compartment separately, using one valve at a time to isolate each compartment to ensure vacuum isn’t lost during the pumping process.

Connect Pumpout Hook-up

- At the end of the pumpout plumbing line, install a 3″ MPT pipe nipple (Not included with this unit) using a coupling of your choice.
- Securely attach supplied 3″ Cam and Groove Fitting to pipe nipple using pipe thread sealant or tape.
Test Pumpout Port
Run sinks to ensure interceptor is full of water. Attach pumper hose to 3″ cam and groove fitting. Turn on pump, make sure interceptor is pumped out and inspect pumpout plumbing for leaks.
Cap off hookup and re-assemble the interceptor

- Install cam and groove cap at hookup
- Replace safety star insert and cover, tightening cover bolts securely (if applicable).
Series Installations
For lower flow rates and higher grease storage requirements. Piping between units and two-way cleanout tees by others. All units must be level in the excavation pit. Note that downstream units must be buried 2″ deeper than the adjacent, upstream fixture. Two-way cleanout tees extended to finished grade should be installed before the first unit inlet, after the last unit outlet and in between units (if there is a long run of pipe between units) for line cleaning purposes.
NOTE: When the flow control is required, it should only be installed on the first unit in the series.
Rated Grease Capacities for Units Piped in Series
| No. of Units In Series | Removal Efficiency | |
| 100 GPM – 98.8% | 100 GPM – 99%* | |
| 2 | 10,990 lbs. | 10,544 lbs. |
| 3 | 16,485 lbs. | 15,816 lbs. |
| 4 | 21,980 lbs. | 21,088 lbs. |

























