SUSSEX DPTMHM Duet Top Mount Hob Mixer

Product Code
DPTMHM
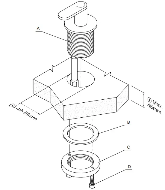
Install Preparation
- Maximum Mounting Surface thickness is 45mm. (i)
- Hob Mixer: 49mm – 51mm Clearance Hole. (ii)
- Mounting Surface must be flat and level.
- Prior to installing remove:
- (B) Clamping Ring
- (C) Clamping Plate
Product Parts
- (A) Handle Assembly Body.
- (B) Clamping Ring.
- (C) Clamping Plate.
- (D) Fixing Screws

Plumbers Note
- Tapware is to be installed by a Licensed Plumber in accordance with AS/NZS 3500:2021
- Recommended working water pressure 300 – 500 Kpa. Maximum water temperature is 65°C
- After installation, ensure that tapware functions correctly without leaks.
- Please ensure a copy of the Installation Instructions are left with the end user for future reference.
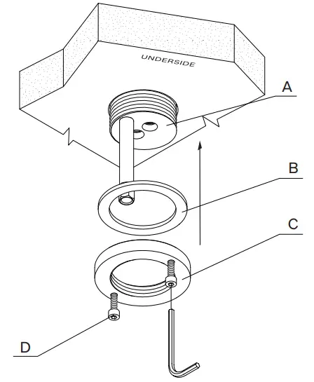
Assembly Instruction
Step 1
Place the Hob Mixer (A) into the clearance hole making sure that the mixer is in the ‘OFF’ position facing ‘FRONT’.
‘Mixed OUT’ Extension is to face the ‘FRONT’.
Step 2
Working from underneath, Attach the Clamping Ring (B) to the Hob Mixer (A). Thread the Clamping Plate (C) until it tightens the Ring. Secure the Hob Mixer by tightening the Fixing Screws (D) using a 5mm Allen key- Tighten well.
Step 3
Attach Hot and Cold flexible hoses to the Hob Mixer. Attach the ‘Mixed OUT’ flexible hose to the ‘Mixed OUT’ extension of the Hob Mixer.
Step 4
- Connect Hot and Cold hoses to wall fittings.
- Note: Stop cocks are recommended. (not supplied)
- Connect ‘Mixed OUT’ hose to outlet
- After all connections are made operate Hob Mixer and check for any leaks.

Customer Support

















