BTW5019
032588
Installation Guide
Mounting Instructions
- Screw the two pieces of eccentric connection (04) into the pipe which has been fixed in the wall.
- Put the 2 pieces of washer (02) into the hexagonal nut which has been fixed on the mixer body (01).
- Put the rosette (03) onto the eccentric connection (04) and then screw the hexagonal nut onto the eccentric connection (04) to fix the mixer body (01).
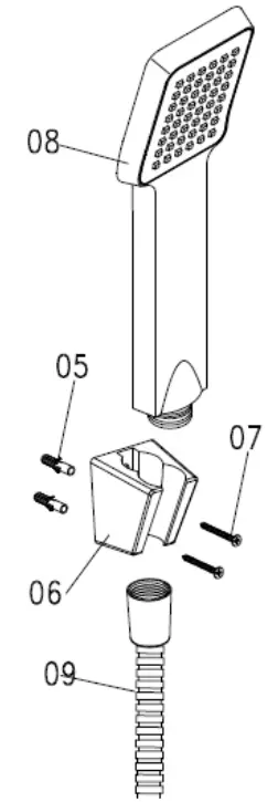
- Put the shower bracket (06) onto the wall, then fix it with an expansion pipe (05) and screw (07).
- Set the shower hose (09) onto the mixer body (01) and the shower (08), then put the shower (08) onto the shower bracket (06).

Assembling parts:
a) 1 x fixing part (01.06.08.09).
b) 2 x fixing part ( 02-05.07).

- The manufacturer reserves the right to make minor changes to product design and technical specifications without prior notice unless these changes significantly affect the performance and safety of the products. The parts described/illustrated in the pages of the manual that you hold in your hands may also concern other models of the manufacturer’s product line with similar features and may not be included in the product you just acquired.
- Please note that our equςςipment has not been designed for use in commercial, trade, or industrial applications. Our warranty will be voided if the machine is used in commercial, trade, or industrial businesses or for equivalent purposes.
- To ensure the safety and reliability of the product and the warranty validity, all repair, inspection, repair, or replacement work, including maintenance and special adjustments, must only be carried out by technicians of the authorized service department of the manufacturer.
![]() | ![]() |
| DISPOSE OF PACKAGING RESPONSIBLY | DO NOT DISPOSE OF ELECTRICAL GOODS IN HOUSEHOLD WASTE |

















