SUSSEX Duet Progressive Wall Mixer Installation Guide
Rough-in
- The In-wall (Body Mixer) is supplied and is to be used in conjunction with this Tapware.
- Secure a nogging 32mm (i) back from the front of the stud. Attach the Wall Body Mixer to the nogging.
- Ensure the Body Mixer mounted is square and parallel between the Wall Studs.
- For the purpose of the illustration, the thickness of the finished Wall coverings is calculated to be 28mm (ii)
- See step 1 for rough in configuration.
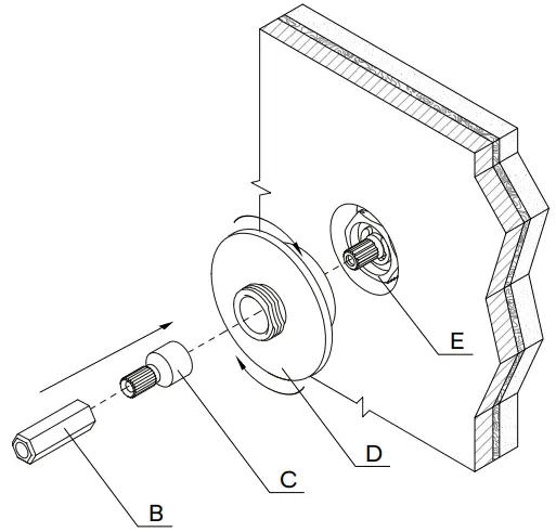
Product parts

- (A) Handle
- (B) Spindle Adapter
- (C) Spindle Extention
- (D) Dress Ring
- (E) Spindle
Plumber note
- Tapware is to be installed by a Licensed Plumber in accordance with AS/NZS 3500:2021
- Recommended working water pressure 300 – 500 Kpa. Maximum water temperature is 65°C
- After installation, ensure that tapware functions correctly without leaks.
- Please ensure a copy of the Installation Instructions are left with the end user for future reference.
Pressure testing
On-site high pressure line testing must be conducted with the Mixer in the closed position. (STATIC TEST ONLY) Under no circumstances is the Mixer to be opened when exceeding the maximum stated water pressure.
At the completion of the testing, do not relieve any high pressure by opening the Mixer.
Exposing the internals of the Mixer Cartridge to higher than specified water pressures, will void the manufacturer’s warranty.
Rough-in
Step 1
For thinner wall coverings, the Masterfit needs to be set further back to compensate.
For thicker wall coverings the Masterfit needs to be set forward.
Ensure the Noggin set back is measured from the face of the stud.
Rough In Table
| Wall Thickness | Noggin Set Back |
| 32mm | 28mm |
| 30mm | 30mm |
| 28mm | 32mm |
Fit Off
Step 2
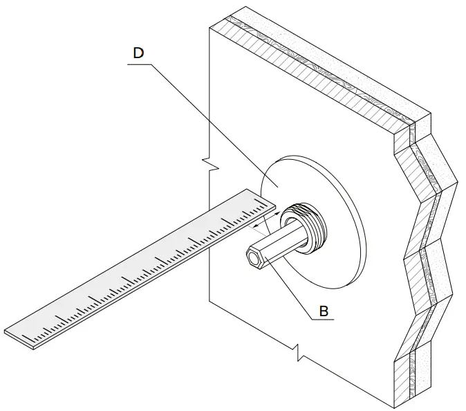
Thread Dress Ring (D) onto Spindle Locknut (E). Tighten Dress Ring (D) with a spanner. Fit the Extension (C) and the Adapter (B) onto the Spindle (E).
Step 3
Measure and mark the Spindle Adapter (B) 19mm from the Dress Ring (D).
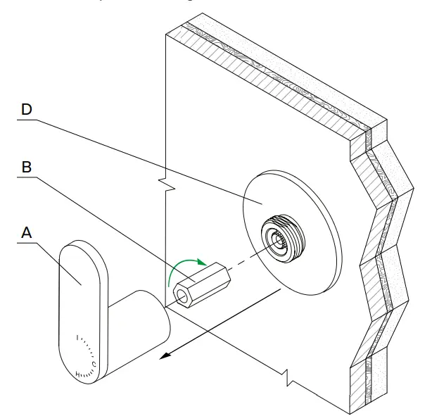
Step 4
Cut and Deburr Spindle Adapter (B). Refit adapter onto the spindle.
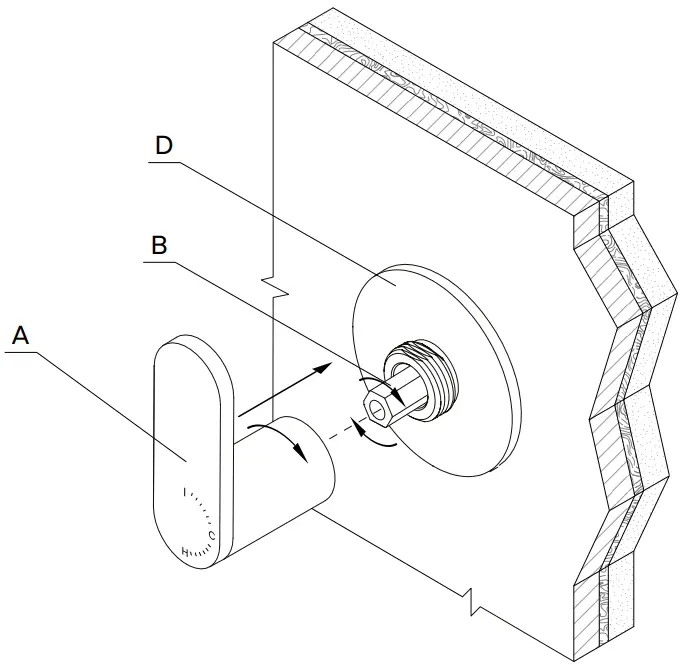
Step 5
Ensure the Spindle is set to the ‘OFF’ position by rotating the Adapter (B) CLOCKWISE. Fit the Handle Assembly (A) with the lever in the upright position. Once engaged rotate the barrel of the handle to tighten against the Dress Ring (D).
Fine Tuning Alignment
Step 6
The handle must be fixed as shown with the “off” position in a vertical alignment.
Step 7
If the handle alignment requires adjustment, remove the Handle (A) and Spindle Adapter (B).Rotate (B) to engage a different position on the spindle and refit. Repeat steps 5 and 7 until you reach alignment.
Costumer Support
While we aim to ensure the specifications shown are correct at time of printing, Sussex Taps reserves the right to make modifications without prior notice.
Always use the physical product for accurate measurements. Dimensions are subject to change without notice. All measurements are shown in millimetres. sussextaps.com.au Copyright © Sussex Taps
![]()













