CiT RMPW-161-19 7U Rack Mount Display Panel
Legal Information
First English printing, July 2022
Information in this document has been carefully checked for accuracy; however, no guarantee is given to the correctness of the contents. The information in this document is subject to change without notice. We are not liable for any injury or loss that results from the use of this equipment.
Safety Instructions
Please read all of these instructions carefully before you use the device. Save this manual for future reference.
- Unplug equipment before cleaning. Don’t use liquid or spray detergent; use a moist cloth.
- Keep equipment away from excessive humidity and heat. Preferably, keep it in an air-conditioned environment with temperatures not exceeding 40º Celsius (104º Fahrenheit).
- When installing, place the equipment on a sturdy, level surface to prevent it from accidentally falling and causing damage to other equipment or injury to persons nearby.
- When the equipment is in an open position, do not cover, block or in any way obstruct the gap between it and the power supply. Proper air convection is necessary to keep it from overheating.
- Arrange the equipment’s power cord in such a way that others won’t trip or fall over it.
- If you are using a power cord that didn’t ship with the equipment, ensure that it is rated for the voltage and current labeled on the equipment’s electrical ratings label. The voltage rating on the cord should be higher than the one listed on the equipment’s ratings label.
- Observe all precautions and warnings attached to the equipment.
- If you don’t intend on using the equipment for a long time, disconnect it from the power outlet to prevent being damaged by transient over-voltage.
- Keep all liquids away from the equipment to minimize the risk of accidental spillage. Liquid spilled on to the power supply or on other hardware may cause damage, fi re or electrical shock.
- Only qualified service personnel should open the chassis. Opening it yourself could damage the equipment and invalidate its warranty.
- If any part of the equipment becomes damaged or stops functioning, have it checked by qualified service personnel.
What the warranty does not cover
- Any product, on which the serial number has been defaced, modified or removed.
- Damage, deterioration or malfunction resulting from:
- Accident, misuse, neglect, fi re, water, lightning, or other acts of nature, unauthorized product modifi cation, or failure to follow instructions supplied with the product.
- Repair or attempted repair by anyone not authorized by us.
- Any damage of the product due to shipment.
- Removal or installation of the product.
- Causes external to the product, such as electric power fluctuation or failure.
- Use of supplies or parts not meeting our specifications.
- Normal wear and tear.
- Any other causes which does not relate to a product defect.
- Removal, installation, and set-up service charges.
Regulatory Notices Federal Communications Commission (FCC)
This equipment has been tested and found to comply with the limits for a Class B digital device, pursuant to Part 15 of the FCC rules. These limits are designed to provide reasonable protection against harmful interference in a residential installation.
Any changes or modifications made to this equipment may void the user’s authority to operate this equipment. This equipment generates, uses, and can radiate radio frequency energy and, if not installed and used in accordance with the instructions, may cause harmful interference to radio communications.
However, there is no guarantee that interference will not occur in a particular installation. If this equipment does cause harmful interference to radio or television reception, which can be determined by turning the equipment off and on, the user is encouraged to try to correct the interference by one or more of the following measures:
- Re-position or relocate the receiving antenna.
- Increase the separation between the equipment and receiver.
- Connect the equipment into an outlet on a circuit diff erent from that to which the receiver is connected.
Before Installation
- It is very important to mount the equipment in a suitable cabinet or on a stable surface.
- Make sure the place has a good ventilation, is out of direct sunlight, away from sources of excessive dust, dirt, heat, water, moisture and vibration.
Unpacking
The equipment comes with the standard parts shown in package content. Check and make sure they are included and in good condition. If anything is missing, or damaged, contact the supplier immediately.
How To Clean Your LCD Monitor
Caution :
- To avoid the risk of electric shock, make sure your hands are dry before unplugging your monitor from or plugging your monitor into an electrical outlet.
- When you clean your monitor, do not press down on the LCD screen. Pressing down on the screen can scratch or damage your display. Pressure damage is not covered under warranty.
- Use only cleansers made specifically for cleaning monitors and monitor screens. Cleansers not made to clean monitors and monitor screens can scratch the LCD display or strip off the finish.
- Do not spray any kind of liquid directly onto the screen or case of your monitor. Spraying liquids directly onto the screen or case can cause damage which is not covered under warranty.
- Do not use paper towels or abrasive pads to clean your monitor. Using an abrasive pad or any wood based paper product such as paper towels can scratch your LCD screen.
Cleaning Your Monitor
To clean your LCD safely, please follow these steps :
- Disconnect the power cord.
- Gently wipe the surface using a clean, dry microfiber cloth. Use as little pressure as possible.
Cleaning Tough Marks and Smudges
To remove tough marks and smudges, please follow these steps :
- Disconnect the power cord.
- Spray a small amount of non-abrasive cleanser on a microfi ber cloth.
Caution : Do not spray or apply any liquids directly onto the monitor. Always apply the solution to your microfiber cloth first, not directly on the parts you are cleaning. - Gently wipe the surface. Use as little pressure as possible.
- Wait until your monitor is completely dry before plugging it in and powering it up.
RMPW-161-19
Package Content
RMPW-161-19 unit X 1
- 6ft VGA cable X 1
- Power adapter X 1
- Power cord X 1

Structure Diagram



Dimension
Front View
Bottom View
Installation
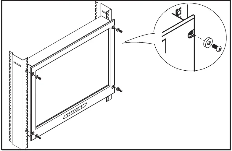
- Step 1
- Mount the display panel with M6 screw set.
- M6 screw x 4 pcs required ( Left & right side ). M6 screw sets are not provided.

- Step 2
- Fix the LCD into the rack.

- Fix the LCD into the rack.
Specifications / OSD
Product Specifications
| LCD Panel | Panel Size ( diagonal ) | 19-inch Widescreen TFT color LCD |
| Display pixel ( dots x lines ) | 1440 x 900 | |
| Brightness ( typ. ) | 250 | |
| Contrast Ratio ( typ. ) | 1000:1 | |
| Color | 16.7 M | |
| Viewing Angle ( L/R/U/D ) | 85/85/80/80 | |
| Response Time ( ms ) | 5 | |
| Dot pitch ( mm ) | 0.2835 | |
| Display Area ( mm ) | 408.24H x 255.15V | |
| Surface treatment | Anti-glare | |
| Surface hardness | 3H | |
| Backlight Type | LED | |
| MTBF ( hrs ) | 30,000 |
| Video Connectivity | Digital | HDMI | HDMI 1.4, HDCP 1.4 |
| DVI | DVI-D, TMDS single link | ||
| Analog | VGA | Analog 0.7Vp-p | |
| Composite ( BNC ) | NTSC & PAL | ||
| Plug & Play | DVI / VGA | VESA EDID structure 1.3 | |
| Synchronization | VGA | Separate, Composite & SOG |
| Audio Connectivity | Audio Input | Connector | 3.5mm stereo jack |
| Impedance / Power level | 30kΩ / 750mV | ||
| Audio Output | Connector | 3.5mm stereo jack | |
| Resistance / Power level | 30kΩ / 2.8V | ||
| Speaker | Dual Stereo Speaker | 2W x 2 |
| Power | Power Supply | Range | Auto-sensing 100 to 240VAC, 50 / 60Hz |
| Power Consumption | Screen ON | Max. 20W | |
| Power saving mode | Max. 2W | ||
| Power button OFF | Max. 1W |
| Compliance | EMC | FCC & CE |
| Safety | CE / LVD & UKCA | |
| Environmental | RoHS3 & REACH / WEEE |
| Environmental Conditions | Operating | Temperature | 0 to 55°C degree |
| Humidity | 10~90%, non-condensing | ||
| Altitude | 16,000 ft | ||
| Storage / Non-operating | Temperature | -20 to 60°C degree | |
| Humidity | 5~90%, non-condensing | ||
| Altitude | 40,000 ft | ||
| Shock | 10G acceleration (11ms duration) | ||
| Vibration | 10~300Hz 0.5G RMS random |
| Physical Specification | Product ( W x D x H ) | 480 x 58 x 310 mm 18.9 x 2.3 x 12.2 inch |
| Packing ( W x D x H ) | 529 x 124 x 495 mm 20.8 x 4.9 x 19.5 inch | |
| Net Weight | 5.8 kg / 12.8 lb | |
| Gross Weight | 7.9 kg / 17.4 lb |
| Applicable Format | DVI-D / VGA Input | PC Signal | 1440 x 900 x 60Hz |
| 1280 x 1024 x 60 / 75Hz | |||
| 1280 x 960 x 60Hz | |||
| 1280 x 768 x 60 / 75Hz | |||
| 1152 x 864 x 75Hz | |||
| 1024 x 768 x 60 / 70 / 75Hz | |||
| 848 x 480 x 60Hz | |||
| 800 x 600 x 60 / 72 / 75Hz | |||
| 720 x 400 x 70Hz | |||
| 640 x 480 x 60 / 72 / 75Hz | |||
| 640 x 400 x 70Hz | |||
| 640 x 350 x 70Hz | |||
| HDMI Input | PC Signal | Same as VGA | |
| Video Signal | 720p : 50 / 60Hz | ||
| 480p : 60Hz | |||
| 576p : 50Hz | |||
| Audio Signal | 2ch Linear PCM ( 32 / 44.1 / 48 KHz) |
On-screen Display Operation ( OSD )


- All the LED touch buttons will automatically turn off after 10 minutes of idle status ( except the Power ).
- Light up all membrane buttons, please press any button for 1 – 2 seconds ( except the Power ).
- Select another video input (only available for models with multiple video input) :
- Press the button to call up the on-screen video mode on top right corner.
- Use up/down arrow to the select the video input
- Press the button to confirm the selection
Picture
- Brightness : Adjust the screen brightness
- Contrast : Adjust the difference between the image background ( black level ) and the foreground ( white level )
- Black level : Adjust background black level of the screen
- Eco : Screen in power saving mode

Position
- H-Position : To adjust the horizontal position of the video
- V-Position : To adjust the vertical position of the video
- Clock : To auto adjust H. Size of the screen
- Phase : To fine tune the screen.
- Picture size : FULL SCREEEN / 4:3 / 5:4 / 16:10

Color
- Color temperature : User / Warm / Cool / 5400k mode and Red / Green / Blue color balance
- Sharpness : Adjust the image from weak to sharp
- Hue : Adjust the screen hue value
- Saturation : Adjust the saturation of the image color
- Dynamic luminous control : Control the dynamic brightness

OSD Set
- Language : Select the language in which the OSD menu is displayed – English
- OSD H-Position : Align the screen image left or right
- OSD V-Position : Align the screen image up or down
- OSD time out : Adjust the screen timeout
- OSD transparency : Adjust the screen transparency
- OSD rotation : Rotate the screen – 90° / 180° / 270°

Reset
- Reset : Return the adjustment back to factory setting

MISC
- Signal source : Select the signal source – DP / HDMI1 / HDMI2
- Mute : Turn off the surrounding sound
- Audio in : Auto / Line in / DP
- Volume : Adjust the volume of sound
- Sleep mode : Set the off time – 10 min / 20 min / 30 min / 50 min / 60 min / 120 min / 240 min

Options
Options : 3G / HD / SD-SDI input
Crystal Image’ SDI input is an ideal solution for the broadcast-grade video and high resolution CCTV market.
Designed for use with CIT displays, a SDI input module can support up to 1080p @60Hz resolution without using additional space or power and it comes standard with a 2-year warranty.
For SDI option, the AD board will be upgraded to AV3.0, and this comes standard with HDMI, DVI-D, VGA, S-Video, BNC and audio inputs.
| INPUT | 3G-SDI IN | BNC x 1 / 0.8Vp-p ( 75 ohm ) |
| 3G-SDI OUT | BNC x 1 / Active through, equalized & relocked |
| Standard Compliance | Video | SMPTE 425M / 274M / 296M / 125M ITU-R BT.656 |
| Audio | SMPTE 299M / 272M-C |
| Compatible Video Format | 3G-SDI | 1080p | @60 / 50Hz, 4:2:2 |
| 1080p | @30 / 25 / 24Hz, 4:4:4 | ||
| 1080i | @60 / 50Hz, 4:4:4 | ||
| 720p | @60 / 50Hz, 4:4:4 | ||
| HD-SDI | 1080p | @30 / 25 / 24Hz, 4:2:2 | |
| 1080i | @60 / 50Hz, 4:2:2 | ||
| 720p | @60 / 50Hz, 4:2:2 | ||
| SD-SDI | 480i | @60Hz, 4:2:2 | |
| ITU-R BT.656 | 576i | @50Hz, 4:2:2 |
| Compatible Audio Format | 3G-SDI | 48kHz, 16 / 20 / 24 bit, 2 CH, Synchronized Video |
| HD-SDI | 48kHz, 16 / 20 / 24 bit, 2 CH, Synchronized Video | |
| SD-SDI | 48kHz, 16 / 20 / 24 bit, 2 CH, Synchronized / Asynchronized Video |
| Max. Transmission Distance 75 ohm coaxial cable | 3G-SDI | 150m at 2.97Gb/s |
| HD-SDI | 250m at 1.485Gb/s | |
| SD-SDI | 480m at 270Mb/s |
Options : MCS ( Multi-display Control )
More control is always good. Especially when it is necessary and easy. Crystal Image provides MCS solution to control the OSD of various CIT LCD display up to 64 units.
The RS-232C is used for the communication between the PC and the first display via a 15 feet serial cable while the CAN bus is used for the various LCD displays cascade together via CAT 5/6 cable, and daisy chain up to 1,000 meters.
Designed for use with CyberView LCD displays, Austin Hughes provides a MCS input module without using additional space or power and it comes standard with a 2-year warranty.
- Please download the protocol of MCS control at : http://www.rackmountsales.com/v/pdf/citummcs.pdf
- For MCS option, casing depth will be changed.

AV4.4, HDMI, S-Video + BNC, Audio
AV4.4 Option
- HDMI ( HDMI 1.4, HDCP 1.4 )
- Audio ( Audio input & output )
BNC Option
- BNC ( Composite, BNC )
- Audio ( Audio input & output )

Touchscreen & driver
Resistive 1-pt Touch screen Specification
| Model | TRB e-Resistive |
| Technology Touch Point Method Activation Force Durability Response Time Optical Transmittance Surface Hardness Haze Glass Connector Compatibility | 5-Wire Resistive |
| Single | |
| Stylus or Finger | |
| ≤ 50g / Stylus=R0.8 | |
| 10 million touches | |
| 15 ms | |
| 80% ± 3% | |
| 3H | |
| 8% ± 3% | |
| 3.2 ±0.2 mm | |
| USB Type A | |
| Windows 7 / XP / Vista, Linux |
- USB touchscreen package includes 1 x 6ft USB cable, quick reference guideline and CD disc
- For detailed information, please refer to the attached CD disc
- As the touchscreen unit is not made of toughened glass, please handle it carefully

TRB Driver
Please follow the below steps to setup the touch screen:-
- Step 1. Run the bundled CD disc :
- Step 2. Double click the Setup.exe
- Step 3. Follow the installation instruction to finish the setup
- Step 4. After installation, run the Touch Kit program & the “4 point calibration”
Please do the initial calibration after the first setup
Options : DC Power
| Model | 12V | 24V | 48V | 125V | 250V |
| Input rating Input voltage: Input range: Input current No load | 12-Volt 9 ~ 18V 50 mA | 24-Volt 18 ~ 36V 50 mA | 48-Volt 36 ~ 75V 50 mA | 110-Volt 66 ~ 160V 35 mA | 300-Volt 180 ~ 425V 10 mA |
| Full load | 4950 mA | 2450 mA | 1220 mA | 749 mA | 600 mA |
| Output rating Output voltage: | 12-Volt | 12-Volt | 12-Volt | 12-Volt | 12-Volt |
| Output current: | 4.16A | 4.16A | 4.16A | 6.25A | 12.5A |
| Efficiency | 84% | 85% | 85% | 91% | 86% |
For DC power option :
If the unit with LCD, earthing may be required
MIL-type or Lockable Connector
| Input | Part no. | MIL Standard | |
| MIL – type Connector | DC Power *** ( Male ) | MS3470W8-33P![]() | MIL – DTL – 26482 |
| VGA *** ( Male ) | MS3470W14-15P![]() | MIL – DTL – 26482 |
- There are several additional MIL DC and VGA connector types with varying design characteristics to meet cost considerations and to provide users with the most design flexibility possible. For more information, please contact us.
| Input | Part no. | Standard | |
| Lockable Connector | DC Power ( Male ) | YM-Ext-461CP001![]() | D-type 3W3 |
| USB | LUSB – A111 – 00![]() | – |
- MIL – type or Lockable connectors above can be integrated with our LCD displays. Sale service just for connectors not provided.
The company reserves the right to modify product specifi cations without prior notice and assumes no responsibility for any error which may appear in this publication.
All brand names, logo and registered trademarks are properties of their respective owners.


































