
D 6 AU Diesel Heater
Instruction Manual

Trauma Combi D 6 AU
AUS Operating instructions
To be kept in the vehicle!

| 1 Control panel 2 Room temperature sensor 3 Cold water connection 4 Hot water connection 5 Fuel connection 6 Hot air outlets 7 Recirculated air intake 8 Waste gas discharge | 9 Exhaust air flue 10 Electronic control unit 11 Water containers (10 liters) 12 Burner 13 Heat exchanger 14 Drain valve 15 Water pressure reducer (A and B) 16 P&T relief valve |
Trademark information
Trauma Combi is referred to as Combi below.
Symbols used
The symbol indicates potential dangers.
Note with information and tips.
Intended use
The Combi diesel heater is a warm-air heater with an integrated hot water system (10-liter volume). This unit was designed for installation in motor homes and caravans. The applicable regulations must be complied with when the equipment is being installed in special vehicles and vehicles for transporting hazardous goods.
Safety instructions
In the event of a leak in the heater, fuel supply or the exhaust duct:
– switch off the heater,
– open windows and doors,
– ask an expert to inspect the entire system!
Ensuring a safe operating environment
– The unit may be operated only with appropriate Trauma control panels and accessories.
– Danger of suffocation! To ensure dissipation of exhaust gases, operate the device outdoors only. Never use in enclosed spaces or tents or breathe in the exhaust gases.
– If the cowl has been placed near or directly beneath an opening window, the device must be equipped with an automatic shut-off device in order to prevent operation with the window open.
– Do not place articles on or against this appliance.
– Do not use or store flammable materials near this appliance.
– Do not spray aerosols in the vicinity of this appliance while it is in operation.
– Do not modify this appliance.
– Do not use any aftermarket air filters or air grills. The use of such components may cause the unit to overheat.
– Keep flammable materials away from the ar- ea in front of the hot air outlets. Never block the hot air outlets.
– In order to avoid overheating of the Combi, keep the air inlets of the Combi, the air openings to the area in which the Combi heater is installed, and the spacing around the Combi heater free of obstruction.
– Keep the cowl for the exhaust duct and combustion air intake free of contamination (slush, ice, leaves, etc.) at all times.
– Danger from hot surfaces and exhaust gas. Do not touch the area around the wall cowl and do not lean any objects against the wall cowl or the vehicle.
– Do not operate the heater anywhere where flammable vapors or dust can form, e.g. in the vicinity of a fuel, carbon, wood or cereal storage facility or similar.
– Warning: Air from the discharge vent may be hot. Do not place combustible materials directly in front of the discharge vent. Keep curtains, bedding, and other flammable materials away from the vent.
– If fitting an isolation switch, the switch must be installed in such a position that the heater can not be switched off unintentionally. The heater must always be turned off at the heater control. The 12 V isolation switch should only be used after the heater has completed its cool-down cycle and has stopped completely.
– A diesel heating system always needs more power than a similar gas heating system. If there is a requirement for autarky of the same duration (service life without external power supply), Trauma recommends investigating the possibility of retrofitting a larger and/or second battery.
– Water may drip from the discharge pipe of the P&T relief valve and this pipe must be left open to the atmosphere.
– Any discharge pipe connected to the P&T relief valve is to be installed in a continuously downward direction and in a frost-free ambient.
Obligations of the operator/vehicle owner
– The operator is responsible for the water filled into the Combi water container and its quality.
– The vehicle owner is responsible for the correct operation of the Combi.
– The installer or vehicle owner must apply the yellow sticker with the warning information, which is enclosed with the appliance, to a place in the vehicle where it is clearly visible to all users (e.g. on the wardrobe door)! Ask Dometic Service to send you stickers, if necessary.
– The system must comply with the respective regulations of the country in which it is used. National regulations and rules must be followed.
– The exhaust system must be inspected by a qualified technician at regular intervals, not exceeding two years.
– If the heater is not being used, always drain the water if there is a risk of frost. No warranty claims for frost damage will be accepted.
– Ensure that the inside of the vehicle is sufficiently ventilated. When the unit is started up, there may be some smoke and/or smell due to dust or dirt. Especially if it has not been used for a long time.
– This device may be used by children aged 8 years or above and by persons with reduced physical, sensory or mental capabilities or lack of experience and/or knowledge, provided that they are being supervised or have been given instructions with regard to the safe use of the device and have understood the potential risks. Children must not use the device as a toy.
– The exhaust gas double duct (exhaust gas muffler and suction pipe) must be inspected regularly, particularly following long journeys, to check for any damage and to ensure that the connection is sound; the same applies to the mounting of the heater and the cowl.
Operation while driving
– The heater must not be used during fuelling, or in enclosed car parks, in garages, or in ferries.
– To prevent damage to the Combi from spraying water, such as when cleaning the vehicle, do not spray water directly into the wall cowl.
Safe handling of malfunctions
– If you notice unusual noises or smells, switch the Combi off.
– Danger of fire/explosion if you attempt to use a Combi that has been damaged by flooding or if the vehicle has been involved in an accident. A damaged Combi must be repaired by an expert or be replaced.
– Repairs to the heater may only be carried out by an expert.
– Have faults repaired by an expert without delay.
– Only carry out repairs yourself if the solution is described in the troubleshooting guide of this manual.
– Following a blow-back (misfire) always have the exhaust duct checked by an expert.
Maintenance / Repairs / Cleaning
– The unit may only be repaired and cleaned by an expert.
– Guarantee claims, warranty claims, and acceptance of liability will be ruled out in the event of the following: – modifications to the unit (including accessories),
– modifications to the exhaust duct and the cowl,
– failure to use original Trauma parts as replacement parts and accessories,
– failure to follow the installation and operating instructions. It also becomes illegal to use the appliance, and in some countries, this even makes it illegal to use the vehicle.
– With a new Combi or if the unit has not been used for some time, rinse all hot/cold water hoses with drinking water thoroughly before use.
Function description
The Combi diesel heater is a warm-air heater with an integrated hot water system (10-liter volume). The burner is fan-assisted, which ensures that operation is problem-free, even when on the move.
In heating and hot water mode, the heater can be used to heat the room and heat water up at the same time. If only hot water is required, select hot water mode.
– In hot water mode, the water is heated at the lowest burner setting. Once the water temperature has been reached, the burner switches off.
– In heating and hot water mode, the unit automatically selects the required operating level according to the temperature difference between the temperature set on the control panel and the current room temperature. If the hot water system has been filled, the water is automatically heated as well. The water temperature depends on the selected operating mode and the heater output.
Fuel supply/quality
– The heater requires diesel fuel, as per the Australian Fuel Standard (Automotive Diesel). Operation with any form of biodiesel is not permitted.
– When operational, the fuel display in the fuel tank must not be allowed to drop to the “low fuel” mark.
In the event that the vehicle fuel tank runs empty, the opening of the fuel removal duct is roughly at the same height as the surface of the fuel.In this state, and in particular, when the fuel in the vehicle fuel tank slops around due to vehicle movement, a large amount of air is sucked in. This leads to an irregular supply of fuel to the heater. The heater burner is unable to maintain clean combustion in this condition, leading to the formation of smoke and odors.
Operating instructions
Read the safety instructions and operating manual carefully before starting the unit.
Operating instructions can be viewed in offline mode with a mobile device and the Trauma App. Download the operating instructions when you have a WiFi connection and save them on your mobile device.
Before using for the first time, it is essential to flush the entire water supply system with clean water. If the heater is not being used, always drain the water if there is a risk of frost. No warranty claims for frost damage will be accepted.
Control panel
The control panel is described in a separate operating instruction.
Room temperature sensor
To measure the room temperature, an external room temperature sensor (2) is located in the vehicle. The location of the sensor is determined individually by the vehicle manufacturer, depending on the vehicle type; consult the operating instructions for your vehicle for further details.

Fig. 2
The temperature setting on the control panel depends on personal heating requirements and the design of the vehicle and must be determined individually.
P&T relief valve (Pressure and temperature relief valve)
Risk of scalding injury from hot water and/or tampering with the P&T relief valve!
– Do not actuate the P&T relief valve as long as the appliance is still hot.
– Do not place a plug or reducing coupling in the discharge pipe (Fig. 3 – 16a) of the P&T relief valve.
– Do not operate the water heater without a functioning P&T relief valve.
The P&T relief valve (16) is a safety component and must not be removed for any reason other than replacement. The P&T relief valve is not serviceable; if defective it must be replaced (failure to reuse an old P&T relief valve). It must be replaced by a certified service technician.
Tampering with the P&T relief valve will void the warranty.

Drain valve
The drain valve automatically equalizes the pressure in the event of overpressure in the system. When this occurs, the water is drained to the outside in intermittent bursts via a drainage socket.
This drain valve does not protect the water container from frost damage.

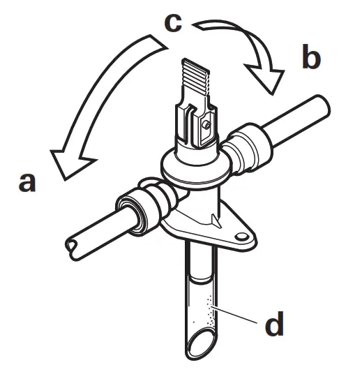
Fig. 4
a = Lever in position “Operational – closed”
b = Lever in position “Operational – closed”
c = Lever in position “Drain”
d = Drainage socket (led outside through floor of vehicle)
Opening the drain valve
– Move lever to position (c)
– vertical. The water from the hot water system drains through the drainage socket (d).
The drainage socket (d) of the drain valve must be free of blockages (slush, ice, leaves, etc.) at all times so the water can drain easily! No warranty claims for frost damage will be accepted. Closing the drain valve
– Move the lever to position (a) or (b) – horizontal.
Filling the hot water system
Check whether the drain valve is closed (see “Closing the drain valve”).
– Switch on the power for the water pump (main switch or pump switch).
– Open hot water taps in kitchen and bathroom, (set preselecting mixing taps or single-lever fittings to “hot”). Leave the fittings open for as long as it takes for the hot water system to displace the air and fill up and the water to flow without interruption.
If only the cold water system is being operated without the hot water system, the hot water system also fills up with water. To avoid frost damage, the hot water system must be drained via the drain valve, even if it was not operated.
In the event of frost, a filling may be prevented by residual water that has frozen. The hot water system can be thawed out again by briefly starting it up (max. 2 minutes). Frozen lines can be thawed out by heating up the interior.
If connected to a central water supply (rural or urban connection), a pressure reducer must be used, which will prevent pressures of greater than 280 kPa from occurring in the hot water system.
Draining the hot water system
– Switch off the power for the water pump (either by the main switch or the pump switch).
– Open hot water taps in the kitchen and bathroom.
– Open drain valve: Lever in a vertical position, position (m).
The hot water system is now drained directly to the outside via the drain valve. Place a bucket beneath the outlet to check whether the water has completely drained away (10 meters). There shall be no claims under guarantee for damage caused by frost!
Initial start-up
(or when the fuel tank has run empty)
Filling the fuel lines
The heater normally has to be started up several times to fill the fuel lines. Connect the unit to control panel to do this. The unit automatically performs 2 start attempts (initial start and repeat) per switch-on procedure with a run time of 2 minutes in each case. If no flame is detected after the repeat start, the unit switches to a fault and has to be switched off and on again at the control panel.
After a total of 15 unsuccessful starting attempts (initial and repeat start) without forming a flame, the equipment is blocked. To remove the block, please contact the Dometic Service Centre (see www.truma.com).
Check fuel lines and connections for leaks after filling the fuel lines.
Start-up
The interior can be heated with or without water, depending on the setting.
– Check to make sure the cowl is unobstructed. Remove any covers that may be present.
– Fill the hot water system with water if necessary (see “Filling the hot water system”).
– Switch on the unit on the control panel.
Switching off
– Switch the heater off on the control panel.
– The switch-off procedure may be delayed by several minutes because of internal heater operations.
Always drain water if there is a risk of frost!
Maintenance
Only original Trauma parts may be used for maintenance and repair work.
– Even outside the season, the heater should be operated once a month for about ten minutes.
– Clean the installation area at least once per year, and have the unit checked for soiling and cleaned by an expert if necessary
– The drain valve must be actuated regularly (at least twice per year) in order to remove limescale deposits and to ensure that it is not blocked.
Biofilm, deposits and limescale must be removed using chemicals to protect the unit from infestation by microorganisms. Only chloride-free products must be used in order to prevent damage to the unit.
The effectiveness of the use of chemicals to combat microorganisms in the unit can be increased by heating the water in the hot water system to 70 °C at regular intervals.
– Set water temperature to 60 °C.
– Switch on the unit.
Once the water in the water heater has reached a temperature of 60 °C, the burner will switch off. The unit must stay switched on for at least 30 minutes and no warm water may be withdrawn. The residual heat in the heat exchanger will heat the water up to 70 °C.
Fuses
The fuses are located in the electronic control unit, beneath the connector cover. When replacing a fuse, be sure to use the same type.
Device fuse: 10 A – slow – 5 x 20 mm (T 10 A)
Burner fuse: 20 A – slow – 6.3 x 32 mm

Fig. 5
Disposal
The heater unit must be disposed of in accordance with the administrative regulations of the country in which it is in use. National regulations and laws must be observed.
Technical data
(found by Trauma Test conditions)
Protection type/protection class IP21 / class I
Fuel,
as per the Australian Fuel Standard (Automotive Diesel). Operation with any form of biodiesel is not permitted.
Water volume
10 liters
Maximum working water pressure
500 kPa
P&T relief valve setting
500 kPa – 99 °C – 10 kW
Heating up time from approx. 15 °C to approx. 60 °C
Hot water system approx. 20 minutes (measured according to EN 15033) Heater + hot water system approx. 80 min.
Pump pressure
max. 280 kPa
System pressure
max. 450 kPa
Rated thermal output (automatic output levels) 2000 / 4000 / 6000 W
Fuel consumption 220 – 630 ml/h (110 ml/h during normal operation with a moderate heat output of 1000 W)
Air delivery volume (free-blowing without hot-air pipe) max. 287 m³/h
Current input at 12 V
Heater + hot water system 1.8 – 7 A (in regular operation, between “Off” and “lowest operating level” less than 1.8 A). Heating hot water system without an operational heater, max. 1.8 AStand-by: approx. 0.001 A
Weight
(without water)
Heater unit: 16.2 kg Heater unit with
peripheral devices: 17.6 kg
Water pressure reducer
Flow range water: 0 – 10 liters/min.
Maximum inlet pressure: 700 kPa
Maximum outlet pressure: 200 kPa
![]()
E1 122R 000232
E1 10R 035277
Dimensions

The right to make technical modifications is reserved!
Faults
Faults – Heater
Descriptions of possible fault causes and a troubleshooting guide can be found in the operating instructions for the control panel that is installed.
Faults – Water supply
Possible fault causes and a troubleshooting guide – See Troubleshooting guide (water supply)”. Troubleshooting guide (water supply)
Troubleshooting guide (water supply)
| Fault | Cause / Rectification |
| Water takes an extremely long time to heat up. | The water container furred. / Descale water system (see maintenance). |
| Water running away – hot water system cannot be filled. | The drain valve is open. / Close the Drain valve. |
| The hot water system cannot be drained, even though the drain valve is open. | Drain valve drainage socket closed. / Check to open for soiling (slush, ice, leaves, etc.) and remove if necessary. |
| Water dripping/flowing from the drainage socket of the drain valve. | Water pressure too high. / Check pump pressure (max. 280 kPa). If the hot water system is connected to a central water supply (rural or urban connection), a pressure reducer must be used, which will prevent pressures higher than 280 Pa from occurring. |
| When opening the cold water tap, hot water comes out. | Hot water flows back through the cold water supply. / Fit a non-return Calvin the cold water supply (refer to installation instructions “Water connection”). |
If these measures do not resolve the fault, please contact the nearest Dometic Service.
Accessories
Trauma CP plus
Digital control panel Truma CP plus (part no. 36021-01) with automatic air conditioning system for Trauma heaters Combi and Trauma air conditioning systems Aventa Eco, Aventa comfort (from serial number 24084022 – 04/2013), Saphir Comfort RC and Saphir compact (from serial number 23091001
– 04/2012) – The automatic air conditioning system automatically controls the heater and the air conditioning system until the required temperature is reached in the vehicle.

Fig. 7
Accessories (without picture) for the control panel
– Cable available in different lengths
Trauma warranty policy
The warranty is given by Leisure-Tec Australia Pty. Ltd., 50 Metrolink Circuit, Campbellfield, Victoria, 3061, Australia for 12 months from the date of purchase against any defect arising from faulty materials or workmanship.
Repairs will be carried out during normal business hours only by Leisure-Tec Australia Pty. Ltd., or its duly authorized service agents, and are subject to the warranty conditions and exclusions hereunder.
Warranty conditions
– The company will only provide service on presentation of proof of purchase, on either the Trauma product or the Caravan / RV / Pleasure Craft in which the Trauma product has been installed, to any authorized service agent. The purchaser must allow the service agent to photocopy the proof of purchase to facilitate his claim to the manufacturer.
– Warranty repairs can only be performed by authorized service agents and under no circumstances will Leisure-Tec reimburse repairs carried out by unauthorized persons. Tampering with any part of the product by unauthorized personnel will automatically void the warranty.
– The product must be used solely for domestic purposes. If the product is used for commercial purposes the warranty is 6 months only
– Where applicable, the products must be used on the appropriate electrical voltage, gas type, and pressure, or fuel source.
– If at any time during the warranty period any part or parts are replaced with a part or parts not supplied or approved by Trauma, this warranty shall immediately become void.
Important notice
Before calling a service technician please check carefully the operating instructions, warranty terms, and conditions. If the product fails for any of the reasons detailed therein or is faulty due to abuse, misuse or improper installation, then a service fee shall be charged to the purchaser.
If you have any queries regarding the interpretation of the warranty you should contact Leisure-Tec Australia Pty. Ltd.
Whilst this book represents service outlets at the time of printing, changes occur from time to time. Should you have any queries or wish to locate your nearest authorized service agent please contact Leisure-Tec Australia Pty. Ltd.
The warranty does not cover
– Any heater which has been:
(a) Subject to misuse, neglect, accident or alteration by any person.
(b) Damaged or destroyed by fire, flood, an act of God or other inevitable accident.
– Fair wear and tear.
– Damage from foreign substances such as dirt or liquid.
– Travelling expenses or call-out fees to and from authorized service agents’ premises.
– Accommodation or Site Expenses.
– Cleaning of the system or cleaning and adjustment of the gas system. This is considered to be a part of normal product maintenance.
– Non operation of the heater or resultant damage to the unit where the heater has been operated in an out-of-level situation. – Freight cost of the appliance or parts, to or from, point of service or transit damage.
– Leisure-Tec / Trauma is not responsible for resultant loss or damage sustained by the purchaser.
– Non operation of the appliance or resultant damage to the unit where the appliance has not been installed, ventilated, flued, or operated in accordance with the manufacturer’s instructions.
Apart from any warranties implied by the Trade Practices Act 1974 or any relevant State legislation all other warranties express or implied whether arising by virtue of statute or otherwise are hereby excluded.
AUS In Australia, always notify the Leisure-Tec Service Centre if problems are encountered; in other countries, the relevant service partners should be contacted (www.truma.com).
Having the equipment model and the serial number ready (see type plate) will speed up processing.
Leisure-Tec Pty. Ltd.
50 Metrolink Circuit
Campbellfield, VIC 3061
Australia
Service (Australia)
Telephone: +61 1300 07 2018
E-Mail: [email protected]


















