iNet redy
Combi 2E Air and Water Heater
Instruction Manual
Operating instructions
To be kept in the vehicle
Combi (E)

Figure 1
| 1 Control panel, digital or analog (no picture) | 10 Electronic control unit |
| 2 Room temperature sensor | 11 Water container (10 liters) |
| 3 Cold water connection | 12 Burner |
| 4 Hot water connection | 13 Heat exchanger |
| 5 Gas connection | 14 Power electronics |
| 6 Warm air outlets | 15 Heating rods 230 V ⁓ ( Combi E only) |
| 7 Circulated air intake | 16 Overheating switch 230 V ⁓ |
| 8 Exhaust gas discharge | 17 FrostControl (safety / drain valve – UK version optional) |
| 9 Combustion air infeed | 18 Drain valve (UK version) |
Symbols used
![]() | Symbol indicates possible hazards. |
![]() | Note containing information and tips. |
![]() | Observe the ESD regulations. |
Intended use
Proper use
- The appliance is approved solely for installation and operation in caravans of Vehicle Class O and motor caravans of Vehicle Class M1, when the gas system is installed in accordance with EN 1949. National legislation and regulations for operating and testing gas installations (e.g. DVGW Work Sheet G 607 in Germany) must be observed.
- The appliance may be used only to heat drinking water and the vehicle interior.
- If the appliance is operated while the vehicle is in motion, facilities must be installed to prevent the uncontrolled escape of liquid gas in the event of an accident (according to UN-ECE Regulation 122).
- If the appliance is being used for commercial purposes, the operator must ensure that special statutory and insurance regulations of the respective destination country are observed (e.g. DGUV regulations in Germany).
Improper use
- All other uses not listed under proper use are improper and therefore prohibited. This applies e.g. to installation and operation in:
• Motor buses (vehicle class M2 and M3),
• Commercial vehicles (vehicle class N),
• Boats and other water vehicles,
• Hunting lodges, weekend homes or awnings. - Installation in trailers and vehicles used to transport hazardous goods is prohibited.
- It is prohibited to heat liquids other than drinking water (e.g. cleaning, descaling, disinfection and preserving agents).
- Defective appliances must not be used.
- Appliances that are not installed or used in accordance with the installation and operating instructions may not be used.
Safety instructions
For safe and proper use, carefully read, follow and keep for later use the operating instructions and other documents that are supplied with the product.
The respective valid laws, directives, and standards must be observed.
Not following the rules in the operating and installation instructions can result in serious material damage and serious risk to the health or life of persons. The appliance’s operator or user is solely responsible for such damage.
Only competent and trained staff (experts) are permitted to install and repair the Trauma product and to carry out the function test, at the same time observing the installation and operating instructions and the currently recognized technical regulations. Experts are persons who, based on their specialist instruction and training, their knowledge and experience with Trauma products, and the relevant standards, can carry out the necessary work properly and identify potential hazards.
What must I do if I smell gas?
- Avoid ignition sources, e.g. extinguish all naked flames, do not actuate any electrical switches or use any mobile phones or radios in the vehicle, do not start the vehicle’s engine, do not operate any appliances, do not smoke.
- Open windows and doors
- Evacuate all persons from the vehicle.
- Shut off gas cylinders and/or shut off the gas supply from the outside.
- Has the entire gas system been inspected and repaired by experts?
- Do not put the gas system back into operation until it has been inspected and repaired!
Working on the appliance, in the installation compartment
Possible danger from electric shock or explosion as a result of escaping gas!
Before starting any work:
- Switch off the appliance
- Close off the gas supply
- Disconnect the appliance from the power supply and mains (230 V ) at all poles
Possible risk of cut injuries from sharp edges!
- Wear suitable protective gloves and goggles when carrying out all work.
A safe operating environment
- The appliance may be operated only with appropriate Trauma control panels and accessories.
- It is not permissible to operate the appliance without a warm air duct.
- Danger of toxic exhaust fumes. The heater’s exhaust can be toxic in enclosed spaces (e.g. garages, workshops, awnings). If the vehicle is parked in closed rooms:
• Shut off the fuel supply to the heater
• Deactivate the time switch
• Switch off the heater at the control panel.
• Switch off the heater via the Trauma App if a Trauma iNet Box is installed. - If the cowl has been placed near or directly beneath a window that can be opened, the appliance must be equipped with an automatic shut-off device in order to prevent operation with the window open.
- Possible fire hazard from higher temperatures!
• Never use heat-sensitive items (e.g. spray cans, candles) or flammable materials, liquids gaseous substances, or vapors near to the appliance, in the installation compartment, or in the appliance itself
• Never block the warm air vents of the warm air distributor or bring heat-sensitive objects or flammable materials, liquids, gaseous substances, or vapors into or into the vicinity of the warm air distributor
• The openings for the circulated air intake, the installation compartment and the installation compartment itself must be kept free of obstacles so that the appliance does not overheat - It is prohibited to use products containing chlorine on and in the appliance.
- Keep the cowl for the exhaust duct and combustion air infeed free of contamination (slush, ice, leaves etc.) at all times.
- Danger from hot surfaces and exhaust gas.
Do not touch the area around the wall cowl and do not lean any objects against the wall cowl or the vehicle.
Obligations of the operator/vehicle owner
- The operator is responsible for the water with which the Combi boiler is filled, and for its quality.
- Maximum feed water pressure, see “Technical data” on page 10.
- The vehicle owner is responsible for the correct operation of the appliance.
- The Combi has no built-in frost protection function. Freezing water can cause serious damage to the appliance. The operator is responsible for protecting the Combi against frost damage, e.g. by using the Trauma FrostControl. In appliances without FrostControl (e.g. the UK version) or when the appliance is not in operation, it is essential to drain off the water content if there is a risk of frost. No claims may be made under the warranty for damage caused by frost.
- The installer or vehicle owner must affix the supplied yellow sticker with the warning information in a location in the vehicle where it is clearly visible to all users (e.g. the wardrobe door). Missing stickers can be requested from Trauma.
- Liquid gas systems must comply with the technical and administrative regulations of the respective country of use (e.g. EN 1949 for vehicles in Europe). The national legislation and regulations (e.g. DVGW Work Sheet G 607 for vehicles in Germany) must be observed.
- The vehicle owner must arrange for the inspection of the gas system by a liquid gas expert (DVFG, TÜV, DEKRA) in accordance with the relevant national regulations (in Germany every 2 years). The test must be confirmed on the respective test certificate (G 607).
- Pressure-regulating devices and hoses must be replaced with new ones no more than 10 years after their date of manufacture (every 8 years if used commercially).
- Inspect hose lines regularly and have them replaced if they are broken.
Safe operation
- The exhaust cowl must not be blocked. It is forbidden to fit cowl covers.
- The appliance may only be used if the connection cover for cable connections is fitted.
- The use of upright gas cylinders from which gas is taken in the gas phase is mandatory for the operation of gas pressure regulation systems, gas equipment, and gas systems. Gas cylinders from which gas is taken in the liquid phase (e.g. for forklifts) must not be used, since they would result in damage to the gas system.
- The operating pressure of the gas supply (30 bar) and of the appliance (see type plate) must be the same.
- In Germany, only pressure regulating equipment that complies with DIN EN 16129 (in vehicles) with a fixed output pressure of 30 mbar may be used for the gas system. The flow rate of the pressure regulating equipment must correspond to at least the maximum consumption of all appliances installed by the system manufacturer.
- We recommend the Trauma MonoControl CS gas pressure regulator for vehicles, and also the DuoControl CS gas pressure regulator for the two-cylinder gas system.
- At temperatures of around 0 °C and below, the gas pressure regulator or the changeover valve should be operated with the Essex regulator heater.
- Suitable hoses that meet national regulations must always be used in the respective country for which the equipment is destined.
- During the initial start-up of a brand new appliance, small quantities of fumes and a slight odor may briefly occur. When the appliance is started up after a particularly long period of non-use, there may be some smoke and/or smell due to dust or dirt. It is a good idea to allow the appliance to run at maximum output for a few minutes for the purpose of self-cleaning and to ensure that the area is well ventilated.
- Hot air can be dangerous particularly to toddlers, children, older or infirm people, and can cause burn injuries. The air flowing out can reach high temperatures at the hot air vents. Check the air temperature at the warm air outlets regularly.
- Hot water can be dangerous particularly to toddlers, children, older or infirm people, and can cause burn injuries. Check the water temperature every time before taking a shower or bath.
- Caution! Some parts of the product can become very hot and cause burn injuries. Particular caution is required when children and vulnerable persons are present.
- Children aged under 3 years must be kept away unless they are under constant supervision.
- Children aged over 3 years and under 8 years may only switch the appliance on and off if they are under supervision or if they have been instructed on how to safely use the appliance and have understood the potential dangers, and provided that the appliance is located or installed in its normal place of use. Children aged over 3 years and under 8 years may not insert the plug into the socket, regulate the appliance, clean the appliance, and/or perform user maintenance.
- This appliance may be used by children from 8 years old and by persons with reduced physical, sensory or mental capabilities or with a lack of experience and knowledge only if they are supervised or have been instructed in the safe use of the appliance and understand the resulting risks. Children must not be allowed to play with the appliance.
- The integrity and tight fit of the exhaust double duct must be checked regularly, particularly at the end of long trips. Also, check the mounting of the appliance and the cowl.
Operation while driving
- For heating, while driving, the directive UN ECE R 122 for motor caravans and cara-vans specifies a safety shut-off device in order to prevent the uncontrolled escape of gas in the event of an accident. The Trauma MonoControl CS gas pressure regulator satisfies this requirement. Throughout Europe, a type-tested liquid gas heater may be used while driving (according to Directive UN ECE R 122) if the system includes this regulator with an appropriately configured gas installation. National regulations and rules must be followed.
- If no safety shut-off device (e.g. as contained within the Trauma MonoControl CS gas pres-sure regulator) is installed, the gas cylinder must be closed when driving and information signs must be attached in the gas cylinder protection box and in the vicinity of the control panel.
Never use LP gas appliances when refueling, in multi-story car parks, in garages, or in ferries. Switch off the LP gas appliance at the control panel. Make sure that the LP gas appliance can never be switched on via a remote control e.g the Trauma App.- To prevent damage to the appliance from spraying water, such as when cleaning the vehicle, do not spray water directly into the cowl.
Troubleshooting
- If you notice unusual noises or smells, close off the gas supply and switch off the Combi.
- Danger of fire/explosion if you attempt to use a Combi that has been damaged by the ingress of liquid (e.g. beverages, flooding, leaks) or if the vehicle has been involved in an accident. A damaged Combi must be repaired by an expert or replaced.
- Have faults repaired by an expert without delay
- Only carry out repairs yourself if the solution is described in the troubleshooting guide of these operating instructions.
- Following a deflagration (misfire), have the appliance and exhaust gas system inspected by an expert.
Maintenance/Repairs/Cleaning
- The appliance may only be repaired and cleaned by an expert.
- Maintenance, repairs, and cleaning must not be done by children.
- Combi E only: If this appliance’s power supply line is damaged, it must be replaced by the manufacturer, the manufacturer’s Customer Service or a similarly qualified person so as to prevent hazards.
- In particular, the following will render war-ranty and guarantee claims void and lead to exemption from liability claims:
- Modifications to the appliance (including accessories), – Modifications to the exhaust gas system and the cowl, – Using replacement and accessory parts other than original Trauma parts, – Failure to follow the installation and operating instructions.
The appliance’s operating permit, and consequently also the vehicle’s operating permit in some countries, are also rendered void. - With a new Combi or if the appliance has not been used for some time, thoroughly rinse all hot/cold water hoses with drinking water before use.
Function description (Combi)
The liquid gas heater Combi is a warm-air heater with an integrated hot water boiler (10-liter volume). The burner is fan-assisted, which ensures that operation is problem-free, even when on the move.
In heating mode, the heater can be used to heat both the room and water simultaneously. If only hot water is required, this is possible in hot water mode.
- In hot water mode, the water is heated at the lowest burner setting. Once the water temperature has been reached, the burner switches off.
- In heating mode, the appliance automatically selects the required operating level according to the temperature difference between the temperature set on the control panel and the current room temperature. If the boiler has been filled, the water is automatically heated as well. The water temperature depends on the selected operating mode and the heater output.
Function description(Combi E)
(in conjunction with the Truma CP plus control panel)
At a temperature of approximately 3 °C at the automatic FrostControl safety/drain valve, the valve will open and drain the boiler.
The liquid gas heater Combi E is a warm-air heater with an integrated hot water boiler (10 liters volume). The burner is fan-assisted, which ensures that operation is problem-free, even when on the move. The appliance also has heating elements for electrical operation.
In heating mode, the heater can be used to heat both the room and water simultaneously. If only hot water is required, this is possible in hot water mode.
At a temperature of approximately 3 °C at the automatic FrostControl safety/drain valve, the valve will open and drain the boiler.
3 different options are available for operating the appliance:
- only gas mode Propane / Butane for autonomous use
- only electric mode 230 V,’ for stationary use on campsites
- or gas and electric mode — mixed-mode possible only in heating mode.
Heating mode
In heating mode, the appliance automatically selects the required operating level according to the temperature difference between the temperature set on the control panel and the current room temperature. If the water container has been filled, the water is automatically heated as well. The water temperature depends on the selected operating mode and the heater output.
All 3 energy selection options can be used.
- In gas mode, the appliance automatically selects the operating level that is required.
- In electric mode output of 900 W (3.9 A) or 1800 W (7.8 A) can be manually preselected in accordance with the fuse protection at the campsite. If more output is required (e.g. heating up or low outside temperatures) gas or mixed-mode should be selected so that enough heating power is always available.
- In mixed mode, 230 V electric mode is preferred if the power requirement is only low (e.g. for maintaining the room temperature). The gas burner is not enabled until the power requirement is higher, and is the first to switch off during heat-up operations.
Hot water mode
(with filled water container only)
Gas mode or 230 V electric mode is used for hot water preparation. The water temperature can be set to 40 °C /ECO* or 60 °C / HOT*.
* ECO, HOT only with control panel Truma CP plus.
- In gas mode, the water is heated at the lowest burner setting. Once the water temperature has been reached, the burner switches off.
- In electric mode output of 900 W (3.9 A) or 1800 W (7.8 A) can be manually selected in accordance with the fuse protection at the campsite.
Mixed mode is not possible. With this setting, the appliance automatically selects the electric mode. If the 230 power supply is disconnected or fails, the heater automatically switches over to gas mode.
Operating instructions
Read the safety instructions and operating instructions carefully before starting the appliance.
Operating instructions can be viewed in offline mode with a mobile device and the Truma App. Download the operating instructions when you have a WiFi connection and save them on your mobile device.
Before initial use, be sure to flush the entire water supply thoroughly with clear water.
The materials of the appliance that come into contact with water are safe for drinking water (see Manu- facturer’s Declaration, www.truma.com – Manufacturer’s Declaration)
Control panels
The control panels are described in separate operating instructions.
The temperature setting on the control panel depends on personal heating requirements and the design of the vehicle and must be determined individually.
Room temperature sensor
To measure the room temperature, an external room temperature sensor (2) is located in the vehicle. The position of the sensor is determined by the vehicle manufacturer depending on the vehicle model. More information can be found in the operating instructions for your vehicle.
Figure 2
Safety/drain valve
A.FrostControl
(Safety/drain valve with integral frost protection/optional in the UK version)
FrostControl is a currently safety/drain valve. When there is a danger of frost, it automatically drains the contents of the boiler through a drainage socket. If excessive pressure is present in the system, pressure will be automatically intermittently equalized through the pressure relief valve.
Figure 3
a = rotary switch position “On”
b = pushbutton position “Closed”
c = pushbutton position “Drain”
d = drainage socket (led outside through floor of vehicle)
Opening the safety/drain valve
- Turn the rotary switch by 180° until it engages, whereby the pushbutton pops out (position c). The water from the water container drains through the drainage socket (d). The FrostControl drainage socket (d) must be free of contamination (slush, ice, leaves, etc.) at all times so the water can drain out easily!
No claims may be made under the warranty for damage caused by frost.
Closing the safety/drain valve
- Check whether the rotary switch is set to “Operation” (position a) i.e. is parallel to the water connection and is engaged.
- Close the safety/drain valve by pressing the pushbutton. The pushbutton must engage in position (b) “closed”.
Only when the temperature at the safety/drain valve is above approx. 7 °C can it be closed manually with the pushbutton (position b) and the boiler filled.
Truma supplies a heating element (part no. 70070-01) as an accessory, which is plugged into the FrostControl and fixed in place with a retaining bracket. This heating element heats the FrostControl to approx. 10 °C when the Combi is switched on. This means that the boiler can be filled sooner, irrespective of the temperature in the installation compartment.
Automatic opening of the safety/drain valve
If the temperature at the safety/drain valve is below about 3 °C, it will open automatically and the pushbutton pops out (position c). The water from the boiler drains through the drainage socket (d).
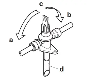
B. Drain valve
(Drain valve without frost protection/standard in the UK version)
The drain valve automatically equalizes the pressure in the event of overpressure in the system. When this occurs, the water is drained to the outside in intermittent bursts via a drainage socket.
This drain valve does not protect the water container against frost damage.
Figure 4
a = Lever in position “Operational – closed”
b = Lever in position “Operational – closed”
c = Lever in position “Drain”
d = Drainage socket (routed outside through floor of vehicle)
Opening the safety/drain valve
- Move the lever to position (c) – vertical. The water from the boiler drains through the drainage socket (d).
The drainage socket (d) of the safety/drain valve must be free of contamination (slush, ice, leaves, etc.) at all times so the water can drain out easily! No claims may be made under the warranty for damage caused by frost.
Closing the safety/drain valve
- Move the lever to the horizontal position (a) or (b).
Filling the water
Check whether the safety/drain valve is closed (see “Closing the safety/drain valve”).
When the temperature at FrostControl is below approx.
7 °C, first switch on the heater to warm the installation compartment and FrostControl. After several minutes, when the temperature at FrostControl is above 7 °C, the safety/drain valve can be closed.
- Switch on the power for the pump assembly (main switch or pump switch).
- Open the hot water taps in the kitchen and bathroom (set preselecting mixing taps or single-lever fittings to “hot”). Leave the valves open until the boiler has been filled by displacing the air and water is flowing without interruption.
Even if only the cold water system is being operated without hot water, the boiler will still fill with water. To avoid frost damage, the boiler must be drained via the safety/drain valve, even if it was not operated.
In the event of frost, a filling may be prevented by frozen residual water. The boiler can be thawed by turning it on briefly (no more than 2 minutes). Frozen lines can be thawed by heating the interior.
If the boiler is connected to a central water supply (rural or urban connection), a pressure reducer must be used, which will prevent pressures higher than 2.8 bar from occurring.
Draining the water container
If the motor home/caravan is not being used during the frosty period, it is imperative to drain the boiler!
- Switch off the power to the pump assembly (main switch or pump switch).
- Open hot water taps in kitchen and bathroom.
In order to check the water that is flowing out, place an appropriate container (capacity 10 liters) beneath the drainage socket (d) of the safety/drain valve. - Open safety/drain valve (see “Opening the safety/drain valve”).
The boiler will now be drained directly to the outside via the safety/drain valve. Check whether all of the water in the water container (10 litres) has been completely drained into the container via the safety/drain valve.
No claims may be made under the warranty for damage caused by frost.
Start-up
Combi
The interior can be heated either with or without water, depending on the setting.
Combi E (in conjunction with Truma CP plus control panel) The interior can be heated in gas, electric, and mixed-mode, either with or without water depending on the setting.
Check whether the power supply fuse protection at the campsite is adequate for the 900 W (3.9 A) or 1800 W (7.8 A) that have been selected using the power selector switch.
The cable drum must be fully unwound in order to prevent the power cable from overheating.
- Check to make sure the cowl is unobstructed. Be sure to remove any covers that may be present.
It is forbidden to fit cowl covers. - Open the gas cylinder and the quick-acting valve in the gas supply line.
- If necessary, fill the water container with water (see “Filling the water container”).
- Switch on the appliance on the control panel.
Switching off
- Switch the heater off on the control panel.
- The switch-off procedure may be delayed by several minutes because of internal heater operations.
Always drain water contents if there is a risk of frost!
If the appliance is not used for a long period, close the quick-acting valve in the gas supply line and the gas cylinder.
Maintenance
Maintenance, repairs and cleaning must not be done by children.
Work by experts
- Have an expert check the appliance for dirt and clean it if necessary.
Work to be done by the user
- Clean the compartment where the appliance is installed at least once annually.
- The safety/drain valve must be operated regularly (at least twice annually) to remove limescale deposits and to be certain that it is not blocked.
Notes on cleaning, sterilizing and caring
We recommend the use of suitable, commercially available products to clean, sterilize and maintain the boiler. Products containing chlorine must not be used.
The effectiveness of the use of chemicals to combat microorganisms in the appliance can be increased by heating the water in the boiler to 70 °C at regular intervals.
- Select “gas mode” on the control panel.
- Set the water temperature to 60 °C.
- Switch on the appliance.
Once the water in the water container has reached a temperature of 60 °C, the burner will switch off. The appliance must remain switched on for at least 30 minutes and no hot water may be removed. The residual heat in the heat exchanger will heat the water up to 70 °C.
Solar systems
When a solar system is used, EN 1648 stipulates that a battery (with charge regulator) or a voltage regulator (output voltage 11 V – 15 V; alternating voltage ripple < 1.2 Vss) must be connected between the solar system and the heater at all times. Otherwise, the heater electronics can be damaged by an irregular voltage supply from the solar system.
- When disconnecting the battery, always disconnect the charge regulator from the battery first.
- When connecting the battery, always connect the charge regulator to the battery last.
We provide no warranty on heater electronics that have been damaged by an irregular voltage supply from the solar system.
Fuses
Electrostatic charging can destroy electronics.
Ensure that potential compensation is present before touching the electronics.
Fuse 12 V ![]()
Before opening the connection cover, disconnect the appliance at all poles from the 12 V voltage supply.
The fuse is in the electronics beneath the connection cover. Always replace the fuse of the appliance with an identical fuse.
Appliance fuse: 10 A – quick-acting – 5 x 20 mm (F 10 A)
Figure 5
After replacing the fuse and resetting the overheating protection, the connection cover must be put back in order to protect the appliance electronics against dripping water.
230 V ⁓ fuse ( Combi E)
Risk to life from electric shock when changing the fuse or the power supply lines.
- The fuse and the power supply lines must only be replaced by an expert.
- The appliance must be disconnected from the mains at all poles the electronics cover is opened.
The fuse is in the power electronics (14) beneath the electronics cover.
This fine wire fuse must always be replaced with a fuse of the same type: 10 A, quick-acting, interrupting capacity “H”.

Overheating protection 230 V ⁓( Combi E)
230 V ⁓ heating mode has a mechanical overheating protection switch. If the 12 V power supply is interrupted, for example during operation or during the after-run period, the temperatures within the appliance could activate the overheating protection.
Figure 7
Resetting the overheating protection: Allow the heater to cool, remove the connector cover and press the reset button.
After replacing the fuse and resetting the overheating protection, the connection cover must be put back in order to protect the appliance electronics against dripping water.
Technical data
Determined in accordance with EN 624 or Truma test conditions
Gas type
Liquefied gas (propane / butane)
Operating pressure 30 mbar (see type plate) Water capacity 10 liters
Heating time from approx. 15 °C to approx. 60 °C
Boiler approx. 23 minutes (measured according to EN 15033) Heater + boiler approx. 80 min.
Pump pressure
max. 2.8 bar (280 kPa) System pressure max. 4.5 bar (450 kPa)
Rated heat output (automatic operating levels)
| Gas mode | |
| Combi 2 E UK | 2000 W |
| Combi 4 (E): | 2000 W / 4000 W |
| Combi 6 (E): | 2000 W / 4000 W / 6000 W |
Electrical mode
Combi 2 E UK/4 E/6 E: 900 W/1800W Mixed mode (gas and electric)
Combi 2 E UK /
| Combi 4 E: | max. 3800 W |
| Combi 6 E: | max. 6900 W |
Gas consumption
| Combi 2 E UK: | 160 g/h |
| Combi 4 (E): | 160 – 335 g/h |
| Combi 6 (E): | 160 – 460 g/h |
Standby heat requirement (all appliances)
Gas mode 8.6 g/h (measured in accordance with EN 15033)
Additional information according to EN 624
| Combi 2 E UK: | Qn = 2.4 kW (Hs), 170 g/h, C13, I3 B/P(30) |
| Combi 4 (E): | Qn = 4.8 kW (Hs), 345 g/h, C13, I3 B/P(30) |
| Combi 6 (E): | Qn = 6.8 kW (Hs), 480 g/h, C13, I3 B/P(30) |
Destination countries
Combi 2 E UK: GB, IE
Combi 4 (E) / 6 (E):
DE, AT, CH, DK, FI, NL, NO, SE, SK, CH, CZ, CY, BE, IT, RO, GR, LI, LU, IS, PL, EE, LT, LV, MC, MT, PT, SI, HR, HU, FR, BG, SM, TR, GB, IE
Airflow rate (free-blowing without warm air duct)
Combi 2 E UK / Combi 4 (E) / Combi 6 (E):
with 3 warm air outlets max. 249 m³/h
with 4 warm air outlets max. 287 m³/h
Power consumption at 12 V![]()
Heater + boiler
Combi 2 E UK /
| Combi 4 (E): | 1.2 – 6.5 A |
| Combi 6 (E): | 1.4 – 6.5 A |
Boiler heating maximum 0.5 A
Quiescent current approx. 0.001 A
Heating element – FrostControl (optional): maximum 0.4 A
Power consumption at 230 V![]()
Combi 2 E UK / Combi 4 E / Combi 6 E
3.9 A (900 W) or 7.8 A (1800 W)
Protection type
IP 21
| Weight (without water) Heater: Heater with periphery: | Combi 2 E UK Combi 4 E Combi 6 E 15.5 kg 16.0 kg | – Combi 4 Combi 6 14.4 kg 14.9 kg |

Dimensions
Figure 8
Subject to technical changes.
Disposal
The appliance must be disposed of in accordance with the administrative regulations of the respective country in which it is used. National regulations and laws (in Germany, for example, the End-of-Life Vehicle Regulation) must be observed.
Faults
Faults – Heater
Descriptions of possible fault causes and a troubleshooting guide can be found in the operating instructions for the control panel that is installed.
Faults – Water supply
Possible fault causes and a troubleshooting guide – See “Troubleshooting guide (water supply)”.
Troubleshooting guide (water supply)
| Error | Cause / Remedy |
| Water takes an extremely long time to heat up. | Water container furred. /Descale water system (see maintenance). |
| Water running off – boiler cannot be filled. | safety/drain valve open. /Close safety/drain valve. |
| A boiler cannot be drained, even though the safety/drain valve is open. | Safety/drain valve drainage socket blocked. / Check to open for soiling (slush, ice, leaves, etc.) and remove if necessary. |
| Water dripping/flowing from the drainage socket of the safety/drain valve. | Water pressure too high. /Check pump pressure (max. 2.8 bar). If the boiler is connected to a central water supply (rural or urban connection), a pressure reducer must be used that will prevent pressures higher than 2.8 bar from occurring in the boiler. |
| After the heater has been switched off, the FrostControl opens. | At temperatures of less than approx. 3 °C the FrostControl opens automatically / Switch heater on / Without heater operation the FrostControl cannot be closed again until the temperature reaches approx. 7 °C / Use heating element for FrostControl. |
| The FrostControl can no longer be closed. | Temperature at FrostControl less than approx. 7 °C / Switch heater on / Without heater operation the FrostControl cannot be closed again until the temperature reaches approx. 7 °C. The rotary switch is not set to “Operation”. / Turn the rotary switch of the FrostControl to “Operation”, then press the pushbutton until it engages. |
If these actions do not remedy the problem, please contact Truma Service.
Accessories
Truma CP plus
Digital Truma CP plus control panel with automatic climate control for the iNet-capable Truma heaters and Truma air conditioning systems.

- The automatic climate control function automatically controls the heater and the air conditioning system until the required temperature is reached in the vehicle.
- Can be extended with the Truma iNet Box. With this, all TIN bus-capable Truma appliances can also be controlled via the Truma App
Truma iNet Box
The Truma iNet Box for simple networking and control of Truma appliances with a smartphone or tablet computer using the app.

- Simple installation and start-up via the Truma App
- Can be extended with the update function, which ensures that it is always up to date
Truma CP classic
Analogue Truma CP classic control panel (not for Combi E).

FrostControl heating element
Heating element with 1.5 m connector cable and retaining bracket.

Other accessories (not illustrated) for control panels
- Control panel cable in various lengths (maximum 10 m)
Manufacturer’s Warranty (European Union)
Scope of Manufacturer’s Warranty
As the Manufacturer of the appliance, Truma undertakes a warranty towards the Consumer that covers any material and/or manufacturing defects of the appliance.
This Warranty is applicable in EU member states as well as in Iceland, Norway, Switzerland, and Turkey. A Consumer is a natural person who was the first one to purchase the appliance from the Manufacturer, OEM or dealer and who neither resold the appliance in a commercial or self-employed professional capacity nor installed it for a third party in such a capacity.
The Manufacturer’s Warranty covers any of the aforementioned defects that occur within 24 months upon concluding the purchase agreement between the seller and the Consumer. The manufacturer or an authorized service partner undertakes to remedy such defects through subsequent fulfillment, i.e. at its discretion either by repairing or replacing the defective item. Defective parts shall become the property of the manufacturer or the authorized service partner. If the appliance is no longer manufactured at the time of defect notification and if replacement delivery has been opted for, then the Manufacturer may deliver a similar product.
If the Manufacturer remedies a defect under its Warranty commitment, the term of the Warranty shall not start again with regard to the repaired or replaced parts; rather, the original warranty period shall continue to be applicable to the appliance. Only the Manufacturer itself or an authorized service partner shall be entitled to conduct a warranty job. Any costs that occur in the event of a warranty claim shall be settled directly between the authorized service partner and the Manufacturer. The Warranty does not cover additional costs arising from complicated removal or installation jobs on the appliance (e.g. dismantling of furnishings or parts of the vehicle body), and neither does it cover travel expenses incurred by the authorized service partner or the Manufacturer.
No further-reaching claims shall be permitted, especially damage claims presented by the Consumer or third parties. This shall not affect the provisions of the German Product Liability Act (Produkthaftungsgesetz).
The voluntary manufacturer’s warranty does not affect the Consumer’s legally valid claims for defects against the seller in the relevant country of purchase. In individual countries, there may be warranties that can be issued by the relevant dealer (official distributor, Truma Partner). In such cases the warranty can be implemented directly through the dealer from whom the Consumer bought the appliance. The warranty regulations of the country in which the appliance was purchased by the Consumer for the first time shall also be applicable.
Warranty exclusions
No warranty claim shall be applicable under the following circumstances:
- Improper, unsuitable, faulty, or negligent use and any use that is not compliant with the intended purpose
- Improper installation, assembly, or commissioning, contrary to operating or installation instructions
- Improper operation or operation contrary to operating or installation instructions, particularly any disregard for maintenance, care or warning notes,
- Instances were installations, repairs or any other procedures have been conducted by non-authorized parties
- Consumable materials and parts which are subject to natural wear and tear
- Installation of replacement, supplementary or accessory parts that are not original manufacturer’s parts or which have not been approved by the manufacturer. This applies in particular if the appliance is subject to networked control, if the control units or the software have not been approved by Truma or if the Truma control unit (e.g. Truma CP plus or Truma iNet Box) has not been exclusively used for controlling Truma appliances or appliances approved by Truma.
- As a consequence of damage arising from foreign substances (e.g. oil, or plasticizers in the gas), chemical or electrochemical influences in the water, or cases when the appliance has come into contact with unsuitable substances (e.g. chemical products, flammable substances or unsuitable cleaning agents)
- Damage caused by abnormal environmental or unsuitable operating conditions
- Damage caused by force majeure or natural disasters or any other influences not within Trump’s responsibility
- Damage resulting from improper transport
- End customers or third-party modifications of the appliance, including any replacement, supplementary or accessory parts, or installation of the same, especially concerning the exhaust gas system or the cowl.
Making a warranty claim
The warranty must be claimed with an authorized service partner or at the Truma Service Centre. All the relevant addresses and phone numbers can be found at www.truma.com, in the “Service” section.
The Manufacturer’s address is:
Truma Geratetechnik GmbH Et Co. KG Truma Servicezentrum
Wernher-von-Braun-StraRe 12
85640 Putzbrunn, Germany
To ensure a smooth procedure, we would be grateful if you could have the following details ready before contacting us:
- Detailed description of the defect
- Serial number of the appliance
- Date of purchase
The authorized service partner or the Truma Service Centre will then specify the further procedure. To avoid transport damage, the affected appliance must only be shipped by prior arrangement with the authorized service partner or the Truma Service Centre.
If the warranty claim is recognized by the Manufacturer, then the transport expenses shall be borne by the same. If no warranty claim is applicable, the Consumer will be notified accordingly and any repair and transport expenses shall then be the Consumer’s liability. We ask you not to send in an appliance without prior arrangement.
Should problems occur, please contact the Truma Service Centre or one of our authorized service partners (see www.truma.com).
In order to avoid delays, please have the unit model and serial number ready (see type plate).
Truma Gerätetechnik GmbH & Co. KG
Wernher-von-Braun-Straße 12
85640 Putzbrunn
Deutschland
Service
Telefon +49 (0)89 4617-2020
Telefax +49 (0)89 4617-2159
[email protected]
www.truma.com
34020-00851 · 00 · 11/2019 · ©



















