truma Combi D6 AU Diesel Heater Hot Water System 
Installation instructions 
- Control panel
- Room temperature sensor
- Circulated air intake (min.150 cm²)
- Warm air ducts
- Warm air outlets
- Wall cowl
The installation and repair of the appliance is only to be carried out by an expert. Read the installation instructions carefully prior to starting work and observe the instructions! Non-compliance with installation instructions or incorrect installation can result in endangerment of persons and property.
Intended use
The Combi diesel heater is a warm-air heater with integrated hot water system (10 litre volume). This unit was designed for installation in motor homes and caravans. The applicable regulations must be complied with when the equipment is being installed in special vehicles and vehicles for transporting hazardous goods.
Approval
Conformity Declaration
The heater complies with UNECE Regulation No. 122 and bears the type approval number: E1 122R 000232 The heater complies with UNECE Regulation No. 10 and bears type approval number: E1 10R 035277 The heater is approved for installation in passenger vehicles (class M1 motor homes) with no more than 8 seats excluding the driver’s seat, and for trailers (class O caravans). The year when the equipment was first put into opera-tion must be indicated with a check on the type plate.
Regulations
Guarantee claims, warranty claims and acceptance of liability will be ruled out in the event of the following:
- modifications to the unit (including accessories),
- modifications to the exhaust duct and the cowl,
- failure to use original Truma parts as replacement parts and accessories,
- failure to follow the installation and operating instructions.
It also becomes illegal to use the appliance, and in some countries this even makes it illegal to use the vehicle.
Installation instructions for vehicles
This appliance shall be installed in accordance with the man-ufacturer’s installation instructions, municipal building codes, electrical wiring regulations. AS/NZS 3500.4 “Plumbing and Drainage Part 4: Heated Water Services” and any other statu-tory regulations. This appliance delivers hot water at temperatures exceeding 50 °C. Refer to AS/NZS 3500 and local regulations regarding the need for additional hot water delivery temperature control when hot water is supplied to sanitary fixtures primarily used for the purpose of personal hygiene. The relevant employer’s liability insurance association acci-dent prevention regulations must be observed in Germany for vehicles used for commercial purposes In other countries, the relevant regulations must be observed.More information on the regulations in the relevant destination countries can be requested from our foreign repre-sentatives (see www.truma.com).
Choice of location
The unit and its exhaust duct must always be installed so that they are easy to access at all times for service work (e.g. fuel and water connection via a service flap, furniture door etc.) and are easy to remove and install.The distance between the unit and surrounding furniture items or vehicle components must be at least 10 mm at all sides (5 mm at the water connection side).The scope of delivery includes a second type plate (duplicate) with removable bar code.If the type plate on the heater is not visible after the heater has been installed, the second type plate (duplicate) must be affixed to the unit in a clearly visible location. The duplicate must only be used in conjunction with the original.
In order to heat the vehicle evenly throughout, the heater must be installed in a location in the vehicle that is as central as possible in a wardrobe, stowage compartment or the like with an adequate height, so that the air distribution ducts can be routed with equal lengths. Appropriate openings must be present in the installation compartment so that air can be drawn in – see relevant sections concerning extraction air intake, circulated air intake and warm air distribution. The maximum lengths of the fuel lines (see fuel connection) and the exhaust and air intake muffler (see exhaust air and com-bustion air ducting) must be complied with.
In order to reduce the potential danger to caused by a heater coming off in the event of an ac-cident, the upper cover plate (1) of the installation cabinet must be secured to other pieces of furniture with screws at least 10 mm above the heater. Depending on the installation situation, it may be necessary (especially with rear-mounted fixtures) to install a stable furniture console (2) before (next to) the heater, perpendicular to the direction of travel. For this purpose, a solid spacer (minimum cross section 30 x 50 mm) can be attached at a height of approx. 180 mm above the floor, or a board (3) for sliding in on a stable furniture bracket.There must not be any heat-sensitive materials beneath the unit (e.g. flooring such as PVC or similar, cables etc.), since high temperatures can occur at the base of the unit.No cables or water lines may be attached to the equipment’s insulation in order to prevent damage to components inside the equipment. Parts of the vehicle which are important for operation are not to be adversely affected.
The cowl must be placed in such a way that exhaust gas can-not find its way into the vehicle interior. The cowl must be a wall cowl.
The wall cowl is to be fitted in such a way that no tank nozzles or tank ventilation apertures are located within 500 mm (R) of it. In addition, no air discharge apertures for the living area or window openings may be located within 300 mm of it. If installing the cowl directly underneath a window that will be opened, installation of an electric window switch (part no. 34030-34700) is recommended.
Fastening the appliance
Check whether the vehicle has a load-bearing floor or false floor for securing the heater. If the floor is unsuitable, create a load-bearing surface beforehand by gluing a plywood board to the floor, for example.
Screw heater to vehicle floor or false floor using four B 5.5 x 25 screws (included in scope of delivery). Depending on the situation, it may be possible to secure the heater with three screws; in this case, always screw aluminium feet (a) and selectively one of the plastic feet (b) to the vehicle floor.
Exhaust and combustion air ducting
Only Truma duct sets (consisting of an exhaust muffler, an extraction air duct and an air intake muffler) must be used for the Combi heater, since the appliance has been type tested with these ducts. Do not pinch or kink these ducts during installation. The pipe sets are available in lengths of 60 cm*, 70 cm, 100 cm and 150 cm. suitable for extremely small installation compartments
Permissible duct lengths
Duct lengths of between 60 cm (min.) and 150 cm (max.) can be used with the wall cowl.
The length of the exhaust muffler (4), the extraction air duct (5) and the air intake muffler (7) can be measured on a sample for series installation (fixed lengths). The exhaust and air intake muffler can be shortened in isolated cases. In this case the inner duct (4a) of the exhaust muffler (4) must be fixed using a new lock washer (6 – part no. 34020-45200). Truma supplies the lock washer tool as an installation acces-sory (part no. 34020-45000).
A minimum exhaust muffler (4) bending radius of 8 cm must be taken into consideration when the exhaust duct is being dimensioned.
Assembly of wall cowl
Assemble wall cowl on a surface which is as flat as possible and which is exposed to wind from all directions.
Wall cowl cut-out
Fix installation template (part no. 34020-42000) to outside wall of vehicle. Mark wall cowl holes and cut-out. Remove template, drill holes and make cut-out.Before drilling, always check for underlying / concealed cables, gas lines, frame sections and the like! If necessary, line vehicle wall around opening with a suitable material so that the mounting screws can obtain an adequate amount of grip!
Fit outer part of cowl
Fill groove on outer part of cowl (8) with plastic body sealant (not silicone), then secure outer part of cowl to wall of vehicle with 4 screws.
Fit exhaust muffler to cowl
- Slide clamp (15) onto extraction duct (5).
- Fit exhaust muffler (4) to cowl (gas-sealed side facing unit – indicated by O-ring – 13).
- It is imperative for the exhaust muffler (4) to be pushed in-to the exhaust duct muff (14) as far as it will go. Check from the outside that exhaust muffler (4) is firmly seated in muff (14).
- Secure exhaust muffler (4) in muff (14) with screw (3.5 x 13). Slide extraction duct (5) onto extraction duct muff (16) as far as it will go and secure with clamp (15). For lengths ex-ceeding 60 cm, secure to wall with at least one ZRS clamp (part no. 39590-00).

Please ensure that the exhaust muffler is firmly seated in the exhaust duct muff before installing the cowl cover. Then secure the cowl cover (17) to the outer part of the cowl (8) with 4 screws.
Fit exhaust muffler to unit
Make bends in exhaust duct that are needed to make installation easier before fitting to cowl / unit (sample installation).Always connect gas-tight adapter (18) of exhaust muffler (4) to unit. Replace damaged O-ring (13).
- Slide clamp (22) onto extraction duct (5).
- Slide adapter (18) of exhaust muffler (4) into muff (19) at unit as far as it will go.
- Click the exhaust gas tube attachment CBD (20) into the sockets (19).
- Check that the exhaust gas sound muffler (4) sits correctly. Slide extraction duct (5) onto muff (21) and secure with clamp (22).

- Always fit new O-ring to adapter of exhaust muffler after dismantling!
Fit air intake muffler to cowl
Fit long connecting end of air intake muffler (7) to cowl and attach short end to unit.
- Determine required installation length (shorten long connecting end if necessary depending on installation situation).
- Slide clamp (24) onto air intake muffler.
- Slide air intake muffler onto muff (23) as far as it will go and secure with clamp (24).

Fit air intake muffler to unit
Route air intake muffler so that electrical connections remain accessible.
- Slide clamp (25) onto air intake muffler (7).
- Slide air intake muffler onto muff (26) as far as it will go and secure with clamp.

Extraction air supply
The cooling air (extraction air) that is needed to operate the burner is drawn from the vehicle interior via a fan in the wall cowl. The openings of this air extractor must be kept clear so that air can enter at all times.
Recirculated air intake
The circulated air is drawn in by the unit. This must have one large or several small openings with a total area of at least 150 cm² between the living compartment (not the rear stor-age space) and the installation compartment. If a grid (not in scope of supply) is installed (Fig. 16), the same size requirement regarding cross-sectional area (150 cm²) for drawing in air must be observed.
The circulated air inlets must be arranged so that exhaust from the vehicle engine or the heater cannot be drawn in under normal operating conditions. It must be ensured by means of construction design that the heating air introduced into the vehicle is not polluted.
Warm air distribution
Most of the warm air is fed into the floor area of the living compartment via flexible warm air ducts.
The 4 muffs on the unit are designed for the 65 mm diameter ÜR duct (part no. 40230-00). Use only pressure-safe ducts in compliance with Truma quality requirements. Other ducts that do not meet our quality standard (particularly with regard to crown pressure resistance, duct diameter and number of grooves) must not be used.If the warm air duct has to be subjected to a considerable amount of bending immediately behind the warm air outlet of the unit in confined spaces, we recommend the use of the BGC 90° elbow (part no. 34091-01). This elbow makesit possible to connect a ÜR warm air duct with a diameter of 65 mm or a VR warm air duct with a diameter of 72 mm. With a duct length of less than 2 m the air outlet must not be installed higher than the warm air duct muff. With a duct length of less than 50 cm, the duct must create a siphon be-tween the muff and the outlet.
these measures prevent undesirable heating of the vehicle due to convection (cowl effect) during operation in summer. The ducts for warm air distribution must be inserted securely into the muff. A clip is attached to each muff to provide a more secure grip. In order to prevent heat accumulation when using the Combi, all 4 warm air connecting pieces must be attached. The cross-section of the hot air pipes must not be reduced by pipe connections or the like. If an EN end outlet that can be closed off is installed in one of the Combi warm air ducts (e.g. in the bathroom), a second outlet that cannot be closed off must be installed in the warm air duct. The warm air system is designed for each type of vehicle indi-vidually, on a modular basis. An extensive range of accesso-ries are available. Diagrams showing optimum hot air system installation suggestions in all of the common caravan and motor home models can be requested free of charge from the Truma Service Centre.
Fuel connection
The heater requires diesel fuel, as per the Australian Fuel Standard (Automotive Diesel). Operation with any form of biodiesel is not permitted. The fuel is extracted from the vehicle fuel tank (see fuel tank removal kit). Please only use the fuel hoses and lines that are included in the scope of delivery for installation.
Permissible fuel line length
The maximum fuel line length at the intake side is 2 m, and 6 m at the pressure side.
Safety instructions for routing fuel lines
Always cut fuel hoses and lines to length using a sharp knife. The areas that have been cut must not be compressed and must be free of burrs.Fuel lines must be securely attached in order to prevent dam-age and / or noise generation caused by vibration (recom-mended spacing between attachment points approx. 50 cm). Fuel lines must be protected from mechanical damage. Route fuel lines so that vehicle twisting, engine movements and the like do not adversely affect their stability. Protect fuel-carrying parts from heat that may affect operation (use suitable thermal protection hose made from fibre glass fabric with aluminium lining). Never route or secure fuel lines immediately adjacent to the exhaust ducts of the heater unit or the vehicle engine. If the lines cross, maintain an adequate distance away from hot components at all times – provide heat radiation protection plates if necessary. Do not leave gaps between fuel lines that are being con-nected using a fuel hose. This prevents problematic bubble formation. Correct line routing Incorrect line routing (bubble formation)
Installing the metering pump
Always install metering pump with the pressure side (delivery direction) sloping upwards.Protect metering pump from heat (max. operating temper-ature 40 °C), therefore do not install in the vicinity of sound mufflers and exhaust pipes.
Metering pump installation position
Permissible metering pump intake and pressure levels
Pressure level from fuel tank to metering pump.
Attaching the metering pump
Attach metering pump (27) to vehicle in a suitable location us-ing bracket (28) and holder (29) (included in scope of delivery).
Connect unit and metering pump to fuel pipe
Mark hole for leading through fuel pipe (in soundproofing hose) and metering pump connecting cable on floor of vehicle in a suitable location. Before drilling, always check for underlying / concealed cables, gas lines, frame sections and the like! Then seal the edges of the openings in the floor of the vehicle with underbody protection. Route fuel line and metering pump connecting cable so that they will not chafe. Please also use leadthrough bushings or edge protection profiles in locations where sharp edges such as metal panel leadthroughs are present. Route pressure-side fuel line in provided soundproofing hose made from cellular rubber. Allowing the fuel lines to come into contact with vehicle components or overtightening the cable binders may re-sult in metering pump noise transmission (clicking). Connect fuel line (in soundproofing hose) to unit and metering pump as shown in diagram. Secure soundproofing hose and connecting cable to vehicle using hose holders
(part no. 34020-76000) or attach loosely with cable binders (approx. every 50 cm).
- 30 = Fuel line connection to unit
- 31 = Fuel hose 90° elbow
- 32 = Fuel line, inner diameter 2 mm (pressure line)
- 33 = Cellular rubber soundproofing hose
- 34 = Fuel hose
- 35 = Clamps
- 36 = Metering pump connecting cable
- 37 = Suction line from vehicle fuel supply
Fuel tank removal kit
The metering pump is connected to the vehicle fuel supply using a vehicle-specific fuel tank removal kit. Fuel tank removal kits on request.
Water connection
For operating the hot water system it is possible to use all pressure pumps and submergible pumps up to 280 kPa, also all mixing taps with or without electrical switch.In order to guarantee complete emptying of the water and to prevent pressures of greater than 450 kPa occurring in the hot water system, the en-closed pressure reducer (40), the enclosed water con-nectors (45 + 46) and the enclosed drain valve (42) must be used! When using pressure pumps with high switching hysteresis, hot water may flow back through the cold water tap. To pre-vent backflow, we recommend that a non-return valve (nrv – not included in the scope of supply) be fitted between the outlet to the cold water tap and the drain valve.
The supplied water connectors (45 + 46) and drain valve (42) have a 12 mm rigid piping connection (e. g. JohnGuest System). For connecting to rigid pipes with other diam-eters appropriate adapters (not included in scope of delivery) must be used. Hoses with a diameter of 12 mm that are drinking water com-patible, pressure-resistant (up to 450 kPa) and hot water-re-sistant up to +80 °C must be used to connect the unit and the accessories. We recommend the use of John Guest pipes, insertion sleeves and hose clamps. As accessories Truma supplies the water connectors (45 + 46) and drain valve (42) with a 10 mm / 3/8″ diameter hose nipple. Route water pipes as short as possible and free of kinks. All pipe con nections must be secured (also cold water pipes)! Before the drain valve triggers, warming of the water and its resulting expansion may cause pressure of up to 450 kPa to occur (also possible with immersion pumps). When installing a water supply into the vehicle, please ensure that there is an adequate distance between the water hoses and the heat source (e.g. heater, warm air duct).
Hose clips SC (part no. 40712-01) are suitable for fastening the pipes to walls or the floor. These hose clips also make it possible to route water pipes on the heater’s warm-air distri-bution pipes as a way to avoid the danger of frosting. A water hose may only be fitted at a clearance of 1.5 m to the heater on the warm air duct. The Truma hose clip SC (part no. 40712-01) can be used if this distance is observed. In the case of parallel installations, e.g. openings through a wall, a spacer element should also be attached (e.g. insulation) to prevent contact. The included elbow fittings (45 + 46) must always beused in order to completely empty the water and prevent the water pipes on the unit from leaking over the long-term! Elbow fitting (46 – with aeration valve) is connected to the upper warm water connection; the second elbow fitting (45) is connected to the lower cold water connection.Route all water lines so they drop down to drain valve! There shall be no guarantee claims for damage caused by frost!
Mounting of the discharge pipe
The discharge pipe (Fig. 25 – 48) is to be installed directly to the outside at a position protected against splash water (apply splash guard, if necessary).
- There must be no tap, valve or other restrictions in the discharge pipe.
- The discharge pipe must not be connected to other piping.
- The discharge pipe must fall continously and free of kinks from the P&T relief valve to the point of discharge.
- The discharge pipe must not discharge into a safe tray.
- Drill a hole with 22 mm diameter and pass through the dis- charge pipe.

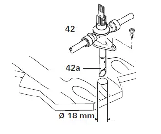
installing drain valve
Install drain valve (42) at a place which is easily accessible, near the hot water system. Drill a hole (18 mm diameter) in the floor of the vehicle. Attach drain hose (42a) to drainage socket, insert both through the floor and route outside. Fasten drain valve with 2 screws (included with delivery).
Drain directly to the outside at a position protected against splash water (apply splash guard, if necessary).
Installation of the pressure reducer
Depending on the scope of supply – pressure reducer A or B has to be installed.
Pressure reducer A
The pressure reducer (40) must be fitted between the drain valve and water pump in accordance with the direction of flow (indicated by arrow). Fasten the pressure reducer to the floor.
Pressure reducer B
The pressure reducer (40) must be fitted between the drain valve and water pump in accordance with the direction of flow (indicated by arrow).
Routing of water pipes
Connect cold water supply (41) to drain valve (42). Route the water pipes without tension in order to ensure that the drain valve will work properly!
Slide elbow fitting (45) onto cold water connecting pipe and elbow fitting with integrated ventilating valve (46) onto hot water connecting pipe of heater as far as it will go. Pull in opposite direction in order to make sure the elbow fittings are securely attached.Create the pipe connection (43) for cold water supply between drain valve (42) and the inlet on the hot water system. Route the hot water supply (44) from the elbow connec tion with integrated vent valve (46) to the hot water consumers.Push the venting hose, external diameter 11 mm (47), onto the hose grommet of the venting valve (46a), and lay it to the outside without any kinks. Ensure that the bend radius is not smaller than 40 mm.Cut off the aeration hose about 20 mm below the vehicle floor at a 45° angle to the direction of travel (see figure). Check all connections for water leaks:
- Repair leaks as needed.
- Repeat check for water leaks and take any necessary steps to repair the leaks at all water connections.
Installing the room temperature sensor
When selecting the location, bear in mind that the room tem-perature sensor must not be subjected to any direct radiant heat. For optimum room temperature regulation, we recom-mend that the room temperature sensor be fitted above the entrance door.
Please ensure that the sensor is always attached to a vertical wall. There must be a free flow of interior air around the sensor. Drill a hole 10 mm in diameter. Guide the connection cable through the drillhole from behind and plug the cable end into the sensor by means of an insulated connector plug (there is no need to be concerned about polarity). Slide in the room tempera-ture sensor and lay the cable end with the two insulated connec-tor plugs to the heating electronics unit (extend to a maximum overall length of 10 m using 2 x 0.5 mm² cable if necessary).The provided room temperature sensor must always be connected, otherwise the heater will switch to fault.
Installing the control panel
The installation of the control panel is described in the instruc-tions included with the control panel.
Electrical connections
Route connecting cables in such a way that they cannot chafe. Please also use leadthrough bushings or edge protec-tion profiles where there are sharp edges such as metal panel leadthroughs. The connecting cables must not be attached to or come into contact with metal surfaces, the exhaust duct or warm air ducts. The electrical connections are located under the connection cover (60). The cover can be removed by pressing and simul-taneously sliding it in the direction of the arrow. When remov-ing or installing the connection cover on the connection ca-bles, make sure that the cables are not pulled out or become pinched.
- 61 = input voltage +12 V (spade connector 6.3 mm)
- 62 = input voltage ground (spade connector 6.3 mm)
- 63 = not used
- 64 = device fuse: 10 A – slow – (T 10 A)
- 65 = wire bridge (or window switch – accessory)
- 66 = not used
- 67 = room temperature sensor
- 68 = control panel / diagnostic connector*
- 69 = control panel / diagnostic connector*
- 70 = metering pump
- 71 = burner fuse 20 A (slow-acting) 6.3 x 32 mm
- 72 = extractor fan
- 73 = burner diagnostic connector
Alternative connections
All connections to the unit should be made with sagging connection cables. This will prevent condensation water from running down the connection cables and into the unit. The connecting cables and plugs must not be subjected to force. Bundle connecting cables (see figure) and secure each one to housing using a cable binder in order to provide strain relief. 
All cables must be securely attached and must not become loose or disconnected due to vibration – risk of fire!
Connection 12 V
Electric cables, switching units and control units for heaters must be arranged in the vehicle in such a way that their satis-factory operation cannot be adversely affected under normal operating conditions. All cables leading to the outside must be splash proof at the leadthrough opening. Prior to working on electric components the appliance must be disconnected from the power supply. Swit ching off at the control panel is not sufficient! When carrying out electric welding work on the body, the appliance connection must be disconnected from the vehicle electrical system. The unit is equipped with reverse polarity protection. If the unit is connected with incorrect polarity, there will be no display on the LED. The unit can be used after establishing proper polarity and replacing the fuse (64).
The heater requires a constant 12 V supply. The connection should be made via a minimum of 6 mm cross section low voltage cable direct to the 12 V battery terminals, both pos-itive and negative. The positive and negative leads must be fused with a 12 V – 20 A fuse. If fitting an isolation switch, the switch must be installed in such a position that the heater cannot be switched off un-intentionally. The heater must always be turned off at the heater control. The 12 V isolation switch should only be used after the heater has completed its cool down cycle and has stopped completely. Do not connect any other consumers to the supply line! When power packs or power supply units are being used, note that the output voltage is between 11 V and 15 V and the alternating current ripple is < 1.2 Vpp.
Connecting room temperature sensor to the unit Plug the connection cable’s plug onto connection (67) (no need to observe polarity).
Control panel / air conditioning system
The following connecting combinations are possible.Insert the plug of the connecting cable into one of the connections (68 or 69). Make sure that the plug engages.
Metering pump connection
If an automatic filling unit is used to fill the fuel lines, make electrical connection to metering pump after filling.Attach connector (74) of connecting cable to metering pump and connector (75) to connection (70) of unit. Please ensure that connectors engage properly. 
Wind up excess cable and secure in a suitable location using cable binders.
Extraction fan connection
Attach connector (11) of extraction fan cable to unit con-nection (72). Ensure that the plug engages. Wind up excess cable (9) and secure in a suitable location using cable binders.
initial start-up
During the initial operation of a brand new appliance a slight amount of fumes and smell may be noticed for a short while.
Filling the fuel lines
The heater normally has to be started up several times to fill the fuel lines. Connect unit to control panel to do this. The unit automatically performs 2 start attempts (initial start and repeat) per switch-on procedure with a run time of 2 minutes in each case. If no flame is detected after the repeat start, the unit switches to fault and has to be switched off and on again at the control panel. After a total of 15 unsuccessful starting attempts (initial and repeat start) without forming a flame, the equip-ment is blocked. To remove the block, please contact the Leisure-Tec Service Centre (see www.truma.com. Check fuel lines and connections for leaks after filling the fuel lines.
Function check
Check all functions of the appliance, as specified in the op-erating instructions, in particular the water draining function. There shall be no guarantee claims for damage caused by frost! The operating instructions must be handed to the owner of the vehicle.
Warnings
The installer or vehicle owner must apply the yel low sticker with the war ning information, which is enclosed with the appliance, to a place in the vehicle where it is clearly visible to all users (e.g. on the wardrobe door)! Ask Leisure-Tec to send you stickers, if necessary.


























