DLE60B AquaGo LP Gas Instant Water Heater
User Manual

DLE60B AquaGo LP Gas Instant Water Heater
WARNING
If the information in these instructions is not followed exactly, a fire or explosion may result, causing property damage, personal injury, or death.
– Do not store or use gasoline or other flammable vapors and liquids in the vicinity of this or any other appliance.
WHAT TO DO IF YOU SMELL GAS
- Evacuate all persons from the vehicle.
- Shut off the gas supply at the gas container or source.
- Do not touch any electrical switch or use any phone or radio in the vehicle.
- Do not start the vehicle’s engine or electric generator.
- Contact the nearest gas supplier or certified service technician for repairs.
- If you cannot reach a gas supplier or certified service technician, contact the nearest fire department.
- Do not turn on the gas supply until gas leaks have been repaired.
Installation and service must be performed by a certified service technician, service agency, or the gas supplier.
Trump AquaGo AU instant water heater (appliance)
Overview / Designation of parts

Legend
| 1 Cold water connection 1/2 inch NPT 2 Hot water connection 1/2 inch NPT 3 Circulation line connection 1/2 inch NPT (comfort plus model only) 4 Pressure relief valve 4a Test lever 5 Flue fan 6 Unit casing 7 Control unit 8 POWER switch 9 Latch 10 Flue duct 11 Easy Drain Lever 11a Water inlet filter 12 Gas pipe grommet (side) 13 Gas valve 14 Cover plate 15 Temperature stabiliser | 16 Water flow sensor 17 Burner with manifold, orifice size 0.82mm 18 Circulation pump 19 Heat exchanger 20 Access door (assembly) 21 Turn lock 22 Webbing 23 Ventilation grille (air inlet, exhaust) 24 Grommet for 12 V cable (power supply) 25 Type plate 26 Exhaust pressure switch 27 Control panel LED 1 Power-ON LED 1– green LED 2 Error code LED 2 – red LED 3 Status LED 3 – yellow |
Trademark information
Trauma AquaGo is referred to as AquaGo below.
Trauma AquaGo comfort AU is referred to as AquaGo comfort below.
Trauma AquaGo comfort plus AU is referred to as AquaGo comfort plus below.
Intended use
The AquaGo instant water heater (appliance) may be used only to heat tap water in recreational vehicles (RVs) that are used for recreation, travel or camping.
RVs are recreational vehicles designed as temporary living quarters for recreation, camping or travel use. Such vehicles have their own power or are towed by another vehicle.
Prohibited use
Any use other than the intended use (see above) is prohibited.
Examples of prohibited use:
- Use in a marine environment.
- Use as part of a space heating system.
- Use in mobile homes.
- Use in food trucks or roadside food vending vehicles.
- Use in construction trailers
- Use as a pool heater
Glossary
electric antifreeze kit AquaGo electric antifreeze kit
| appliance | AquaGo instant water heater |
| AWG | American Wire Gauge |
| control panel | Control panel CP classic AquaGo |
| heating cartridge | AquaGo electric antifreeze kit cartridge |
| MWG | Metric Wire Gauge |
Model
Trauma AquaGo comfort AU (DLE6AC)
Trauma AquaGo comfort plus AU (DLE6ACP)
Consumer Safety Information
Safety symbols and signal words
This is the safety alert symbol. This symbol alerts you to potential hazards that can kill or hurt you and others.
DANGER indicates a hazardous situation that, if not avoided, will result in death or serious injury.
WARNING indicates a hazardous situation that, if not avoided, could result in death or serious injury.
CAUTION indicates a hazardous situation that, if not avoided, could result in minor or moderate injury.
NOTICE is used to address practices not related to physical injury.
Other important information or tips
Safety behavior and practices
If the gas system is leaking or if there is a smell of gas
- extinguish all open flames
- open windows and door
- close all shut-off valves and gas cylinders
- do not smoke
- do not activate any electric switches
- ask an expert to inspect the entire system!
Ensuring a safe operating environment
DANGER Suffocation through exhaust gases. To ensure the dissipation of exhaust gases, operate the appliance outdoors only.
Never use in enclosed spaces or tents or breathe in the exhaust gases.
– If installing an awning, make sure that the exhaust system terminates outdoors.
– If you park the RV in an enclosed space, such as a garage or repair shop:
· You must block the fuel supply.
· You must switch the appliance off at the control panel.- Keep the air inlet and exhaust outlet free of obstructions in order to ensure clean combustion.
- Do not place articles on or against the appliance. Do not lean any objects against the water heater’s access door or place any foreign objects within 61 cm (2 feet) of the access door.
- Do not use or store flammable materials near the appliance.
- Do not spray aerosols in the vicinity of the appliance while it is in operation.
- Do not modify the appliance.
Responsibilities of the operator
- Avoid possible serious health issues caused by electromagnetic radiation. All persons with a pacemaker are prohibited from opening the access door and maintaining the appliance during operation.
- The operator is responsible for the water filled into the appliance and its quality.
- The use of upright gas cylinders from which gas is taken in the gas phase is mandatory for the operation of gas regulators, gas equipment and gas systems. Gas cylinders from which gas is taken in the liquid phase (e. g. for forklifts) must not be used, since they would result in damage to the gas system.
- Gas systems and pressure regulators must comply with the technical and administrative regulations of the country in which the appliance is used (AS/NZS 5601.2 – LP Gas installations in caravans and boats for non-propulsive purposes (“LP Gas installations”)).
- For your own safety it is absolutely necessary to have the complete gas installation regularly checked by an expert (at least every 2 years). The vehicle owner is always responsible for arranging the gas inspection.
Safe operation
- Use only propane gas (in accordance with AS 4670).
- The nominal gas system pressure must be 2.75 kPa.
- LP tanks must be filled by a qualified gas supplier only.
- Hot water can be dangerous, especially for infants, children, the elderly or the infirm. It can cause severe burns. Therefore:
– Never actuate the pressure relief valve (Fig. 1 – 4 ) as long as the appliance is still hot.
– Never actuate the Easy Drain Lever
(Fig. 1 – 11) as long as the appliance is under water pressure and/or still hot. - Always check the water temperature before entering a shower or bath.
- How long before hot water causes skin damage?
| Temperature °C | Time before skin becomes scalded | |
| 68 | 1 | second |
| 64 | 2 | seconds |
| 60 | 5 | seconds |
| 56 | 15 | seconds |
| 52 | 1 | minute |
| 51 | 3 | minutes |
| 48 | 5 | minutes |
| 37 | safe bathing temperature | |
Source: Moritz, A.R. / Henriques, F.C.: Studies of thermal injuries: the relative importance of time and surface temperature in the causation of cutaneous burns A. J.
Pathol 1947; 23: 695 – 720
- The water pressure on the inlet side must be limited to 450 kPa, otherwise, internal components of the appliance will be damaged. On (city) water connections with a pressure higher than 450 kPa a pressure regulator is strongly recommended.
While driving
- To avoid damage, make sure the access door (Fig. 1 – 20) to the appliance is closed before moving the RV, as follows:
– Turn lock is engaged.
– Access door is flush with the cover plate. - Shut OFF gas and the LP tank when moving the RV. This disables all gas appliances and pilot lights. Gas appliances must never be operated while the vehicle is in motion.
- Shut OFF the appliance when refueling or pumping gas, in multi-story car parks, in garages or on ferries.
- To avoid damage, make sure no spray water enters the appliance when cleaning the RV, e.g., do not spray directly into the openings/ ventilation grille.
Safe handling of malfunctions
- Switch OFF the gas supply and the appliance: – if anything seems to be out of the ordinary. – if you smell gas.
DANGER Fire/explosion if you attempt to use an appliance that has been damaged by flooding or if the vehicle has been involved in an accident. A damaged appliance must be repaired by an expert or be replaced.- Only carry out repairs yourself if the solution is described in the troubleshooting guide of this manual.
- A damaged appliance may have to be replaced with a new one.
Safe maintenance and repair
- Repairs may only be carried out by an expert.
- Children must not carry out maintenance, repair or cleaning work.
- Before accessing terminals, please secure all supply circuits (i.e. 12 V) and make sure that the gas supply is securely turned off.
- Any work involving the connection or interconnecting wiring must be carried out by a licensed electrician.
- Only use AquaGo decalcification tablets to decalcify the appliance to avoid damage and the voiding of your warranty.
– Never use vinegar.
– The use of non-Trauma-approved substances for decalcification can cause chemical reactions and produce hazardous substances that could enter the drinking water. - Any alteration to the appliance or its controls can cause unforeseen serious hazards and will void the warranty.
- After a long period of winterization: Flush all hot/cold water hoses and the appliance thoroughly with drinking water before using it.
- Keep the appliance free of foreign objects, e.g., leaves, animals, spiderwebs, and keep the area around free of snow and ice. The appliance will not function properly if the intake air or exhaust terminal is obstructed.
Safety features
The appliance is equipped with the following safety devices:
Flame monitoring
If the flame goes out, the gas supply to the burner is switched off (after 3 failed restarts).
Low-voltage (over-voltage) shutdown
If the voltage drops below 10 VDC (or rises above16.4 VDC), the appliance shuts off.
Overcurrent protection
If there is a short circuit in the appliance (>10 A), a fuse on the control unit is activated and the appliance is switched off.
Monitoring of the flue fan
If there is a failure of the flue fan, the gas supply to the burner is switched off.
Monitoring of hot water temperature
A water-over temperature switch avoids excessively high water temperatures in case of a malfunction.
Operating instructions
Read and follow the “Consumer Safety Instructions” before operating the appliance.
WARNING Scalding injuries caused by hot water!
Water temperatures over 52 ºC can cause severe burns or scalding and in extreme cases even death.
- Before using the hot water tap or using the shower, allow the hot water to run until the water temperature no longer increases.
- Test the temperature of the water before placing a child in the bath or shower.
- Do not leave a child or an infirm person in the bath unsupervised.
How the appliance works
The appliance was developed exclusively for use in recreational vehicles (RVs).
The appliance is connected between the vehicle’s fresh water supply and its hot water system.
It is powered by propane and a 12 VDC power supply. The ventilation grid on the access door allows combustion air to flow into the appliance and exhaust gas to flow out.
When the appliance is switched on, the tap water will be heated on-demand:
- A volume-flow sensor in the appliance detects when the hot water tap has been opened and the volume flow is greater than approximately 1.5 liters/min. The burner then starts automatically.
- The burner control continuously adjusts the heater output based on volume flow and inlet water temperature, so that the temperature at the hot water outlet is approximately 49 °C. A temperature stabilizer is also installed in the appliance to minimize fluctuations of the outlet temperature.
- After some time the maximum temperature at the tap or in the shower is reached. The length of time will depend on the model and variations in the water system (length of
pipes, insulation, circulation line, etc.). Like in a home shower, a comfortable water temperature at the shower head is reached by mixing in cold water. - When the volume flow is less than approximately 1.5 litres/min or the tap is closed, the burner is automatically switched off.
The AquaGo is equipped with a circulation pump. The circulation pump as well as the burner are switched on automatically by the control unit in order to keep the water temperature above 39 °C in “COMFORT” mode and 5 °C in “ECO” mode.
NOTICE Risk of damage in frost conditions.
Refer to “Operation in frost conditions” on Page 11.
Pressure relief valve
WARNING Scalding injury from hot water and/or tampering with the pressure relief valve!
- Never actuate the pressure relief valve as long as the appliance is still hot.
- Do not place a plug or reducing coupling on the outlet part of the valve
The pressure relief valve is a safety component and must not be removed for any reason other than replacement. - The pressure relief valve is not serviceable; if defective, it must be replaced. It must be replaced by a Truma-certified service technician.
Tampering with the pressure relief valve will void the warranty.

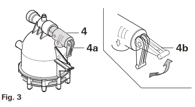
4 Pressure relief valve
4a Lever in “valve closed during operation” position
4b Lever in “open” position
Access door
Opening the access door
- Turn the turn lock counterclockwise to the vertical position.

The access door can be opened in two different positions:
– Position 1 is the maximum opening width for switching the appliance on or off.
– Position 2 is the starting position for removing the access door.
NOTICE Damage to the hinge!
- Do not try to remove the access door in Position 1. Position 1 is the maximum opening width of the access door.
- Only remove the access door in Position 2.
2. Open the access door to Position 1 . 
Removing the access door
- Open the access door to Position 2.
- Move the access door upwards to remove it.

Closing the access door
NOTICE Damage to the access door and the RV if the access door is not closed properly!
- Make sure that the access door is flush with the cover plate when closed.
- If removed, insert the access door into the cover plate.
- Make sure that the webbing is not pinched between the access door and the cover plate.
- Press the access door against the cover plate.
- Turn the turn lock clockwise
into the horizontal position.

Starting the appliance
WARNING The danger of over-temperature and toxic exhaust gases!
- Use propane gas only. Butane or any mixtures containing more than 10 % butane must not be used.
- Keep the air inlet and exhaust gas outlet free of obstructions. Do not lean any objects against the appliance’s access door or place any foreign objects within 61 cm of the access door.
WARNING The danger of combustion, personal injury, and damage to RV!
- Keep the area around the appliance free from combustible materials, petrol, and other flammable vapors or liquids.
- Switch the gas supply and the appliance off:
- if anything seems to be out of the ordinary.
- if you smell gas.
- if you move the RV.
- before entering a service station.
- before entering a tunnel.
Inspections before each use
Check the appliance for the following points before each use.
In case of damage, contact an authorized Trauma service provider and do not operate the appliance.
- Check for visible damage, e.g., on the cover plate or access door.
- Provide adequate quantities of propane gas and fresh water.
- Switch ON and check the 12 V power supply of your RV.
- Check that the access door of the appliance is closed.
- Keep the appliance free of foreign objects, e.g., leaves, animals, spiderwebs, and keep the area around free of snow and ice.
The appliance will not function properly if the intake air or exhaust terminal is obstructed.
Operating procedures
Risk of damage in frost conditions.
In frost conditions, with ambient temperatures below 4 °C, there is a risk that water in pipes, taps and appliances could freeze. This can cause considerable damage.
- Before you fill water into appliances and parts that transport water, you must heat the installation area sufficiently so that the water cannot freeze.
Proceed as follows to fill the appliance with water:
- Close open bypass lines (if present). Insert the water inlet filter or heating cartridge – if removed. See “Draining the water and cleaning the water inlet filter” on Page 12, steps 2, 7, 9 – 11. 2.
- Turn on the freshwater supply or switch on the water pump.
- Fill the water system.
• Open all water-release points, e.g., cold and hot water taps, showers, and toilets.
It is important that you bleed the water system before starting the appliance.
– Once water flows continuously, the water system is vented. Close the water-release points.
Start the appliance as follows: - Make sure that the propane gas supply is turned on.
- Switch on the 12 V power supply (RV).
- Open the access door (refer to “Opening the access door” on Page 8).
- Switch on the appliance at the POWER switch (refer to “Switching ON the appliance” on Page 9).
- Select the desired operating mode (refer to “Operating modes (control panel)” on Page 10.
- Close the access door (refer to “Closing the access door” on Page 8).
WARNING Scalding injuries caused by hot water!
Water temperatures over 52 ºC can cause severe burns or scalding and in extreme cases even death.
• Before using the hot water tap or using the shower, allow the hot water to run until the water temperature no longer increases.
• Test the temperature of the water before placing a child in the bath or shower.
• Do not leave a child or an infirm person in the bath unsupervised.
•
There may be a variation between the temperature delivered from the appliance and the temperature at the tap due to water conditions or the length of pipe from the appliance.
• The presence of a flow restrictor in the hot water line may Limit the water flow. - How to use hot water:
• To obtain the desired water temperature at the tap or in the shower, mix cold and hot water.
• Particularly when showering, wait until the water temperature has stabilized before entering or allowing other people or animals to enter the shower.
Switching ON the appliance
- Open the access door (refer to “Opening the access door” on Page 8).
- To switch on the appliance, switch the POWER switch (Fig. 8 – 8) to one of the two “ON” positions. Both ON positions on the POWER switch have the same function. Choose your preferred position.
• When the green power ON LED 1 (Fig. 8 – LED 1) is lit, the appliance is switched on.
• If the red error code LED 2 (Fig. 8 – LED 2) is lit / flashes, there is a fault or warning. (refer to “APPENDIX A – Error Codes” on Page 27).
• The appliance is now ready for using the control panel inside your vehicle (refer to “Operating modes (control panel)” on Page 10).
Operating modes (control panel)
A control panel to select the operating mode is included with the delivery.
With the rotary switch (Fig. 9) you can choose between the following operating modes:
| Sign | Operating mode / Description |
![]() | ECO |
| The appliance is now running in energy-saving mode. • Water temperature at outlet is approximately 49 °C. • Prevention of freezing by using propane gas. The temperature in the appliance is automatically kept above 5 °C. • During operation, the yellow status LED 3 is lit. | |
| COMFORT | |
| The appliance is now running in a mode that pro- vide rapid availability of hot water. • Water temperature at the outlet is approximately 49 °C. • Standby heat. The temperature in the appliance is automatically kept above 39 ºC. • During operation, the yellow status LED 3 is lit. | |
| Off | Stand-by. The appliance is not running in any operating mode. • The yellow status LED 3 is off. To switch off the POWER and gas supply refer to “Switching OFF the appliance” on Page 10. |
| ANTIFREEZE | |
Prevention of freezing using 12 VDC electricity: Operating mode with installed electric anti- freeze kit (available as an accessory) and ap- pliance switched on. The temperature in the appli- ance is automatically kept above 5 °C.• During operation, the yellow status LED 3 is lit. | |
| Clean | DECALCIFICATION |
See “Decalcification” on Page 13. For safety reasons, after 30 seconds the de- calcification process cannot be stopped untilthe system has been rinsed in accordance with the instructions. See “Interrupting decalcification” on Page 15 |
Description of the yellow status LED 3 (see Fig. 9 – LED 3)
| Signal | Meaning |
| LED 3 lit | – Appliance is switched on |
| LED 3 is off | – Appliance is switched off. – See “Troubleshooting” on Page 16. |
| Every 7 s, LED 3 is interrupted for 1 s | – The appliance must be decalcified |
| LED 3 flashes slowly 1 s on, 1 s off | – Decalcification mode has been activated |
| LED 3 flashes quickly | – Before you use the water system you must rinse it (see step f) “Rins- ing the water system” on Page 15). |
| LED 3 flashes 2 x briefly after a break. | – There is a fault in the appliance. The exact fault diagnosis must be determined via error LED 2. Refer to “APPENDIX A – Error Codes” on Page 27. – Risk of freezing, the temperature in the appliance is below 3 °C. |
Switching OFF the appliance
- Set the control panel to “Off”.
- Open the access door (refer to “Opening the access door” on Page 8).
- Switch off the appliance at the POWER switch (Fig. 8).
The green Power-ON LED 1 (Fig. 8) extinguishes. - Close the access door (refer to “Closing the access door” on Page 8).
- If the appliance is not needed, turn off the gas supply to the appliance.
If you intend to put the RV into storage or turn off the appliance during freezing temperatures, refer to “Winterising” on Page 11.
Operation in frost conditions (Ambient temperatures below 4 °C)
NOTICE Risk of damage in frost conditions.
In frost conditions, with ambient temperatures below 4 °C, there is a risk that water in pipes, taps, and appliances could freeze.
This can cause considerable damage.
- If the appliance is not to be used in frost conditions, you must winterize the appliance. Refer to “Winterising the appliance” on Page 11.
- Winter operation will not protect the RV’s entire water system. Water lines, taps, water tanks, and the external water valves and the vehicle must be heated separately.
- The RV must be designed for winter use/freezing conditions.
- The water pipes in the RV must be ice-free to operate the AquaGo in winter. Otherwise, there is no water flow and the appliance does not start.
When the vehicle is standing, to -20 °C
- The appliance has a built-in thermostat that will start the burner and the circulation pump whenever the temperature in the appliance falls below +5 °C. The burner will automatically shut off when it senses a temperature above 44 °C.
- NOTICE For the appliance to operate properly, you must ensure a constant supply of power (12 V), propane gas, and sufficient water in the system. You must leave the appliance
powered “ON”. The operating mode must be “ECO” or “COMFORT”. The water system must be bled so that the circulation pump works. - NOTICE If the vehicle is standing and ambient temperatures are below -20 °C, the appliance must not be operated and must be winterized. To winterize the appliance (refer to“Winterising” on Page 11).
While driving (or if there is no gas supply), to -20 °C
- NOTICE Gas must not be used for heating while vehicle is in motion. Ask your dealer/vehicle manufacturer about options for heating your RV while driving.
- NOTICE An electric antifreeze kit is available as an accessory (ask your dealer). With this kit, the appliance can be kept frost-free while you are driving or if there is no gas supply (to ambient temperatures of -20 °C). The electric antifreeze kit includes detailed instructions. –
While the vehicle is in motion and at ambient temperatures below -20 °C the appliance must not be operated and must be winterized. To winterize the appliance (refer to “Winterising” on Page 11).
Winterising
NOTICE Severe damage to the water system components and the appliance!
Any damage caused by freezing or an unsuitable winterizing fluid will not be covered by a warranty.
- Follow the recommendations below if the appliance will be stored under freezing conditions or for an extended period of time.
- Winterize the appliance at the start of the winter season or before traveling to a location where freezing conditions are likely.
If your RV is equipped with a bypass around the appliance, separate the appliance from the water system with the bypass.
Winterizing the appliance
To winterize the appliance, you must drain all water from the appliance. To do this we advise the following steps:
- Remove the water inlet filter or heating cartridge. See “Draining the water and cleaning the water inlet filter” on Page 12, steps 1 to 8.
- Let water completely drain from the appliance. This can take several minutes.
- Do not insert the water inlet filter or the heating cartridge into the appliance during winter – if the appliance is not used.
CAUTION Danger of crushing/pinching of fingers when the Easy Drain Lever is closed! Never put fingers between the Easy Drain Lever and latch.- Close the Easy Drain Lever and the access door. Once the water has been drained, the appliance is protected against freezing conditions.
Winterizing the RV with a winterizing fluid
Winterizing the RV with a winterizing fluid is only possible with an installed bypass kit (not in the scope of delivery)- Refer to the connection diagram “Connection diagrams” on Page 19 for all letters referred to in the following description.
Winterising AquaGo comfort
- Close valves A and B.
- Open valve C.
- Drain the appliance (see “Draining the water and cleaning the water inlet filter” on Page 12).
- Flush the RV’s water system with a suitable winterizing fluid according to the supplier’s or RV manufacturer’s guidelines.
Winterising AquaGo comfort plus
- Close valves A, B and E.
- Make sure that valve D remains in the closed position.
- Open valve C.
- Drain the appliance (see “Draining the water and cleaning the water inlet filter” on Page 12).
- Flush the RV’s water system with a suitable winterizing fluid according to the supplier’s or RV manufacturer’s guidelines.
- Close all taps (if open).
- Open valve D.
- Wait until winterizing fluid has drained. Collect escaping fluid in a suitable vessel.
- Close valve D.
AquaGo technical data
| [Nominal input power (calorific value) | 61.9 MJ/h | |||||
| Fuel | propane gas (in accordance with AS 4670) | |||||
| Fuel inlet pressure | 2.62 — 3.49 kPa 2.75 kPa (nominal) | |||||
| Fuel manifold pressure | 0.33 — 2.50 a | |||||
| Nominal voltage | 12 V DC (< 1 Voo) | |||||
| Power input | ||||||
| AquaGo comfort | < 2.5 A | |||||
| AquaGo comfort plus | < 2.5 A | |||||
| Water operating pressure | 450 kPa maximal | |||||
| Standard water outlet temperature | 49 °C | |||||
| Water volume | 1.3 liters | |||||
| Ambient temperature | ||||||
| AquaGo comfort AquaGo comfort plus | -20 °C…+40 °C . | |||||
| Dimensions (without flange and cover late) | ||||||
| Width Height Depth | ||||||
| mm 318 318 394 | ||||||
| Dimensions of cover plate | ||||||
| Size XS | ||||||
| mm | 384 | 394 | 20.2 | |||
| Standard | ||||||
| mm | 450 | 450 | 20.2 | |||
| Adapter | ||||||
| mm | 510 | 510 | 20.2 | |||
| Installation utout and dept. | ||||||
| i | Width | Height | /’Depth* | |||
| mm | 324 | 324 | 450 — 500** | |||
| Weight of unit without access door | (approx.) 15.5 kg | |||||
| Weight of access door stand- and access door XS | (approx.) 1.3 kg | |||||
| Weight of access door adapter kit | (approx.) 2.5 kg | |||||
* Depending on the application
** Recommended
Approval
AGA approval number 8638
RCM (Regulatory Compliance Mark)
Maintenance
Repairs must be performed by a certified service technician. Truma recommends that the appliance be serviced annually by a certified service technician. Verify proper operation after servicing.
WARNING High temperatures or repair attempts while the gas supply is turned on may result in scalding injuries!
- Turn OFF the electrical power supply and the gas supply before starting maintenance and repair work.
- Allow the appliance to cool down.
- Never actuate the pressure relief valve as long as the appliance is still hot.
CAUTION Injuries caused by the Easy Drain Lever!
- Never actuate the Easy Drain Lever as long as the appliance is under water pressure and/or is still hot.
CAUTION Sharp edges can cause cuts and injury! - Always wear protective gloves to avoid injuries from sharp edges during maintenance work.
Draining the water and cleaning the water inlet filter
To keep the appliance fully functional, clean the water inlet filter at least once a year.
- Set the control panel to “Off“.
- Remove the access door (refer to “Removing the access door” on Page 8.)
- Switch OFF the appliance at the POWER switch.
- Open all hot water taps and wait for cold water. This will ensure that hot water is removed from the appliance before draining.
- Turn OFF the water supply or switch OFF the water pump.
- Leave the hot water tap open in order to depressurize and vent the water system.
CAUTION Injuries caused by the Easy Drain Lever!
When the Easy Drain Lever is folded out, it protrudes beyond the side wall of the vehicle.
• When walking past or bending over, make sure that you and others have sufficient distance. - Open the latch with your thumb while pulling the Easy Drain Lever down as far as it will go.
- Remove the water inlet filter (or heating cartridge) as shown in Fig. 10 and clean it with clean water.
- Inspect the O-rings on the water inlet filter (or heating cartridge) for cracks. Change the filter assembly (see, “APPENDIX C – Spare Parts (all models)” on Page 28) if there are cracks.
The danger of crushing/pinching of fingers when the Easy Drain Lever is closed!
• Never put fingers between the Easy Drain Lever and water inlet filter or latch.
If, during installation, it is difficult to install the filter cartridge, use a small amount of soap on the O-rings. Never use grease because the O-rings are not resistant to grease. - Install the water inlet filter (or heating cartridge) as shown in Fig. 10. Observe the correct installation position and close the Easy Drain Lever until it is locked by the latch.
You can hear a “clicking” sound as the Easy Drain Lever engages. - Insert and close the access door (refer to “Closing the access door” on Page 8).
Decalcification
Risk of damage in frost conditions.
In frost conditions, with ambient temperatures below 4 °C, there is a risk that water in pipes, taps and appliances could freeze. This can cause considerable damage.
- Do not decalcify the appliance in frost conditions.
Decalcification frequency
Limescale occurs especially as a result of precipitation from “hard” water. The appliance must be decalcified regularly depending on water hardness and hot water consumption.
Recommended decalcification frequency per year
| Water hardness mg/l CaCO3 | Very hard >180 | 1 | 2 | 4 |
| Hard 121 – 180 | 1 | 1 | 3 | |
| Moderately hard 61 – 120 | 1 | 1 | 2 | |
| Soft 0 – 60 | 1 | 1 | 1 | |
| Use | low* | normal* | high* |
* Hot water consumption low
–> approximately 2400 l /Year normal –> approximately 6000 l /Year high
–> approximately 24000 l /Year
Performing decalcification
An integrated water consumption meter recognizes (after hot water consumption of approx. 6000 l) that decalcification is necessary. The assumed water hardness is “hard” and cannot be changed. The yellow status LED 3 (Fig. 9) indicates that decalcification is necessary (goes off briefly about every 7 seconds).
WARNING The use of nonoriginal AquaGo decalcification tablets (e.g. vinegar) for decalcification can cause chemical reactions and produce hazardous substances that
could enter the drinking water supply.
- Do not mix AquaGo decalcification tablets with other substances to avoid chemical reactions and the production of hazardous substances.
- Use only AquaGo decalcification tablets to decalcify the appliance to avoid:
– chemical reactions and production of hazardous substances,
– damage to your appliance,
– and the voiding of your warranty.
– Call your local AquaGo dealer or service provider or see www.truma.com for more information to obtain AquaGo decalcification tablets.
Irritation of skin and eyes in case of contact with decalcification agent
Wear protective gloves, eye protection and face protection to avoid contact.
- Never use the water supply in the RV during decalcification
- In case of skin contact with the decalcification agent, immediately rinse the affected area with plenty of water.
- In case of eye contact, hold eyelid open and rinse with running water for 10 – 15 min. Remove contact lenses, if present and easy to do. Continue rinsing. Consult an eye
specialist. - If you swallow the decalcification agent, immediately rinse your mouth and drink plenty of water in small sips. Do not vomit. Consult a doctor.
During decalcification, you must also observe the following
- Damage to the appliance if decalcification is interrupted.
– You must complete the decalcification process and then rinse thoroughly with clean water.
– Allow about 3 hours for decalcification. The appliance works on its own for most of this time. - Sensitive surfaces (e. g. marble) may be damaged through contact with the decalcification agent.
– Immediately remove splashes of decalcification agent on these surfaces.
a) Preparing for decalcification
For safety reasons, once the decalcification process has started it must not be stopped until the system has been rinsed (see process f). All operating modes of the appliance are blocked until decalcification has been completed.
Tasks within the RV
- Set the control panel to “Off”.
- Turn OFF the water supply or switch OFF the water pump.
- Open a hot water tap to relieve pressure in the system.
- On all water taps attach the warning sign “Caution decalcification in progress” in a clearly visible position. Warning signs are enclosed with the decalcification tablets.
b) Draining the water system
Tasks outside the RV
- Remove the access door (refer to “Removing the access door” on Page 8)
- Switch OFF the appliance at the POWER switch
- Drain the water system and remove the water inlet filter.
To do this, please refer to “Draining the water and cleaning the water inlet filter” on Page 12, Steps 4 to 8
- NOTICE You must use the water inlet filter for decalcification (included with the delivery Fig. 1 – 11a). If you are using an electric antifreeze kit, it must be removed and be unplugged from the power supply before decalcification (see Fig.11).
c) Introducing the decalcification agent
WARNING Tasks outside the RV Irritation of skin and eyes in case of contact with decalcification agent. Wear protective gloves, eye protection, and face protection to avoid contact.- Fill the water inlet filter with 6 AquaGo decalcification tablets (the content of one blister pack).

- Re-insert the water inlet filter. See Step 9 in “Draining the water and cleaning the water inlet filter” on Page 12.
- Switch ON the appliance at the POWER switch.
d) Filling the water system
Tasks within the RV
- Turn on the freshwater supply or switch on the water pump
The decalcification tablets dissolve in water quickly (approx. 10 minutes). So that the decalcification agent is not rinsed out, when filling, run the water only as long as necessary. The Trauma decalcification tablets color the water slightly red. - Fill the water system.
– Open all water-release points, e.g., hot water taps, showers, and toilets.
– Once water flows evenly, the water system is vented.
– Close the water-release points.
You must bleed the water system thoroughly otherwise the circulation pump cannot circulate the decalcification solution.
e) Starting decalcification
Tasks within the RV
- Set the control panel to “Clean”.
– If decalcification does not start, switch the appliance on at the POWER switch.
Decalcification takes about 3 hours (during this time, you do not have to do anything).- Decalcification is indicated by a slow flashing (1 s on, 1 s off) of the status LED 3 (Fig. 9) on the control panel.
- During decalcification, the control panel must remain set to “Clean”.
- Decalcification is complete when the status LED 3 (Fig. 9) flashes quickly on the control panel.
f) Rinsing the water system
- You will need about 30 litres of water to rinse the water system.
- Dispose of (used) decalcification solution in accordance with local laws and regulations.
Tasks within the RV
- Open all water-release points, e.g., hot water taps, showers, toilets.
- Run the water until the status LED 3 (Fig. 9) on the control panel goes out.
- Set the control panel to “Off”.
- Close all water-release points.
- Turn OFF the water supply or switch OFF the water pump.
- Open a hot water tap to relieve pressure in the system.
To make sure that the appliance and the water pipes contain no decalcification agent, empty the water system again and refill it.
Tasks outside the RV
- Switch the appliance OFF at the POWER switch (red error code LED 2 (Fig 8) flashes before it switches off).
- Drain the water system. Refer to “Draining the water and cleaning the water inlet filter” on Page 12, Steps 4. to 8.
- Install the water inlet filter* referring to step 9. * Or antifreeze cartridge if an electric antifreeze kit is installed.
- Switch ON the appliance at the POWER switch.
- Insert and close the access door. Refer to “Closing the access door” on Page 8.
You have to switch the appliance off and on to unblock decalcification and enable further operation.
g) Filling the water system Tasks within the RV
- Turn on the freshwater supply or switch on the water pump.
- Fill the water system.
– Open all water-release points, e.g., hot water taps, showers, toilets .
– Once water flows evenly, the water system is vented.
– Close the water-release points. - Before you use the water system and the appliance, check the colour of the water at all taps:
– Slightly red –> rinse again.
– Clear –> decalcification is finished. - Remove the warning signs “Caution decalcification in progress”.
Interrupting decalcification
Decalcification is indicated through slow flashing (1 s on, 1 s off) of the status LED 3 (Fig. 9) on the control panel.
- Decalcification can be interrupted by switching the control panel to “Off”.
– Decalcification is interrupted after about 2 s.
– The status LED 3 (Fig. 9) on the control panel flashes quickly.
WARNING Irritation of skin and eyes in case of contact with decalcification agent. Wear protective gloves, eye protection and face protection to avoid contact.- First you must take out the water inlet filter and remove any AquaGo decalcification tablets that it may contain.
– To take out the water inlet filter, refer to “Draining the water and cleaning the water inlet filter” on Page 12.
– Dispose of AquaGo decalcification tablets in accordance with local laws and regulations. - Before you use the water system again, you must rinse it (see Step f) “Rinsing the water system” on Page 15) and fill it with water (see Step g) “Filling the water system” on Page 16).
Accessories
Electric antifreeze kit *
Trump offers an electric antifreeze kit (part no. 77400-01) that keeps the appliance frost-free to -20 °C while you are driving or if there is no gas supply. To operate the kit, you need a 12 V (120 W) power supply from the vehicle’s onboard system. Ask your dealer.
AquaGo decalcification tablets
Trauma offers decalcification tablets (part no. 77300-01) to decalcify the AquaGo.
Trauma rear installation gas connection kit
Trauma offers a rear installation gas connection kit (part no.
77000-37500) if installation from the back of the appliance is required.
Troubleshooting
| Problem | Potential cause | Resolution |
| No hot water at the tap | Gas supply is turned off or interrupted. | Check and/or turn on gas supply. |
| Gas tank is empty. | Refill/replace the gas tank. | |
| The appliance is switched off. | Switch on the appliance according to instructions (refer to “Operating procedures” on Page 9). | |
| Fresh water supply is turned off. | Open the fresh water supply. | |
| Power supply to the appliance is switched off. | Switch on power supply to the appliance. | |
| Defect in the appliance. | LED 2 flashes red (refer to “APPENDIX A – Error Codes” on Page 27) and contact a certified ser- vice technician if necessary. | |
| Boiling noises | Too much lime scale in the appliance. | The appliance must be decalcified (refer to “Decal- cification” on Page 13). |
| Hot water temper- ature too low. | Gas flow to the appliance is too low (gas inlet pres- sure < 2.62 kPa. | Consult vehicle documentation to determine if gas supply is capable of providing the necessary volume of gas for the appliance.
Contact a service technician to verify a suitable gas installation. |
| Volume flow of hot water is too high and/or the temperature of cold water reaching the appliance is too low. | Turn down hot water at the tap or in the shower in order to reduce volume flow. Potentially retrofit a volume flow throttle into the water system. This must be performed only by a certified service technician. | |
| Too much lime scale in the appliance. | The appliance must be decalcified (refer to “Decal- cification” on Page 14). | |
| Water escaping at pressure relief valve. | Water pressure in water system too high. | Adjust the water pump pressure to a maximum of 450 kPa. If the water system is connected to a central water supply higher than 450 kPa (4.5 bar) (rural or urban connection), a water pressure reducer must be used. Install a water pressure reducer (e.g. Truma water pressure regulator) at the fresh water supply. |
| Water cannot expand in the water system. | Contact the vehicle manufacturer about retrofitting a pressure compensation element. | |
| Lime or dirt under the pressure relief valve seat. | Allow the appliance to cool and then slowly raise the test lever (Fig. 3 – 4a) to flush the water system and attempt to force dirt or foreign matter out of the pressure relief valve seat. Replace pressure relief valve. This must be per- formed only by a Truma certified service technician. | |
| Water escaping at the water inlet filter | Lime or dirt under the O-ring seats. | Clean the O-rings and their corresponding sealing surfaces with clean water. |
| The yellow LED 3 is off although an operating mode was selected. | Power switch is OFF. | Switch ON the appliance at the POWER switch. |
| Power supply to the appliance is switched off. | Switch on power supply to the appliance. | |
| The power supply was interrupted. | Reset by switching OFF at the control panel, waiting 2 seconds and then switching on again. |
If fault persists, please contact the nearest Service Australia.
Trauma warranty policy
Our goods come with guarantees that are not and cannot be excluded under the Australian Consumer Law. When you purchase a product, it must be free from faults and will do what it is designed to do. In the event of a problem, you have the right to a remedy. Remedies may include repair, replacement, or refund. Methods of assistance and remedies may vary depending on type of failure, age, and use. If you would like to know more about Consumer Guarantees and the Australian Consumer Law, please visit accc.gov.au Apart from the regulations of the Australian Consumer Law, a warranty is given by Service Australia for 24 months from the date of purchase against any defect arising from faulty materials or workmanship. This warranty applies for appliances sold to customers in Australia. Repairs will be carried out during normal business hours only by Service Australia, or its duly authorized service agents, and are subject to the warranty conditions and exclusions below. Goods returned for repair may be replaced by refurbished goods of the same type rather than being repaired. Customers will be advised if refurbished parts may be used to repair the goods.
Warranty conditions
– The company will only provide service on presentation of proof of purchase, on either the Trauma product or the Caravan / RV / Pleasure Craft in which the Trauma product has been installed, to any authorized service agent. The purchaser must allow the service agent to photocopy the proof of purchase to facilitate the claim to the manufacturer.
– Warranty repairs can only be performed by authorized service agents and under no circumstances will the customer be reimbursed for repairs carried out by unauthorized persons. Tampering with any part of the product by unauthorized personnel will automatically void the warranty.
– The product must be used solely for domestic purposes. With due regard to Australian Law, if the product is used for commercial purposes the warranty is 6 months only.
– As applicable, the products must be used on the appropriate electrical voltage, gas type and pressure, or fuel source.
– If at any time during the warranty period any part or parts are replaced with a part or parts not supplied or approved by Truma, this warranty will immediately become void.
– To avoid transportation damage, the appliance may only be sent to Service Australia if agreed beforehand.
Important notice
Before calling a service technician, please check the operating instructions and the warranty terms and conditions. If the product fails due to failure to comply the operating instructions or is faulty due to abuse, misuse or improper installation, then a service fee shall be charged to the purchaser for a warranty call out. If you have any queries regarding the interpretation of the warranty you should contact Service Australia. Should you have any queries or wish to locate your nearest authorised service agent please contact Service Australia.
Any warranty claim does not exist
– for any appliance which has been
- subject to misuse, neglect, accident, or alteration by any person,
- damaged or destroyed by fire, flood, landslide, act of God, terrorism, or other inevitable accident,
- improperly installed, assembled, or commissioned contrary to the instructions for operation and installation.
- improperly operated, treated, or operated contrary to the instructions for operation and installation, in particular if the maintenance, care and warning instructions are disregarded.
- installed, repaired, or intervened by unauthorized persons or on your own.
– for consumables, wearing parts and in the event of natural wear and tear.
– for cleaning of the system or cleaning and adjustment ofthe gas system.
– if the appliance is provided with spare parts, add-ons or accessories that are not original parts from the manufacturer or have not been approved by the manufacturer; this applies in particular in the case of a networked control of the appliance, if the control devices and software have not been approved by Truma or if the Truma control device (e.g., Trauma CP plus, Trauma iNet Box, Truma iNet X Pro Panel, Trauma iNet X Panel, etc.) is not used exclusively to control Trauma appliances or appliances approved by Truma.
– as a result of damage caused by foreign substances (e.g., oils, plasticizers in the gas, dirt, liquids), chemical or electrochemical influences in the water or if the appliance has otherwise come into contact with unsuitable substances (e.g., chemical products, flammable substances, unsuitable cleaning agents).
– as a result of damage caused by abnormal environmental or inappropriate operating conditions.
– as a result of damage caused by force majeure or natural disasters, as well as other influences for which Trump is not responsible.
– as a result of damage caused by improper transport.
– as a result of changes to the appliance including spare, supplementary or accessory parts and their installation, in particular, the flue gas system or the chimney by the end customer or third parties.
– as a result of wilful or negligent damage.
– as a result of improper, unsuitable, faulty, negligent, or improper use or treatment of the appliance.
– as a result of non-operation of the appliance or resultant damage to the unit where the appliance has been operated in an out-of-level situation.
The freight cost of the appliance or parts, to or from, point of service or transit damage. Service Australia / Trauma are not responsible for resultant loss or damage sustained by the purchaser or failure to operate the appliance or damage resulting from a failure to operate the appliance or damage to the unit where the appliance has not been installed, ventilated, flued, or operated in accordance with the manufacturer’s instructions. Apart from any warranties implied by the Competition and Consumer Act 2010 or any relevant State legislation, all other warranties express or implied whether arising by virtue of statute or otherwise are excluded. For warranty claims in Australia, please contact Service Australia, in other countries the relevant service partners should be contacted (www.truma.com). Having the equipment model and the serial number ready (see type plate) will speed up processing.
Service Australia
Leisure-Tec Australia Pty. Ltd., 50 Metrolink Circuit, Campbellfield, Victoria, 3061, Australia
Telephone: +61 1300 07 2018
E-Mail: [email protected]
In Australia, always notify Service Australia if problems are encountered; in other countries, the relevant service partners should be contacted (www.truma.com).
Having the equipment model and the serial number ready (see type plate) will speed up processing.

• The appliance is now ready for using the control panel inside your vehicle (refer to “Operating modes (control panel)” on Page 10).
The danger of crushing/pinching of fingers when the Easy Drain Lever is closed!



















