MODENA Rapido Series Gas Instant Water Heater User Manual

MODENA Rapido Series Gas Instant Water Heater
This manual book explains everything you need to know about your new product. Please contact our Customer Care should you need further assistance through www.modena.com.
PART 1: IMPORTANT SAFETY INFORMATION
When the water heater is operated, gas combustion will consume a large amount of oxygen and exhaust much carbon monoxide. To avoid the great harm for human health or even death caused by excessive carbon monoxide inhalation, MODENA sincerely advise all users to:
- Read this manual book carefully before installing and operating the water heater for the first time.
- Do not install the water heater in the bathroom.
- Installing and using the water heater must be in accordance with the requirements stipulated in these usage instructions.
- Install a smoke exhaust duct to exhaust waste gases out of the room.
- Make sure that the room where the water heater is installed has enough fresh air and well-ventilated.
- Once the outer wrapping and the inner wrappings of the various parts have been removed, check and make sure that the appliance is in perfect condition. If you have any doubts regarding to the quality and the completion of the appliance accessories, do not use this appliance yet and contact MODENA Customer Care.
- This water heater must be installed by qualified technician.
- In the case of a failure and/or malfunction, all repairs or settings must be done with maximum care and attention by qualified technicians. For this reason, we recommend you to contact MODENA Customer Care; explaining the trouble in details; and mention the name of the model.
- The packaging materials used (such as cardboard, bags, polystyrene foam, nails, etc.) must not be left anywhere in easy reach for children because the packaging materials could potentially cause a hazard. To safeguard the environment, all packaging materials are environment-friendly and recyclable.
- If there any questions about the operation procedure & the safety instruction of this water heater, contact MODENA Customer Care.
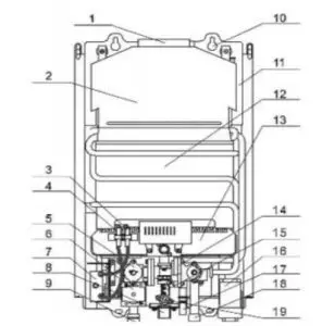
PART 2: NAME OF PARTS


- Flue/Exhaust Duct
- Steam Collector Funnel
- Lighter Plug
- Flame Sensor
- Gas Inlet Valve
- Electromagnetic Valve
- Generator Plug
- Hot Water Outlet
- Gas Inlet
- Hole for Installation
- Rear Plate
- Heat Exchanger Pipe
- Burner
- Water Flow Valve
- Micro Switch
- Battery Box
- Water Drainage Pipe
- Cold Water Inlet
- Temperature Sensor
*Features depend on the type of the product
PART 3: INSTALLATION
Installation Requirement
- Do not install the water heater in a bedroom, basement, bathroom, or any room with poor ventilation. In order to keep the installation room well-ventilated, an air-intake (inlet) hole should be made in the lower area of the room, and the area around the hole should not be less than 100 cm2.
- The flame observation window of the water heater should be located in a position where it can be easily viewed (approximately 150 cm above the floor).
- No cord or electric equipment should be put above the water heater. The water heater should be kept at least 40 cm away from the electronics horizontally. The water heater should be kept away from any flammable substance or liquid.
- Do not install the water heater where adverse winds may blow, causing flame-out or incomplete combustion.
Indoor Installation Position

NOTE
- The positions of the water inlet, water outlet, and gas pipe must be in accordance with the marks on the water heater body.
- Check carefully after the installation has done; make sure that there is no gas or water leak.
- The maximum length of the rubber hose is 2 meters.
- Cord, hose, and pipe are prohibited to pass the side or the upper of the water heater body.
- The installation of the hanger must be horizontal.
Hanger Installation

If the wall is not heat-resistant, it is recommended to coat it with a heat-resistant board that is 100 mm bigger than the water heater in every side and has 10 mm distance from the wall.
Water Heater Hanger
The water heater should be hanged vertically. The standard height of the water heater is adjusted with the parallel position of the flame observation window (peeping hole) to human eyes.

Ventilation Pipe Installation
The water heater must have ventilation pipe. The installation of the ventilation pipe must be in accordance with follow matters:

- The height of the ventilation pipe must be in accordance so that it can exhaust the smoke out.
- The horizontal part of this ventilation pipe must be less than 3 m, and the pipe must be a bit tilted down (±1°), so that the water condensation does not flow back.
- The angle of the ventilation pipe must be 90°, and its quantity should be no more than 3 pieces.
- Inside the ventilation pipe, the upper hole of the smoke exhaust (flue) duct from the back must have more than 250 mm height.
- The upper part of the ventilation pipe must be accompanied with the windproof cover to prevent wind and rain. The distance may not be more than 600 mm from the surrounding buildings.
- Do not install the ventilation pipe in the air replacement part or smoke ventilation track.
- Make sure there is no air leak at the pipe connections; fasten it with strong screws.
How to Install Ventilation
- The air hole must be on the good ventilating position and placed 1/2 under the height of the room.
- The pipe hole must be made outside, close from the upper part of the room, and far from the ventilation pipe.
| Thermal Load (KW) | Minimum Area for the Air Hole and Pipe Hole (cm³) |
| < 12 | 100 |
| 12 – 16 | 130 |
| 16 – 20 | 160 |
| 20 – 26 | 200 |
Gas Pipe Installation

The diameter of the threaded bolt that connects the gas inlet pipe to the water heater is G1/2.
Connecting to the LPG Tank
- Install the connector in the package to the gas inlet valve on the water heater (make sure the seal has been installed). Then, connect it to the hose for gas (rubber hose) with a diameter of 9.5 mm as shown in the picture.
- Make sure to use the gas regulator with the right pressure (the exact gas pressure standard is 2800 Pa for LPG, 2000 Pa for natural gas).
Connecting to the Gas Pipe
- It must use the gas hose or standard metal pipe.
- Gas valve must be installed at the gas inlet pipe.
Valve Installation
Valve must be installed at the gas inlet pipe, water inlet pipe, and water outlet pipe. After the installation, checking must be done to make sure that there is no gas or water leak.
PART 4: HOW TO USE
Preparation
- Insert 2 pieces of battery. Make sure the positive and negative poles of the battery are well-installed (not reversed).
- Open the gas inlet and water inlet valves.
Turning On the Water Heater
When the water pressure is above 0.015 MPa, the water heater will be turned on automatically if the hot water valve is opened. For the water heater that is just installed, the gas pipe perhaps is filled with air and cannot be turned on at the first time. Repeat the on and off process to exhaust the air out until the water heater turns on.
Temperature Control
- Adjust the water and gas controller knobs until the desired hot water temperature is reached.
- If the water inlet valve is installed, the valve may not be rotated excessively to prevent the reduction of the pressure (as a cause of the difference between pipe and valve diameters) that affects the normal operation of water heater.
- At certain places, the water pressure maybe too strong and thus the water cannot be heated. In this case, turn the water inlet valve down (as shown in the illustration picture below).

- Flame can be adjusted by turning the flame controller knob to the ‘max’ or ‘min’ position (refer to the illustration picture below).

Turning Off the Water Heater
To turn the water heater off, switch off the valve of hot water outlet or the water inlet. Then, the flame will automatically extinguish, and the water heater will return to stand-by mode.
NOTE
The water heater cannot be used continuously for a long time. It will automatically turn off after 20 minutes in continuous operation to prevent the accidental carbon monoxide poisoning due to inadvertent or accidental long period use.
PART 5: MAINTENANCE
- This gas instant water heater must be checked by professionals every 6-12 months. Parts of the water heater that need to be checked are in the following:
1. Seal of the gas and water track system.
2. Flexibility of the water and gas piping connection.
3. Functions of all the operating parts.
4. Burner of the flame (for combustion).
5. Air loading and releasing/relief system inside of the room where the water heater is installed.
6. Gas pressure reducer.
7. Apply the lubricants to the gas valve and on its middle part. - Parts of water heater that must be cleaned by professional:
1. Filter at the edge of the water supply line to prevent congestion.
2. Carbon crust on the buckled part of the heat exchanger.
3. The disturbing carbon accumulation and oxidation layer in the igniter. - Maintenance of the water heater by user:
1. Clean off the dirt and dust accumulation on the surface of the water heater with the cloth regularly. Do not use chemical that can change the color of the surface.
2. Clean off the dust and the carbon accumulation inside of the ventilation pipe and the heat exchanger regularly to smooth out the smoke line.
NOTE
Remove the ventilation pipe; and clean the heat exchanger part with a soft brush. During the cleaning, do not let the dirt and dust enter the fire hole of the burner and also into the part of electric tools. Do not eliminate or damage the tools. When re-install ventilation pipe after cleaning, make sure to fasten all parts of connector.
PART 6: TROUBLESHOOTING
| Problem | Possible Cause | Recommended Actions |
| Over-high water pressure. | If the water pressure exceeds 0.5 MPa, the water outlet valve will release the water and lower the water pressure. | Increase the limit of the valve pressure in accordance with the local water supply pressure. |
| The water heater automatically turns off after 20 minutes continuous operation. | After it has been used for 20 minutes, the water heater will turns off automatically | Turn on the water heater again after 5 seconds. |
| Over-low water pressure. | If the water pressure is under 0.015 MPa, the water heater cannot be turned on. | Use the water heater after the pressure is higher. |
| Low battery. | The battery power will reduce after some time of use, so that the water heater cannot be turned on. | Change the battery. |
| Excessive heat protection. | Water heater will turn off automatically when the temperature is above 77 o C. | Turn on the water heater again after the water becomes cold. |
PART 7: SPECIFICATION
| Model | GI 6 V | GI 6N V |
| Type | Gas Instant Water Heater | |
| Color | Silver | |
| Installation | Vertical | |
| Heat Source | LPG | Natural Gas / LNG |
| Water Volume Controller | Yes | |
| Gas Volume Controller | Yes | |
| Flame Controller | Yes | |
| Low Water Pressure | Yes | |
| Flame Off Safety | Yes | |
| Automatic Shut-off | Yes | |
| Overpressure Safety | Yes | |
| Thermostat | Yes | |
| Water Flow Rate | 6 L/min | |
| Gas Input | 1 kg/h | |
| Generated Calorie | 10285.90 kcal/jam | |
| Water Pressure | 0.015 – 0.5 MPa | |
| Water Pipe Diameter | 0.5 Inch | |
| Maximum Temperature | 75 oC | |
| Product Dimension | 300 x 150 x 440 mm | |
| Product Weight | 5 kg | |
Specifications of this appliance may change without notice to improve the quality of the product. Pictures in this manual are schematic and may not match your product exactly. Values stated on the machine labels or in the documentation accompanying it are obtained in the laboratory in accordance with the relevant standards. Depending on the operational and environmental conditions of the appliance, values may vary.






















