110V/50-60HZ
User Manual
CLT13L Gas Water Heater
NOTE: To purchase accessories and / or spare parts for this product, contact us at the contact center (depending on the number of your ountry that indicates the warranty certificate) or our social networks.
www.drijainternational.com
SAFETY PRECAUTIONS
- Please read the instruction manual carefully before installation and operation.
- The water heater shall be installed in the well-ventilated place. It is strictly prohibited to be installed in the bathroom, bedroom, basement, living room and cabinet.
- Only appointed gas on the rating label or specification shall be used.
- There should be no wooden floor in the room where the water heater is installed, and the room must be provided with the exhaust and floor drain.
- The water heater must be mounted with flue pipe to discharge the exhasust outdoors.
- In the case of unattended monitoring, the water heater shall not be in operation.
- When an abnormal smell (gas leakage) is detected, do not turn on/off the electrical switches or igniting fire. Please close main gas valve, open windows and doors fully till the smell disappears.
- The electric outlet should have a reliable grounding device.
- When a fault occurs, please refer to manual processing or contact the seller, do not disas-semble and dispose by yourself.
- Children can operate the unit must be under the guidance of an adult.
OPERATION INSTRUCTIONS
- Make sure the gas type correct, good ventilation, gas supply system without leakage and qualified gas regulator; then turn on the gas valve.
- Forced type water heaters must be connected to power then turn on the power switch.
- Open the water inlet valve or outlet valve, the water heater will be automatically ignited, and hot water flows out immediately. Close the water inlet valve or water outlet valve, the water heater will be turned off, then shut off the main gas supply.
- The water flow volume and water temperature also can be controlled by the adjusting knob at the bottom of the water heater.
- Setting temperature level can adjust the firepower and water temperature.
- Make sure to check hot water temperature by hand before taking a shower to avoid scalding.
- Make sure to turn off the gas and water inlet valve after use. It is suggested to drain out the water inside the heater for not freezing in winter or cool weather below zero degree.
Dear distinguished customers:
Thanks for choosing our gas water heater. Please kindly read this manual before operation. Hope our product could bring you an enjoyable experience of warm showering.
Kind Reminder:
A lot of carbon monoxide will be generated during the operation of gas water heater, which will hurt your health, even lead to death. Therefore, please follow up the operation instruction on this manual strictly. We won’t take any responsibility on the damage, hurt or death when the cautions in this manual are not followed.
- Please keep good ventilation in the place where gas water heater installed
- Flue pipe must be installed for exhausting waste gas
Features:
- Intelligent CPU control could provide the ideal performance data according to the working water flow, gas pressure, water temperature and etc.
- Temperature setting ranges from 35°C to 65°C, it is very convenient to set your ideal temperature freely
- The thermostatic control works together with proportion valve could guarantee the water with constant temperature automatically
- LED display, all controls are just simple to press the buttons
- Low water pressure is workable to start up, 0.02MPa (3Umin)
- Memory function can provide previous setting when restart the gas water heater
- Burners can be adjusted separately in Summer mode or Winter mode
- Dynamics icons on display for different functions, including temperature, burning state, showering, motor fan, error code, warning, and etc.
- Multiple protections included, such as anti-dry combustion, flame failure protection, overheat protection, motor malfunction, earth leakage, wind pressure, auto release function for over water pressure
SPECIFICATIONS
| Model No. | CLT13L |
| Rated heating power | 26kW |
| Rated Capacity of hot water LIT=20K [1/min](±10%) | 13L/min |
| Exhaust type | Forced type by motor |
| Ignition type | Pulse ignition |
| Working water pressure | 0.015-0.8MPa |
| Water heat exchanger weight | 1.4kg |
| Voltage/Frequency | 110V/50-60Hz |
| Gas pressure | LPG: 2800pa |
| Aluminum pipe diameter | (p60 |
| Input nut | G1/2 |
| Output nut | G1/2 |
| Gas input nut | G1/2 |
Main componets:

Cautions for safety operations:
The below listed items shall be strictly followed to prevent the user and other people from suffering an injury and to prevent your property from being damaged.
- When the gas leakage is detected, close the main gas valve, open the windows and doors fully, and call your dealer or gas company.
Do not turn on/off the electrical switches or ignite fire. A fire or explosion may be caused.
- Do not use the heater when the flue duct is removed or clogged, when the flue duct is removed or clogged, the exhaust air leaks into the room and the abnormal combustion of the heater may be caused.
- When an abnormal combustion, smell and sound is detected or when a fire or an earthquake takes place, make sure to follow the below procedures: Close hot water tap, turn off the main switch of the heater, and close main gas valve and main water valve
If the abnormal condition is kept unchanged, please call your dealer or gas company
- Make sure to turn off the main switch of the heater and to close the main gas valve when the heater is not used for a long time. And please drain out the water inside the heater for not freezing.
- Do not use gas and power supply other than specified in the specifications label attached on the heater. If a different gas or power supply is used, a fire or a carbon monoxide intoxication may be caused by an abnormal combustion or the heater.
- Keep the inflammables away from the heater, if the minimum distance (250mm) from the inflammables is not kept, the fire may be caused.
- Make sure to check hot water temperature by hand before taking a shower.
Caution for getting burnt, you may be scalded by the hot water. - Plug in firmly, otherwise the heater may be malfunctioned.
Remove dusts on the plug occasionally, if any dust gathered on the plug, the electrical insulation becomes poor due to humidity and may cause a fire. Do not touch an electric plug with wet hand to avoid electrical shock.
When power supply is plugged in or out, make sure to do so by holding the plug firmly. - Do not use the heater other than supplying hot water for bath and shower, or a fire or a trouble of the heater may be caused.
- Do not touch a flue duct during operation or right after the heater is turned off, or you may get burnt.
- Do not drink water kept in the heater for a long time nor use it for cooking, otherwise your health may be hurt.
Installation
Installation or relocation of the heater must be done by a registered gas installer.
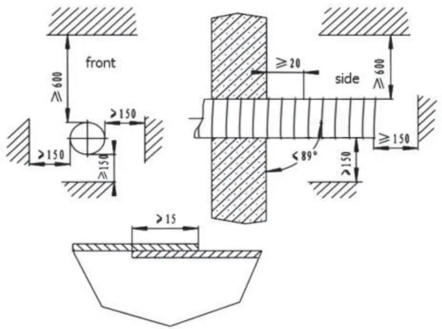
- The gas water heater must be installed in a well-ventilated room with floor drain, the flue pipe must runs outside the room.
- The following installation positions are not recommended: bedroom, basement, living room, bathroom, kitchen cabinet, staircase or exit (it is workable with distance of 5M from staircase or exit).
- Fix the water heater onto the wall with screws, keep the distance of at least 10mm from the wall, and make sure to confirm the heater is grounded. If not grounded, an electric shock may be caused by an electric leakage.
- Keep the water heater installed vertically, confirm the gas inlet, water inlet, and water outlet carefully before connecting the corresponding pipes. Make sure no gas leakage and water leakage after installation.
- Aluminum pipe installation as follows:
The gap between the pipe and wall should be sealed, keep the pipe with a leaning angle of 1 ° to avoid the rain or water flows backwards. - Make sure the inlet water pressure is more than the starting water pressure before connecting the water inlet pipe to the faucet.
- Water outlet pipe should use the flexible tube which can resist high water pressure and high water temperature.
- Gas inlet pipe normally works with 1/2′ screw thread, LPG pressure: 2800Pa, NG: 2000Pa.
Operation Instruction
- Hot water tap is opened when the lever is up in the following explanation
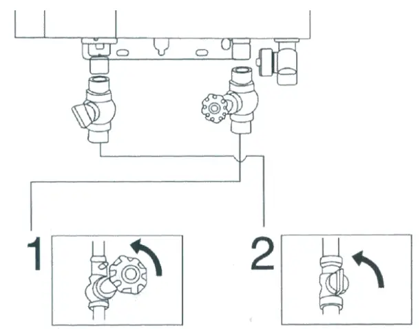
To confirm water comes out, open the main water valve, open the hot water tap to flow out water, and then close the tap.
To confirm gas supply and open gas main valve To confirm the plug in power.
- Set the desired hot water temperature by pressing “up” or “down” button of the control panel, the water flow out will gradually reach the temperature you desired after 10 seconds.

- If the water temperature cannot reach you desired, adjusting the water flow out volume by turning the “water adjustment knob”, the clockwise direction will decrease water flow volume, and anti-clockwise direction will increase the water flow volume.
- Open hot water tap, the water heater will ignite automatically.

- Close hot water tap, water heater will turn off the flame immediately.

Maintenance
Carry out the daily inspection and maintenance regularly following the procedure described below.
- Before maintenance, close main gas and water valves, pug out power supply and wait until the heater is cooled down.

- Wipe the heater with swab or towel using a kitchen cleanser. Do not use benzene or thinner.

- Remove the filter at water inlet, clean the filter with a toothbrush, and fix the clear filter at water inlet. 4) Please check if any abnormal operation sound, any changes on the appearance of the heater, or any inflammables around the heater.
Trouble shootings
If there is any trouble on the heater, please follow the below listed procedures:
- Symptom 1: Indicator light is not on Items to be confirmed if the power off or not, and make sure the plug in.
- Symptom 2: No operation (no hot water flow out) Items to be confirmed if the gas valve opened fully, water valve opened fully, any suspension of the water supply, power failure or not.
- Symptom 3: Water is not warm enough Please check Items to be confirmed if the gas valve fully opened. Are hot and cold water mixed properly? Establish the temperature if over low? Or adjust the water flow too much?
- Symptom 4: Hot water temperature is not low enough Items to be confirmed if the main water valve opened fully, water filter clogged or not, Establish the temperature if over high?
- Symptom 5: Hot water becomes cloudy when hot water tap is closed slightly. It is normal, as air in the water becomes bubbles.
- Symptom 6: Steam come out from a flue duct on a cold day. This is not abnormal. Water in the exhaust air becomes vapor.
- Symptom 7: Fan rotating sound is heard after hot water supply is stopped. Fan continues to rotate for about 30 seconds so that the heater will be re-ignited promptly.
- Bumpy noise is heard when hot water tap is closed suddenly. This sound is normally heard when hot water supply is stopped suddenly.
- When hot water tap is closed slightly, the combustion stops and hot water becomes cold. When the water pressure becomes lower than the minimum ignition water pressure, the heater will be turned off.
Safety devices will be activated when something wrong with the heater. There are 12 error codes on display for different malfunctions.
- EO: Probe malfunction
Reason 1: The terminals of water flow transducer and temperature sensor don’t connect well with PCB
Solution: Connect the terminals of water flow transducer and temperature sensor with PCB again in a proper way.
Reason 2: The malfunction of temperature sensor and water flow transducer.
Solution: Replace temperature sensor or water flow transducer. - El: Ignition failed after opening the water heater
Reason 1: Main gas valve not opened
Solution: Completely open the gas valve, or replace the gas tank with a new one.
Reason 2: Air inside the gas pipe
Solution: Constantly open and close the hot water valve until the flame is ignited.
Reason 3: Gas pressure is not suitable
Solution: Adjust the gas pressure to the suitable range
Reason 4: Water pressure is not sufficient
Solution: Asked maintenance personnel to check the water pressure
Reason 5: Malfunction of electric controlled system
Solution: Contact the maintenance personnel - E2: Sudden flame-out during usage
Reason: Loose connection between the flame probe and wires
Solution: Check the connection - E3: Overheat protection
Reason 1: The sensor detected the water temperature over 75″C
Solution: Restart the water heater
Reason 2: Temperature sensor malfunction
Solution: Replace a new temperature sensor - E4: Flue-pipe blocked or wind-pressure switch malfunction
Reason 1: The flue-pipe is blocked
Solution: Clear the flue pipe, and make it through
Reason 2: Bad connection between the wind pressure and wires
Solution: Check the connection
Reason 3: Wind pressure switch malfunction
Solution: Replace a new wind pressure switch - E5: Solenoid-controlled valve malfunction
Reason 1: Bad connection between the PCB and solenoid valve
Solution: Check the connection, and make sure they are in good contact
Reason 2: Solenoid valve malfunction
Solution: Replace a new solenoid valve - E6: Flame cannot die out immediately after closed the water heater
Reason: Solenoid valve malfunction
Solution: Replace a new solenoid valve - E7: Fan motor malfunction
Reason 1: Bad contact between the motor wire terminal and PCB
Solution: Connect them again
Reason 2: Motor malfunction
Solution: Replace a new motor - E9: Dry-combustion malfunction
Reason 1: The connection between the PCB and anti-dry combustion protection device is poor
Solution: Check the connection, connect them again in a proper way
Reason 2: Anti-dry combustion protection device failure
Solution: Replace a new protection device - EE: Power-off protection
Reason: Power off during the operation Solution: Switch off the unit, and restart. - EA: Water valve malfunction
Reason 1: Bad connections between the wires
Solution: Connect the wire terminals again in a proper way
Reason 2: The motor in water valve doesn’t work
Solution: Replace a new water valve - EN: Time-out Reason: It is normal the water heater will stop working when time is over
Solution: Restart the water heater
After-sale service
If abnormal situation occurs and your water heater couldn’t operate normally, please check item by item according to the section Trouble shootings. If there is any problem you cannot handle or you cannot understand, please do not handle it by yourself. Please contact the appointed service points. You can also contact the customer service department of our company. Thanks for your cooperation.
Packing list
The whole set of water heater includes:
- Water heater 1 piece
- Instruction manual 1 piece
- Aluminum pipe 1 piece
- Mounting screws 4 pieces
- Gas hose (optional)
- Shower set (optional)

Do not turn on/off the electrical switches or ignite fire. A fire or explosion may be caused.
If the abnormal condition is kept unchanged, please call your dealer or gas company
Caution for getting burnt, you may be scalded by the hot water.
Remove dusts on the plug occasionally, if any dust gathered on the plug, the electrical insulation becomes poor due to humidity and may cause a fire. Do not touch an electric plug with wet hand to avoid electrical shock.
The gap between the pipe and wall should be sealed, keep the pipe with a leaning angle of 1 ° to avoid the rain or water flows backwards.
To confirm water comes out, open the main water valve, open the hot water tap to flow out water, and then close the tap.
To confirm gas supply and open gas main valve To confirm the plug in power.






















