DRAPER 06732 Far Infra Red Diesel Heater

Please note that model number 06732 is illustrated throughout this instruction booklet.
These instructions accompanying the product are the original instructions. This document is part of the product, keep it for the life of the product passing it on to any subsequent holder of the product. Read all these instructions before assembling, operating or maintaining this product.
This manual has been compiled by Draper Tools describing the purpose for which the product has been designed and contains all the necessary information to ensure its correct and safe use. Following all the general safety instructions contained in this manual, it will ensure both product and operator safety, together with the longer life of the product itself.
Ali photographs and drawings in this manual are supplied by Draper Tools to help illustrate the operation of the product.
Whilst every effort has been made to ensure the accuracy of the information contained in this manual, the Draper Tools policy of continuous improvement determines the right to make modifications without prior warning.
INTRODUCTION
USER MANUAL FOR: Far infra-red diesel heater Stock Nos: 06732, 06733 & 07108
Part Nos: LMP510 & LMP530
REVISION HISTORY
Date first published: June 2021.
As our user manuals are continually updated, users should make sure that they use the very latest version.
Downloads are available from: http://drapertools.com/manuals
- Draper Tools Limited
- Hursley Road
- Chandler’s Ford
- Eastleigh
- Hampshire
- SO53 1YF
- UK
Website: drapertools.com
Product helpline: +44 (0) 23 8049 4344
General Fax: +44 (0) 23 8026 0784
UNDERSTANDING THIS MANUAL’S SAFETY CONTENT
WARNING! – Information that draws attention to the risk of injury or death.
CAUTION! – Information that draws attention to the risk of damage to the product or surroundings.
COPYRIGHT © NOTICE
Copyright © Draper Tools Limited.
Permission is granted to reproduce this publication for personal and educational use only. Commercial copying, redistribution, hiring or lending is prohibited.
No part of this publication may be stored in a retrieval system or transmitted in any other form or means without written permission from Draper Tools Limited.
In all cases this copyright notice must remain intact.
WARRANTY
WARRANTY
- Draper tools have been carefully tested and inspected before shipment and are guaranteed to be free from defective materials and workmanship.
- Should the tool develop a fault, please return the complete tool to your nearest distributor or contact Draper Tools Limited, Chandler’s Ford, Eastleigh, Hampshire, SO53 1YF. England.
Telephone Sales Desk: +44 (0) 23 8049 4333 or Product Help Line +44 (0) 23 8049 4344. - A proof of purchase must be provided with the tool.
- If upon inspection it is found that the fault occurring is due to defective materials or workmanship, repairs will be carried out free of charge. This warranty period covering parts/labour is 12 months from the date of purchase except where tools are hired out when the warranty period is 90 days from the date of purchase. This warranty does not apply to any consumable parts, any type of battery or normal wear and tear, nor does it cover any damage caused by misuse, careless or unsafe handling, alterations, accidents, or repairs attempted or made by any personnel other than the authorised Draper warranty repair agent.
Note: If the tool is found not to be within the terms of warranty, repairs and carriage charges will be quoted and made accordingly. - This warranty applies in lieu of any other warranty expressed or implied and variations of its terms are not authorised.
- Your Draper warranty is not effective unless you can produce upon request a dated receipt or invoice to verify your proof of purchase within the warranty period.
- Please note that this warranty is an additional benefit and does not affect your statutory rights.
- Draper Tools Limited.
SCOPE
This heater is designed to heat large, semi-open areas by means of combustion of Diesel or Kerosene fuel, and is electrically operated. Any other application is considered mis-use.
SPECIFICATION
- STOCK NOS. ……………………………………………………………………………………. 06732 / 06733 / 07108
- PART NOS. ……………………………………………………………DSH-FIR400 / DSH-FIR515 / DSH-FIR675 MOTOR:
- RATED VOLTAGE…………………………………………………………………………………………………. 230V
- RATED FREQUENCY…………………………………………………………………………………………….50HZ
- RATED INPUT (IGNITION)……………………………………………………………………. 60W / 70W / 70W
- RATED INPUT (RUNNING)…………………………………………………………………… 40W / 50W / 50W
- HEAT OUTPUT…………………………40,000BTU/11.6KW / 51,500BTU/15.1KW / 67,500BTU/19.8KW
- FUEL……………………………………………………………………………………………………DIESEL/KEROSENE
- DIESEL CONSUMPTION………………………………………….. 0.9LTRS/HR / 1.2LTRS/HR / 1.7LTRS/HR
- TANK CAPACITY ………………………………………………………………………………25LTR / 30LTR / 45LTR
- WEIGHT (NETT) 40KG / 47KG / 58KG
- DIMENSIONS 710X320X1,110MM / 920X320X1,110MM / 1235X320X1,110MM
HANDLING AND STORAGE
- Care must be taken when handling this product.
- Dropping or letting this heater fall-over could also result in personal injury. This product is not a toy and must be respected.
- Environmental conditions can have a detrimental effect on this product if neglected.
- Exposure to damp air can gradually corrode components.
- If the product is unprotected from dust and debris, components will become clogged.
- If not cleaned and maintained correctly or regularly, the machine will not perform at its best
HEALTH AND SAFETY INFORMATION
GENERAL HEATER SAFETY WARNINGS
Warning! Read all safety warnings and all instructions. Failure to follow the warnings and instructions may result in electric shock, fire and/or serious injury. Save all warnings and instructions for future reference
- Work area safety
- Keep work area clean and well lit. Cluttered or dark areas invite accidents.
- Do not operate heaters in explosive atmospheres, such as in the presence of flammable liquids, gases or dust. Heaters create sparks which may ignite the dust or fumes.
- Keep children and bystanders away while operating a heater. Distractions can cause you to lose control.
- Electrical safety
- Heaters plugs must match the outlet. Never modify the plug in any way. Do not use any adapter plugs with earthed (grounded) heaters. Unmodified plugs and matching outlets will reduce risk of electric shock.
- Avoid body contact with earthed or grounded surfaces such as pipes, radiators, ranges and refrigerators. There is an increased risk of electric shock if your body is earthed or grounded.
- Do not expose heaters to rain or wet conditions. Water entering a heater will increase the risk of electric shock.
- Do not abuse the cord. Never use the cord for carrying, pulling or unplugging the heater. Keep cord away from heat, oil, sharp edges or moving parts. Damaged or entangled cords increase the risk of electric shock.
- Do not operate heater outdoors.
- Do not operate in damp or wet environments
- Personal safety
- Stay alert, watch what you are doing and use common sense when operating a heater. Do not use a heater while you are tired or under the influence of drugs, alcohol or medication. A moment of inattention while operating heaters may result in serious personal injury.
- Use personal protective equipment. Always wear eye protection. Protective equipment such as dust mask, non-skid safety shoes, hard hat, or hearing protection used for appropriate conditions will reduce personal injuries.
- Prevent unintentional starting. Ensure the switch is in the off position before connecting to power source.
- Remove any adjusting key or wrench before turning the heater on. A wrench or a key left attached to a rotating part of the heater may result in personal injury.
- Dress properly. Do not wear loose clothing or jewellery. Keep your hair, clothing and gloves away from moving parts. Loose clothes, jewellery or long hair can get sucked into the in moving parts of the heater.
- Heater use and care
DO NOT move the heater when it is in operation or when plugged into the mains supply.
Only move heater once it has cooled and it has been unplugged.- Use the correct heater for your application. The correct heater will do the job better and safer at the rate for which it was designed.
- Do not use the heater if the switch does not turn it on and off. Any heater that cannot be controlled with the switch is dangerous and must be repaired.
- Disconnect the plug from the power source before making any adjustments. Such preventive safety measures reduce the risk of starting the heater accidentally.
- Store idle heater out of the reach of children and do not allow persons unfamiliar with the heater or these instructions to operate the power tool. Heaters are dangerous in the hands of untrained users.
- Maintain heaters. Check for misalignment or binding of moving parts, breakage of parts and any other condition that may affect the heaters operation. If damaged, have the heater repaired before use. Many accidents are caused by poorly maintained heaters.
- Use the heater, in accordance with these instructions, taking into account the working conditions and the work to be performed. Use of the heater for operations different from those intended could result in a hazardous situation.
- Service
- Have your heater serviced by a qualified repair person using only identical replacement parts. This will ensure that the safety of the heater is maintained.
Warning!
Diesel fuel is carcinogenic. Take care when transporting, refuelling and storage of diesel fuel. Always clean up fuel spills with regard to local legislative requirements.
Warning!
Before using this heater please read this OPERATING INSTRUCTION very carefully. This USER’S MANUAL has been designed to instruct you as to the proper manner in which to assemble, maintain, store, and most importantly, how to operate the heater in a safe and efficient manner.
Danger!
Improper use of this heater can result in serious injury or death from burns, fire, explosion, electrical shock, and/or carbon monoxide poisoning.
Warning!
Risk of Burns/Fire/Explosion!
- NEVER use fuels such as petrol, benzene, paint thinners, or other oil compounds in this heater (RISK OF FIRE OR EXPLOSION)
- NEVER use this heater where flammable vapours may be present
- NEVER refill the heater’s fuel tank while heater is operating or still hot. This heater is EXTREMELY HOT while in operation
- Keep all combustible materials away from this heater.
Use only diesel or kerosene fuel according to EN 267. For details please refer to your fuel supplier or contact your dealer.
Warning!
Never leave the heater unattended while burning!
Warning!
Risk of Indoor Air Pollution!
- Use this heater only in well ventilated areas!
- Provide at least a three square foot (2,800 sq cm) opening of outside air for every 25,000Kcal/hr of heater rating.
- People with breathing problems should consult a physician before using the heater.
- Carbon Monoxide Poisoning: Early signs of carbon monoxide poisoning resemble flu-likesymptoms such as headaches, dizziness, and/or nausea. If you have these symptoms, your heater may not be working properly.
- Get fresh air at once! Have the heater serviced. Some people are more affected by carbon monoxide than others. These include pregnant women, those with heart or lung problems, anaemia, or those under the influence of alcohol, or at high altitudes.
- If using in semi-enclosed environments – use optional flue kit – 07399.
Warning!
Installation of the heater & flue kit must only be undertaken by a suitably qualified person.
Warning!
Risk of Electric Shock!
- Use only the electrical power (voltage and frequency) specified on the model plate of the heater.
- Use only a three-prong, grounded outlet and extension cord.
- ALWAYS install the heater so that it is not directly exposed to water spray, rain, dripping water, or wind.
- ALWAYS unplug the heater when not in use.
- Minimum Clearances
- Outlet – 8 feet (250cm).
- Sides, Top and Rear – 4 feet (125cm).
- NEVER block air inlet (rear) or air outlet (front) of heater.
- NEVER move or handle heater while still hot.
- NEVER transport heater with fuel in its tank.
- When used with optional thermostat or if equipped with a thermostat, the heater may start at any time.
- ALWAYS locate heater on a stable and level surface.
- ALWAYS keep children and animals away from heater.
- Use Diesel or 1-K kerosene in this heater. #1 fuel oil is a suitable substitute.
- Bulk fuel storage should be a minimum of 25ft from heaters, torches, portable generators, or other sources of ignition. All fuel storage should be in accordance with National, state, or local authorities
CONNECTION TO THE POWER SUPPLY
Caution: Risk of electric shock. Do not open.
This appliance is supplied with an approved plug and cable for your safety. The value of the fuse fitted is marked on the pin face of the plug. Should the fuse need replacing, ensure the substitute is of the correct rating, approved to BS1362 and ASTA or BS Kite marked.
- ASTA
- BSI
The fuse cover is removable with a small plain slot screwdriver. Ensure the fuse cover is replaced before attempting to connect the plug to an electrical outlet. If the cover is missing, a replacement must be obtained or the plug replaced with a suitable type.
- If a replacement plug is to be fitted this must be carried out by a qualified electrician.
- The damaged or incomplete plug, when cut from the cable shall be disabled to prevent connection to a live electrical outlet.
- This appliance is Class I † and is designed for connection to a power supply matching that detailed on the rating label and compatible with the plug fitted.
- If an extension lead is required, use an approved and compatible lead rated for this appliance. Follow all the instructions supplied with the extension lead.
- Earthed: This product requires an earth connection to protect against electric shock from accessible conductive parts in the event of a failure of the basic insulation.
IMPORTANT
If using an extension lead, follow the instructions that came with your lead regarding maximum load while cable is wound. If in doubt, ensure that the entire cable is unwound. Using a coiled extension lead will generate heat which could melt the lead and cause a fire.
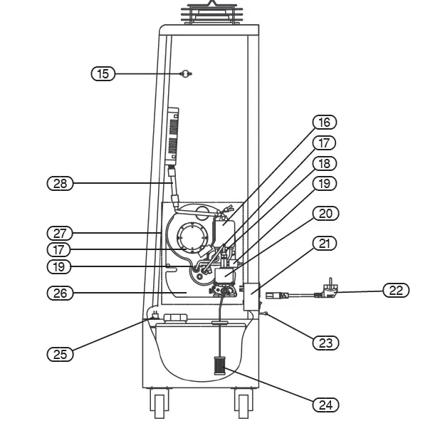
TECHNICAL DESCRIPTION
IDENTIFICATION
- Exhaust
- Heater control plate
- Air outlet
- Fan
- Motor
- Caster
- Nozzle
- Combustion chamber
- Caster
- Front safety guard
- Far infra-red heater tube
- Silencer
- Silencer
- Exhaust connection for optional flue kit 07399

- Thermostat
- Ignitor
- Fuel pipes
- Photocell
- Solenoid valves
- Pump
- Filter
- Power cord
- Thermistor
- Filter
- Tipover switch
- Pump
- Burner
- Control panel connector
UNPACKING AND CHECKING
PACKAGING
Carefully remove the product from the packaging and examine it for any sign of damage that may have happened during shipping. Lay the contents out and check them against the parts shown below. If any part is damaged or missing, please contact the Draper Help Line (the telephone number appears on the Title page) and do not attempt to use the product.
The packaging material should be retained at least during the warranty period, in case the machine needs to be returned for repair.
Warning!
- Some of the packaging materials used may be harmful to children. Do not leave any of these materials in the reach of children.
- If any of the packaging is to be thrown away, make sure they are disposed of correctly, according to local regulations.
- You must remove all protective transit packaging from the machine before first use.
FUELLING
FUELLING STEP – FIG. 1
- Open the fuel inlet cap for the fuel tank.
- Carefully put in the fuel, trying not to spill the fuel. – At this time, fill until the fuel gauge reaches ‘F’.
- Tightly close the fuel cap.
- Check if fuel has leaked around fuel tank or each part of the heater. If it has leaked, clean it.
Warning!
- During production and assembly, some production substance will be on the heater tubes – these will simply & harmlessly burn off during the first 1-2 hours of use. After this period of use the heater should not emit unusual smells during use.
- Only refuel on flat & level ground.
- Never refuel the heater when it is operating. The heater must be switched off & cooled BEFORE any attempt is made to refuel it.
- Do not over-fuel the heater, only use enough fuel to bring the fuel gauge up to the full mark. If you do spill fuel you MUST ensure that it is fully cleaned off of the heater and the surrounding area before use.
- Do not use “old” or “second-hand” fuel or any fuel other than clean, fresh, new Diesel, or Kerosene. Using any other type of fuel will invalidate the warranty and could cause an explosion or fire.
- Do not put in low-quality fuel. Always use high-quality and clean fuel. It may cause a breakdown.
OPERATING THE HEATER
SET-UP
- Put the plug into the outlet.
- The current temp. and setting temp. both are displayed during the operaton.
- In order to be operated, the setting temperature should be higher than the current temperature.
Power On
Important! For first use you may need to bleed the fuel pump lines – this is a simple operation and should only be required for the initial start or when the machine has not been used for some time – please see section 9.3 below.
SELECT TEMPERATURE OR TIME CONTROL MODE – FIG. 2
- Time control lamp displays when selected. Every 30min. Operation and 30Min Pause
- The repetition time can be set from 5 min. to 25 min. (Only every 5 minutes.)
- Repetition time 15 means, every 15min. Operaton and 15min. Pause
- Every 1 min. is shortened as time goes on
- Time is shortened every 1 min. when the set time Time is shortened every 1 min. when the set time is 10 min. (10, 9, 8…….1)
- Time is shortened every 1 min. when the set time is 20 min. (20, 19, 18…….1)
- Temperature control lamp displays when selected.
- You can set the desired temperature between ‘0~40°C’ by pressing the ‘+/-’ button.
- When the setting temp. is higher than the current temp. it starts operation and the setting temp. is less than the current temp. the operation is stop
OPERATING THE HEATER
To select whether the off-timer mode is operated or not. At that time, off-timer lamp displays) Set Temp. / Time indicates the reserved time.
- By pushing ‘+/_’ button, the time is changed every hour. It can be set in 24 hours total.
- Set Temp. or Set Time indicates again after 2 seconds
- Remain time indicates by flickering 10 times every 5 min.
- Off Timer is indicated when setting the off timer for 5 hours. (5, 4, 3hr …….55, 50…5min)
- During the operation, if you push Off Timer button, the Off timer function is canceled.
Low fuel warning light
The heater will turn off in one minute. Once the heater has cooled, switch off and refuel as necessary.
Service light
If the service light is showing – refer to Troubleshooting Guide – 13.1.
HOW TO BLEED FUEL LINES
- If you notice that the fuel pump is noisy and the heater is not igniting it is most likely that air has entered the fuel pipes due to the heater being operated without fuel.
- It is simple to bleed the air out of the fuel line.
- Simply open the access cover on the front of the heater and remove the rubber bung to expose the fuel bleed screw.
- Release the bleed screw anti-clockwise for 2-3 turns.
- Press the on the button to operate the pump unit and after around 10 seconds you will see the air bleed out of the fuel line.
- Tighten the screw and operate the heater as normal.
- Depending on how much air has been sucked into the heater, you may need to bleed the fuel line in this manner up to 4 times.
MAINTENANCE
DAILY CHECK-UP
- Check-up and cleaning must be done after stopping the ‘combustion’ of the heater.
- Check if fuel leaks from any place near the fuel tank.
- Check if the combustion chamber or heating tube is corroded and damaged.
- If the heat-reflecting board is dusty, clean it.
- Check if the heater makes soot from the exhaust pipe.
- The burner is adjusted to be suitable for the function of the heater. If there are no user-serviceable parts on this heater – all service functions must be carried out by a suitably qualified professional.
Warning!
Cleaning the heater should be done after unplugging the cable and when it is completely cooled down. It should be cleaned with a damp cloth and then dried. NEVER pour water on or use spray detergents or cleaners on or around this heater.
REGULAR INSPECTION
- Combustion furnace and heating tube (heat exchanger): once a year, check for soot and then clean it as required.
- Combustion furnace and reflection board: once a year, check for corrosion and pollution and then clean it (when it is corroded too much, exchange it).
- Fuel filter (inside the tank): once a year, check for pollution with naked eyes and then exchange it.
TIPS BEFORE INSTALLATION
- ONLY use the heater on a solid flat surface that is noncombustible (concrete etc). You MUST NOT use the heater in a non-level surface, as this will affect the combustion efficiency and operation.
- You MUST have suitable space around the heater during its operation – minimum of 1.5 metres on either side, the front and the top and at least 10cm from the back wall.
- If you are using the heater indoors, we would strongly recommend the Draper 07399 flue kit to ensure the exhaust fumes are routed out of the building safely.
- Below is an example of a flue kit attached to the heater – but any flue use MUST be installed and tested by a suitably qualified professional to ensure safe operation of the heater.

WIRING

TROUBLESHOOTING
| Problem | Possible Cause | Remedy |
| E1: Ignition failure | The heater does not ignite | Out of fuel, refill with the correct fuel Fuel pipe is air-locked, bleed fuel pipe as per the manual Photocell is dirty, clean photocell as per manual |
| E3: Temperature sensor | The temperature sensor is not functioning | Check temperature sensor connection / replace |
| E4: Thermal overload | Overload sensor fault | Clean & test sensor connection / replace |
| E5: Tilt switch activation | The heater has been moved while operational | Ensure heater is stable Check sensor connection |
| E6: No fuel | Fuel has been used | Refill with clean, fresh Diesel / Kerosene as per instructions |
| Hi | Thermostat measuring above 50°C | Check thermostat sensor operation |
| All the lamps in front control panel are turned off | Power failure Power cable is unplugged Fuse is disconnected | Connect to power
Change the fuse |
| The heater turns on and off regularly | Operation setting is selected as “Time” | Select “Temperature” |
| Flow-meter does not work but the heater operates | Flow-meter is disconnected | Connect the line |
| Smoky smell is made during initial operation | The smell is made as the manufacturing contaminants burn off | No smell will be made 1-2 hours later |
| Fuel smell is too strong | As the heater turns off after the operation, it might have some smell Fuel is leaked during refuelling | Operate more than 15 minutes
Clean out leaked fuel |
| Internal temperature displays higher than normal | Check for location of temperature sensor at the back of the heater (If sensor is placed inside the heater) | Fix the sensor in the right place |
EXPLANATION OF SYMBOLS
WEEE – Waste Electrical & Electronic Equipment. Do not dispose of Waste Electrical & Electronic Equipment in with domestic rubbish.
DISPOSAL
- At the end of the machine’s working life, or when it can no longer be repaired, ensure that it is disposed of according to national regulations.
- Contact your local authority for details of collection schemes in your area.
In all circumstances:
- Do not dispose of power tools with domestic waste.
- Do not incinerate.
- Do not dispose of WEEE* as unsorted municipal waste
Waste Electrical & Electronic Equipment
CONTACTS
Draper Tools Limited, Hursley Road, Chandler’s Ford, Eastleigh, Hampshire. SO53 1YF. U.K.
Help line: (023) 8049 4344
Sales desk: (023) 8049 4333
Internet: drapertools.com
E-mail: [email protected]
General enquiries: (023) 8026 6355
Service/Warranty Repair Agent:
For aftersales servicing or warranty repairs, please contact the Draper Tools help line for details of an agent in your local area.
©Published by Draper Tools Limited.
No part of this publication may be reproduced, stored in a retrieval system or transmitted in any form or by any means, electronic, mechanical photocopying, recording or otherwise without prior permission in writing from Draper Tools Ltd. PJTL0621
























