
![]()
Installation and Maintenance Instructions
THESE INSTRUCTIONS MUST BE READ FULLY BEFORE COMMENCING INSTALLATION.
Owner/Installer: The life of this apparatus and its efficiency will be increased if its use and maintenance is carried out in accordance with these instructions and current statutory requirements.
The installation and initial adjustments should be carried out by a qualified and competent technician.
Turnbull & Scott should be consulted before substituting or fitting parts of other manufacturer.
It is the responsibility of the installer to verify that the installation is in accordance with the following standards and the Owner is given the current User’s Manual.
Any modifications to the Thermolier Fan Heater or its installation, even the smallest modification, change or elimination of security components or pieces that influence the efficiency, will result in the CE Certification and Turnbull & Scott’s warranty being cancelled.
General
- These instructions cover only Turnbull & Scott products and do not include the supply or installation of any safety equipment that may be required, e.g. proper electrical isolation.
- Any declarations made by Turnbull & Scott about product installation and safety, are dependent on the unit being used within installations which themselves meet the relevant Standards and Directives of your region.
- The installer should consider future maintenance and ensure the Unit is easily accessed.
- This product is not intended for use by young children or infirm persons unless they have been adequately supervised by a responsible person to ensure the can use the product safely.
- Description of the Thermolier Fan Heater:
The Thermolier Fan Heater unit has a two-coat stove enameled zintec casing.
Is available as a Horizontal Unit and a Downflow Unit A thick-walled copper tube heat transfer coil. A fractional horsepower motor with finger guard. Manually adjustable louvers.
Code of Practice:
The unit should be installed by suitably qualified and competent personnel in accordance with all statutory regulations. It is important to connect the electrical power supply and the water or steam flow and return correctly.
Location of Thermolier Fan Heater.
- Before installing inspect the unit for any damage to the heater.
- The unit is supplied with suspension/lifting eyes and these can be used to suspend the unit from secure points in the ceiling.
- Ensure no further equipment has been installed since the units were first erected, in a position that will obstruct the airflow from that unit.
NOTE: Even small bore pipe will cause turbulence in the air leaving the Unit and will prevent the unit delivering its full output into the occupied zone. The air intake should also be unobstructed.
Installation:
- Connect the water or steam supply and return, ensuring the correct orientation. It is advisable to use shut-off valves for the final connections.
- All threaded connections should be made using the approved method of jointing. The threads on the heater should be supported at all times whilst making joints.
- All external piping should be supported independently from the coil.
- It is recommended that fluid filters are fitted.
- Please consult your plumbing contractor in regards to pipe layout.
Electric Connections.
- Electrical installation must be carried out by suitably qualified and competent personnel in accordance with all current statutory requirements.
- All electrical connections must be of the correct size conductors and earthed in accordance with local requirements.
- All heaters should have a local isolation point attached to or with in reach of the heater.
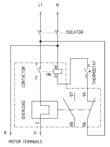
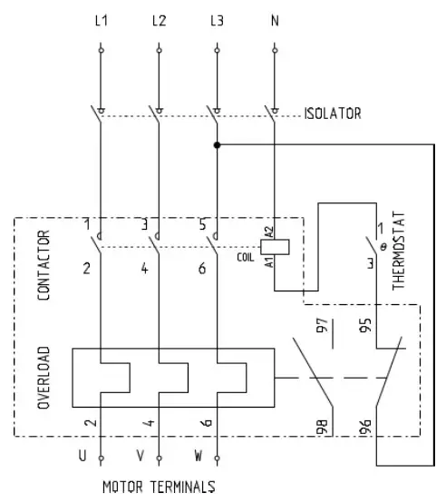
- If you have bought a multiple heater control panel, please see the connection drawing supplied inside the control panel. If you have bought the single heater electrical pack (Ix DOL starter, 1x overload, 1x thermostat) this pack should be wired as follows.
- Single Phase connection Drawing

- Three Phase connection Drawing

Technical Information.
Performance and Electrical Data.
| SINGLE PHASE | ||||
| FAN REF | RPM | W ATTS | FULL LOAD AM PS | STARTING AMPS |
| 1L | 960 | 180 | 1.6 | 6.9 |
| 2L | 960 | 180 | 1.6 | 6.9 |
| 3L | 960 | 180 | 1.6 | 6.9 |
| 4N | 960 | 180 | 1.6 | 7.1 |
| 5N | 960 | 180 | 2.0 | 7.0 |
| THREE PHASE | ||||
| FAN REF | RPM | W ATTS | FULL LOAD AM PS | STARTING AM PS |
| 1L | 980 | 250 | 0.8 | 1.8 |
| 2 L | 980 | 250 | 0.8 | 2.1 |
| 3 L | 980 | 250 | 0.8 | 2.3 |
| 4N | 980 | 250 | 0.8 | 2.4 |
| 5N | 980 | 250 | 0.8 | 2.4 |
Dimensions.
| DIM SIZE | A | B | C | D | Connection | Weight |
| mm | mm | mm | mm | mm | Kg | |
| 1 | 345 | 275 | 120 | 190 | 25 | 35 |
| 2 | 425 | 350 | 120 | 230 | 25 | 40 |
| 3 | 500 | 425 | 120 | 265 | 25 | 50 |
| 4 | 575 | 505 | 130 | 305 | 40 | 70 |
| 5 | 650 | 580 | 130 | 345 | 40 | 75 |

Commissioning Preparation.
- Once the unit is installed and all joints are sealed, a nitrogen pressure test should be carried out on the system to check for leaks. Following a successful pressure test, the coil may be filled. It is important that all air is excluded from the coil and particular attention should be paid to the venting system.
Commissioning.
- Check that the installation of the unit(s) conforms with good working practice in electrical and mechanical installation.
- Verify that the installation has been carried out in accordance with our recommendations.
- Examine the hanging equipment. Hangers must be securely fixed to both the unit and the wall, truss or column. Ensure the hangers will allow the unit to move when the pipework expands.
- Inspect the fan guard. This should be undamaged and securely fixed in the correct position.
- Where the unit ts fitted into ductwork a fan guard is not required. Check that the ductwork has provision for access to the motor and heater battery for annual inspection and maintenance. A short length of soft, i.e. canvas ducting should be fitted between the unit and ductwork to stop any vibration being transmitted into the ductwork.
- Ensure all fasteners are present and secure to minimise noise level and prevent any parts becoming loose.
- Check that the motor and fan assembly is correctly aligned. This can be confirmed by observing the fan through the fan guard at the rear of the unit. There must be an equal clearance between each blade tip and the oriface plate.
- Verify that the wiring is correct and in a safe condition. In particular on a three-phase supply, check that the three relevant fuses are correctly located and in good condition.
- Ensure the hand reset on the contactor starter has not been tripped. Check that all three phases are available at the motor.
- Start the motor to ensure that the fan rotation blows air out of the front of the unit.
- Inthe unlikely event of a fault developing, or the necessity to change fan rotation by swapping a pair of supply leads the power supply to the motor MUST first be isolated. This can be achieved by either padlocking the isolator switch in the OFF position or by removing the fuses from the distribution board.
- It is recommended that the louvres are set as follows: Horizontal Units; louvres parallel, angled slightly downwards. Downflow units; when mounted at the upper recommended height each set of louvres should be parallel and angled slightly outwards. When mounted at the lower mounting height, the outer louvres should be angled outwards and the inner louvres vertical. This gives the maximum spread for the Downflow Unit. It also applies when used as a door heater.
- On water systems check that all pipework rises to an air vent and falls to a drain cock.
- On steam, systems check that all steam pipes fall to a drain pocket fitted with a steam trap in the direction of steam flow. Also, ensure condensate pipes fall to a condensate receiver or hot well.
- Check that the pipe hangers and not the unit are bearing the weight of the pipework.
- Where Water Type Units are fitted:
a) Inlet connection is at the top & outlet connection at the bottom of the battery. Close all drain cocks.
b) Open all isolating valves and fill the system with water. Run the circulating pump without the boiler, shut down, and flush the system out thoroughly to remove any debris and contamination.
c) Re-fill the system and bleed it when it is up to temperature. Check that the boiler thermostat is set to give the correct flow temperature.
d) Run the system and regulate the lockshield valves to give the correct temperature drop between the inlet and outlet connections of the unit. This must be undertaken with the fan running.
e) Check that the room thermostats are set to the correct temperature and that they are not positioned in direct airflow of the unit - Where steam-type units are fitted:
a) Close all drain cocks.
b) Ensure that steam traps have been installed in the correct direction and the right way up (and that correctly sized isolating valves and a strainer is fitted).
c) Check that sight glasses where fitted are easily visible and clean.
d) Open all isolating valves. Slowly and allow air to vent from the system. If a site glass is fitted check that condensate flow is visible.
e) After the unit has been operating for a short time isolate the unit and remove the strainer element(and dirt pocket where fitted) so that any pipe debris present can be removed.
f) Replace the strainer element.
Operation
The main operational instructions for the heating system will be supplied with the control equipment. The manufacturer’s recommendations on the use of this equipment must be strictly followed.
- Winter Operation
When the system is not in use and not protected by frost stats, the units and the rest of the system should be thoroughly drained to avoid frost
damage. The time clock must be adjusted during milder periods of the heating season to avoid excessive preheating. - Summer Operation
If the boiler is still being run for other purposes, the isolating valves should be shut to save fuel and allow the Thermolier Units to run to provide the cooling effect of air circulation during hot weather. The thermostats (if no change—over switch is fitted) will have to be adjusted to a higher temperature to facilitate this. At the end of summer operation, the thermostats must be reset and the isolating valves opened slightly to allow the system to come up to pressure. When this has been achieved the isolating valves can be opened fully.
Frost Protection.
- In the event the units are to be out of operation during prolonged periods of cold weather, the units should be isolated and drained.
Maintenance.
- To provide continuous trouble free operation and economical working without loss of efficiency an annual inspection is essential. If the atmosphere is unusually dirty more frequent inspections are necessary. The annual inspection should be carried out immediately prior to the start of the heating season.
Annual Inspection
- Where water-type units are fitted, bleed the air from the system pipework. Excessive bleeding indicates either a system malfunction or leak and possible the presence of methane gas which is the by—product of corrosion. The cause must be investigated.
- Where steam-type units are fitted, they must be isolated and the strainers and dirt pockets cleaned. Inspect the sight glasses (where fitted). If they are badly stained this may be an indication of corrosion and the cause must be investigated.
- Check the Thermolier Units for excessive vibration, loose connections, hanging materials, or parts and rectify as required.
- Remove any accumulation of dust or other deposits from the heater battery. This must be done more frequently where the atmosphere is inclined to be dirty. Dirt adhering to the tubes and gills can seriously reduce the thermal efficiency. Dirt can be removed by detaching the fan guard and brushing the gilled heating surface at the back where the air enters the unit and afterward operating the fan and motor so that the dirt is blown through the unit. It is recommended that a bag or cover is placed over the front of the unit to catch dirt. High-pressure air or steam can be alternatively be employed, preferably from the front of the unit, and in this case a bag or cover should be placed over the back of the unit to collect dirt.
- Clean the unit casing and remove any indication of rust or corroded spots and retouch with paint.
- Remove any accumulation of dirt from the fan otherwise there may be a tendency for it to become unbalanced causing noise, excessive vibration and ultimately possible damage to the motor bearings.
Conversion of units
If required the unit can be changed by fitting a motor of different speed or electrical supply. The Thermolier can also be simply converted from a downflow to horizontal model or vice versa. Consult Turnbull & Scott for further details.
Warranty.
TURNBULL & SCOTT or its agents will, within a period of 3 year from the date of dispatch from their works, at its option, replace any goods, which are proven to have defects as a result of defective materials or workmanship. The goods MUST be inspected by a TURNBULL & SCOTT official and if necessary returned, with a Returns Note Number, carriage paid, for further examination.

TURNBULL & SCOTT
Burnfoot Industrial Estate Hawick Roxburghshire Scotland TD9 8SL
Tel: – ++44[0] 1450 372 053
e-mail [email protected]
![]()
Get In Touch
Call: 0845 6880112
Email: [email protected]
Our Address
Puravent, Adremit Limited, Unit 5a, Commercial Yard,
Settle, North Yorkshire, BD24 9RH





















