BURLEY 896274 D-Lite Bike Trailer

Congratulations
You’ve just purchased a Burley™ trailer, the leading choice of discriminating bicycle trailer owners worldwide. Every effort has been made to ensure your purchase is of top quality and proven design, ready to provide you with many years and thousands of miles of happy, safe trailering. Because some of the features and guidelines for using the Burleyd’Lite merit close attention, it is very important that you familiarize yourself with the trailer by reading this manual all the way through before use. If you have any questions we encourage you to contact your Burley dealer.
Introduction
Your Burley site is shipped 95% factory assembled. Your Burley dealer needs only to mount the reflectors, install the quick-release levers, attach the wheels, and unfold the trailer. Once you’ve read the safety guidelines, you’re ready to go. Initial assembly should take 5- 10 minutes. Subsequent folding and unfolding can easily be done in less than a minute, with no tools required. This manual is written sequentially to assist with initial assembly. In addition to mounting the reflectors and installing the quick-release levers, your Burley dealer will perform safety checks on your Burley d’Lite and demonstrate wheel attachment, folding, and use of the seat harness, safety flag, cover, and hitch. We again request that you read this manual from start to finish before use, and then refer to it as necessary in the future.
NOTE: Any reference to left or right is made in the direction of travel as if you were sitting in the child seat looking forward.
When Loaning or Selling Your Trailer
If you loan or sell your Burley d’Lite, supply the new user with this manual. They must familiarize themselves with all sections especially sections “X. Safety Guidelines” and “XI. Safety Checklists” prior to using. It is essential that they understand the differences between riding a bicycle with a trailer and without one. It is also essential that they understand c01Tect wheel attachment, folding, and use of the harness, safety flag, cover, and hitch. Always ensure that both adults and children are wearing helmets.
Your serial number is located on the bottom of the Left Inner Frame in front of the Wheel Dropout. Please have your serial number ready when requesting replacement parts.
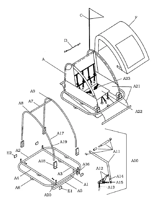
Parts List and Drawing

Note: Subassemblies are indented. Inquire for additional parts.
- A ( 1) Preassembled Main Frame Assembly
- Al ( 1) Front Main Frame, 1″ Aluminum Tube
- A2 { 1) Rear Main Frame, l” Aluminum Tube
- A3 (1) Left Inner Frame, 1″ Aluminum Tube
- A4 ( 1) Right Inner Frame, l” Aluminum Tube
- A5 (1) Bag Holder, 3/4″ Aluminum Tube
- A6 (4) Wheel Dropout
- A7 (1) Roll Bar Assembly
- AS (1) Roll Bar Receptacle, Plastic
- A9 (1) Roll Bar Hinge, Plastic
- AlO (1) Tongue and Hitch Assembly
- Al 1 (1) Tongue, 1 1/8″ Aluminum Tube w/Bushing, Spindle &
- – Dropout
- Al2 (1) Hitch w /Hitch Knob & Ball
- Al3 (1) Hitch Safety Strap
- Al4 (1) Clip & D-Ring
- Al5 (1) Rubber Flex Connector
- Al6 (1) Tongue Receptacle, Plastic
- Al7 (2) Side Rail, 3/ 4″ Aluminum Tube
- Al8 (2) Pair Side Rail Hinges, Per Side Rail
- Al9 (10) Side Rail Snap Stud
- A20 (4) Reflector Bracket
- A21 (1) Fabric Bottom Bag and Side Panel Assembly w/Vinyl Windows & Side Pockets
- A22 (1) Fabric Child Seat with Harness
- A23 ( 1) Buckle for Lap Belt
- B (2) Dished Wheels w /Quick-Release Seal-Mech Hubs (not shown)
- C (1) 2-Piece Safety Flag
- D (1) Bungi Cord
- E (1) Hardware Bag containing:
- El(2) Front Reflector with Self-Tapping Screw
- E2 (2) Rear Reflector with Self-Tapping Screw
- E3 (2) Wheel Quick-Release Levers {not shown)
- F ( 1) Sunscreen Cover
Options (at additional cost)
- G 2-in-1 Cover (not shown)
- H Walk ‘n Roller stroller kit (not shown)
Hardware Bag Contents and Tool List
BURLEY DEALER: Please verify that you have received all of the contents listed, Do not proceed with assembly if any parts are missing; contact Burley immediately for replacement parts,
Hardware Bag Contents Reflectors
- (2) Front reflector, clear
- (2) Rear reflector, red
- (4) Self-tapping screw, reflector
Quick-Release Levers
- (2) Quick-release lever
Envelope
- Trailer Checklist
- Warranty Card
- Burley date Owner’s Instruction & Safety Manual
Tools required
- 5/16″, 8mm, or small adjustable wrench
Mounting the Reflectors
You’ll find the following parts in the hardware bag:
- (2) Front reflector, clear
- (2) Rear reflector, red
- (4) Self-tapping screw
Fasten the reflectors to the brackets located on the front and rear of the main frame using the self-tapping screws found in the hardware bag, (Note the designation “Top” on the back of each reflector.) Use a wrench; there isn’t clearance for a screwdriver.
Installing the Quick-Release Levers
In the bag with the reflectors, you’ll find two quick-release levers. Install these through the hollow axle of the wheel. Make sure the lever is on the flat side of the wheel, the thumb nut is on the deepdished side, and the springs are mounted on each side as shown in the illustration below.
The quick-release lever must be on the flat side of the wheel, and the thumb nut on the deep-dished side. This ensures that the lever will be on the outside when the wheel is properly installed.
Attaching the Wheels
First, verify that the tires are inflated to 30-35 P.S.I. Next, tip the trailer frame on its back end. If you are working on a rough or dirty surface, lay down a cloth or other protective barrier to avoid damage to your trailer. Move the quick-release lever to the unlocked position and place the wheels into the dropouts, making certain that the axles go all the way into the slots.
- The quick release lever and the flat side of the wheel must be installed toward the outside of the trailer.

Safety Checklists
Before Each Ride, Ensure the following:
- Wheels tightly attached.
- Tire pressure 30-35 P.S.I.
- Hitch properly secured with safety strap in place.
- Locked safety pins for tongue and roll bar.
- Maximum load 100 lbs.
- Bicycle safety check, especially brakes and tires.
- Helmets for children & riders.
- Safety flag in place.
Monthly Checklist
- Inspect the tongue and hitch for damage, scratches, or loose fasteners.
- Inspect tongue pivot for smooth operation: tongue should fold and unfold freely. Lubricate brass bushing if necessary.
- Inspect frame tubing and hardware for cracks, damage, or loose parts.
- Inspect tires. Worn-out or cracked tires can lead to a blowout.
- Inspect wheels for trueness and cracks.
- Inspect wheel bearings for wear.
- Inspect fabric canopy, child seat, and harness for rips, abrasion, or missing/damaged hardware.
- Repair or replace any damaged or worn-out parts.
IMPORTANT
- Refer to section “IX. Trailer Maintenance and Care” of this manual for additional periodic maintenance. Unless you are a qualified bicycle mechanic, contact your Burley dealer for repairs and maintenance.
- Wheels are dished off-center and must be installed so that tires are offset away from side panels, closest to the outer frame. Bolts sticking out from the inner frame at the rear are designed to interfere with the improper installation of the wheel.
- Dished wheels are a unique feature from Burley; they create a wider track, and thus a more stable trailer.
- Once the wheels are fully seated in the dropout slots, the quick release, the lever should be positioned so that it operates in the fore and aft direction. The lever is marked for open or closed positions.
- Tighten the right-hand wheel by moving the lever from the front (open) to the rear (closed) position. Tighten the left-hand wheel by moving the lever from the rear (open) to the front (closed) position.
- Use the thumb nut to adjust for correct spacing of the quick-release lever.
- When properly adjusted, you will feel resistance halfway through tightening the lever (when the lever is pointing straight out away from the trailer). If you are unfamiliar with the use of quick-release levers, contact your Burley dealer for a demonstration.

- The quick-release lever operates in the fore-aft direction (with the lever below the axle). The drawing shows the left-hand wheel in the closed position.
WARNING
- Make sure wheels are held securely; you should not be able to rock or shift wheels. Improperly installed wheels can fall off. causing accidents and serious injuries.
- Only use dished, 20 x l.75 wheels supplied with Burley delete. Do not operate with tires inflated above 35 P.S.I. Failure to comply can cause a trailer to tip over, resulting in accident and serious injury to cyclists or passengers.
Your Burley d’Lite is designed with a lightweight aluminum frame, complete roll cage, and bright-colored nylon software. Setting it up or folding it down is accomplished in a few easy steps as follows:
Raise the Side Panels
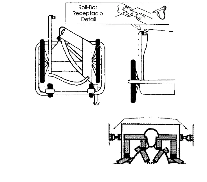
With the trailer frame lying flat, unfold the two side panels so that they are vertical. You will find the roll bar lying flat against the left side panel. Raise it to a horizontal position and pull it into the right roll-bar receptacle at the top of the right side rail. Slip the safety pin] through the hole in the roll-bar receptacle to lock the roll bar in place. Refer to the illustration below for correct use of the safety pin.
- Connect snap hooks on the back of the seat to D-rings at the rear of the side panels.
IMPORTANT: Always keep both snap hooks connected during use; only release the right snap hook when folding the trailer.
Use Your Flag
Always use the safety flag-it’s an essential safety device. The moving flag will help make you more visible to motorists and other cyclists.
Protect Your Child
When pulling a child, use the shoulder harness, lap belt, and child helmet at all times. Always fasten the seat belt so that each child is held securely. For maximum stability and safety, seat a single child in the center of the trailer. Periodically check the placement of shoulder straps, especially for a sleeping child. Check that a child cannot put a finger into the wheel spokes.
Observe Age and Height Restrictions
The trainer seat is intended only for children old enough to wear a helmet and sit upright alone. Your child must have adequate neck strength to hold his or her head up while trailering. Check with your pediatrician if you are unsure about your child’s ability to sit upright and hold his or her head up. Never carry a child whose sitting height (with helmet) is above the roll bar because their chance of injury is significantly higher in the event of a tip-over.
Follow the Rules of the Road
Bicycles are vehicles and are required to observe all rules of the road. Always signal turns and stops; ride with both hands on the handlebars except when signaling. Scan ahead for dangerous situations, and anticipate turning traffic. Watch out for parked cars and opening doors. Never run stop signals, and never ride against oncoming traffic. On bike paths, give an audible warning when passing pedestrians from behind. If you are not aware of your local and state bicycle regulations, contact your nearby police or motor-vehicles office for more information.
Have Fun Defensively
Besides being practical and easy to use, the Burley d’Lite allows people and children to get outdoors for some fun together, rain or shine. The fact that you’re getting exercise and fresh air at the same time is an added benefit! So, whether you’re going down to the corner store, across town on a picnic, or off for an extended vacation, enjoy your Burley d’Lite and remember . ALWAYS RIDE DEFENSIVELY!
Always Use Your Cover
Affix your Sunscreen Cover or optional 2-in-l Cover to protect your child from flying debris when pulling your trailer. Never leave a child unattended in direct sunlight because heat build-up in the trailer can cause serious harm. If you have the optional 2-in-l Cover, open or close the vinyl cover, depending on the weather, to help keep your child cooler or warmer. Check periodically to ensure that they are comfortable.
Cool Weather Use
When the temperature is 60-70″ or colder you may be comfortable without heavy clothing because your pedaling effort helps keep you warm. However, when you consider the child’s inactivity sitting in the trailer-coupled with a potential windchill factor-an extra sweater or jacket may be needed for them to keep from getting too cold.
Wear Helmets
Numerous studies have shown that:
- Head injury is the leading cause of bicycling fatalities.
- Helmets prevent or reduce bicyclists’ head injuries.
For safety, it is essential that both cyclist and passengers use approved bicycling helmets at all times. Don’t take chances.
Proper Wheels and Tires are Essential
Use only the factory-supplied wheels, and keep them properly maintained. Inflate tires to 30-35 P.S.I. and check pressure before each use. Do not use higher-pressure tires, as the trailer will be bouncy and prone to tip over with light loads. We only recommend tires with street tread. Do not use knobbies. For stability, dished wheels must be offset to the outside of the trailer (with tires close to the outer frame, providing a wider track).
Know Your Trailer Hitch
Clamp the hitch securely to the bicycle frame, and check for a tight attachment each time you use the trailer. Refer to sections “VIII.Hitching the Burley d’Lite to Your Bicycle” and “IX. Trailer Maintenance and Care” of this manual for proper installation, use, and maintenance of your hitch.
Swing Tongue and Hitch into Place
Tip your trailer frame on its back end. If you are working on a rough or dirty surface, lay down a cloth or other protective barrier to avoid damage to your trailer. Swing the tongue 180° forward, so that it snaps into the plastic tongue receptacle at the front frame. Slip the safety pin through the hole in the tongue receptacle to lock the tongue in place. Refer to the illustration below for the correct use of the safety pin. The elastic (Bungi) cord is provided to hold the tongue and keep it from moving when folded.
- Swing tongue completely into the receptacle. Do not operate without the safety pin locked in place.

warning: Both safety pins must be locked in place before using a trailer, otherwise roll bar or tongue could shift and cause an accident and serious injury.
Installing the Safety Flag
Insert the safety flag pole into the vertical casing of the left side panel on the outside of the aluminum side rail. Note that there is a black fabric tab sewn at the bottom of the side panel casing. Slip the flag pole into this tab to hold the flag securely.
A void Riding in Traffic
We recommend against riding in traffic. If you must ride in traffic,] do not pull your trailer on highways, busy streets, or on streets unsafe for bicycling with children. Never assume that you will be given the right-of-way, even if it is legally yours. Your child is a precious load; his or her safety should not be entrusted to a car driver whose attention or regard for bike riders is unknown. Use care when pulling your trailer on bike routes or along bike lanes, especially at intersections.
Ride on Clean, Paved Surfaces
Your Burley d’Lite is not intended for off-road use. Towing a child off-road can be especially dangerous. Any bumps or irregularities could cause tip-over and serious injury to the bicyclist or passenger, or damage to the trailer. Cross over railroad tracks, curb cutouts, and road grooves at 90″. Riding parallel or at an acute angle to such obstacles can cause a crash, resulting in serious injury.
Riding When It’s Slippery
Be especially careful in wet, rainy, or freezing conditions. Your ability to control and stop your bicycle when towing a trailer is greatly impaired. In wet conditions apply your brakes periodically to be sure the rims and brake pads are clear of the water. Avoid forceful braking which can cause dangerous skidding. Ride slowly and allow a greater margin of safety when starting, stopping, and turning. Do not ride on surfaces where sand, gravel, ice, oil, or other slippery substances are present; if you must pass over slippery surfaces, walk your bike and trailer.
Avoid Riding at Night
Make every effort to schedule your rides so you are not pulling a trailer at night. If you must ride at night, wear bright, reflective clothing, use a bright headlight on your bike, and red blinking taillights on both bike and trailer. Do not operate without properly attached reflectors; replace cracked or missing reflectors.
Prevent Trailer Tip Over
Just like automobile and motorcycle trailers, bicycle trailers can tip over. To avoid overturning: Do not pull your trailer over curbs or hit holes or other obstructions in the road. Instruct children not to bounce, rock, or lean, which can cause a shift of weight. Do not make high-speed turns or descents when pulling the trailer. Always corner with caution at 5 m, p.h. or less, as the trailer cannot lean into a turn the way a bicycle can. Do not under any circumstances travel faster than 15 m.p.h.-all road irregularities and your slowness to react are greatly magnified.
WARNING: Trailers can tip over causing damage to the trailer and serious injury to cycliSt or passengers.
Avoid causes of tip over:
- Children leaning or bouncing
- Hitting potholes, curbs, and other road obstructions
- Taking turns too fast
- Sudden swerving
- Off-banked turns
- Improper wheel installation
- Improper tire inflation
Fit, Alert, Adult Pilot
To safely pull a trailer, you need to be a fit, experienced cyclist. You must be alert, have good sight and hearing, and have adequate strength in your legs, arms, and hands. Never allow a child or adolescent to pull your trailer because it is likely that they lack the necessary physical ability and judgement.
No Headphones or Other Distractions
Do not bicycle or stroll with headphones, radios, or other distractions. You must be able to hear surrounding traffic, and concentrate on safe bicycling at all times.
No Motorized Vehicles
Your Burley d’Lite is only intended for use with pedal-powered cycles; never pull it with a motorized vehicle, as the increased acceleration and speed could damage the trailer or cause the trailer to tip over.
Folding Your Burley D-Lite
Folding your Burley d’Lite is basically the reverse of unfolding it. Familiarize yourself with unfolding the trailer as outlined above. To fold your trailer:
- Remove the safety flag.
- Remove the safety pin at the roll bar and disconnect the right snap hook on the back of the child seat. Fold the roll bar against the side panel in front of the child seat. Fold the left side panel first, then the right side panel.
- Remove the wheels and store them in a safe area.
- Remove the safety pin at the tongue/hitch receptacle and fold the tongue hitch back 180°. Hold the tongue down using the bungi cord.
We recommend reinserting the safety pins in their receptacles for storage or transport to avoid snagging. You can partially fold your Burley d’Lite as needed. Your options are to fold only the side panels, fold only the tongue and hitch, remove the quick-release wheels, or any combination of the above. Do not operate your Burley d’Lite in a partially folded condition.
Using the Seat Harness
IMPORTANT: The trailer seat is intended only for children old enough to wear a helmet and sit upright by themselves. Your child must have enough neck strength to hold his or her head up while trailering.
WARNING: Junction of chest belt and crotch strap must be positioned at child’s sternum to work correctly. Belts or buckles near your child’s neck can cause discomfort or serious injury, Check child periodically to make sure that he or she has not slipped frorn correct seated position.
Hook each crotch strap to its two chest belts and tighten (A). Adjust the crotch strap (B) so the chest-belt snap hooks are at the child’s sternum. Be sure to connect and tighten the lap belt (C) after connecting the chest and crotch straps.
Safety Guidelines
Bicycling with a trailer is different from bicycling without one, in ways that aren’t always obvious. It is therefore essential that you read and understand all of the following safety guidelines in addition to the warnings and instructions in the previous sections prior to using your trailer, Before loaning your trailer to others, make sure they too understand its proper, safe use. Contact your dealer or Burley if any of these instructions are unclear.
WARNING: Bicycling with a trailer, and bicycling in general. can be hazardous. Failure to observe any of section “X. Safety Guidelines” could result in an accident and serious injury or death.
Use Well-Maintained Bicycle and Trailer
Use a bicycle which is in good working condition, with good brakes. A frequent safety check of your bicycle is essential. Inspect and maintain your trailer as outlined in section “XI. Safety Checklists” of this manual. Have your Burley dealer maintain and inspect your bicycle and trailer if you are not qualified to do so.
Loading Your Trailer
Do not overload the trailer. The maximum trailer load limit for children and/ or cargo is 100 lbs. When placing children or cargo into the trailer, keep the load as low as possible, and centered or forward of the axle. Pack the trailer so items will not shift around.
Starting and Stopping
Because of the trailer’s additional weight, a bicycle pulling a trailer will be slower to start up and stop, and because of its length, it requires more time to cross streets or paths. Your entire vehicle is heavier and less responsive. This means you should think further ahead in anticipating stops, turns, and starts. Note that your trailer extends out further on the left; allow for this difference when turning, passing pedestrians, or approaching obstacles (like posts on bike paths). We recommend you spend some time experimenting with a loaded trailer in an uncongested area to become familiar with how your heavier, longer vehicle responds. ventilated area; wipe it dry before storing to help avoid mildew.
The nylon fabric will eventually fade, especially when exposed to direct sunlight. To extend the life of your fabric, as well as the hitch and other components, do not store your trailer in direct sunlight. Do not use bleach for cleaning, as it will damage the nylon. The nylon fabric is an important part of your trailer’s structure and provides a safety envelope for child passengers. Replace any nylon fabric that is ripped, scuffed, or otherwise damaged.
warning
- A trailer with damaged or ripped fabric components can permit harmful contact between the child and spinning spokes or moving pavement and cause serious injury. Replace damaged components.
- It is essential that both cyclists and children wear helmets when the trailer is in use. In event of an accident, helmets can prevent or significantly reduce injury.
The straps and sliding buckles sewn to the back of the child seat are part of a self-adjusting system that keeps the shoulder straps at the correct height for children of various sizes. When you tighten theshoulder harness, the sliding buckles allow the shoulder belts to come across the top of the child’s shoulders, creating a snug fit. At the same time, the sliding buckles keep the straps from falling off of the shoulders.
Completing Assembly
At this time your trailer is nearly assembled. Snap the fabric tail gate and splash guard to the upper snap studs on the side rails if you]haven’t already done so. It’s easier to snap these when the trailer is folded, and they can remain snapped in place during folding and unfolding. The elastic bungee cord is handy for securing odd-sized loads. When not in use, carry it by hooking it across the side rails in the back. The bungee cord is also intended to be used for strapping down the tongue and hitch when the trailer is folded, to prevent the tongue from moving. Pull it across the tongue and hook it to the bolts on the inner frame (near the rear of the trailer). Your Sunscreen Cover or optional 2-in-l Cover is held in place by six snaps at the front, rear, and top. Note that the cover has a front and a rear; the top-to-front snap distance on the cover is greater than the top-to-rear snap distance. Always use your cover to keep debris out of (and toys inside) the trailer when it’s in tow. You’re done! Please go back over these directions and recheck your work.
IMPORTANT: Read and study sections “VJII, Hitching the Burley d’Lite to Your Bicycle,” “X. Safety Guidelines,” and “XI. Safety Checklists” before using your Burley site.
Hitching the Burley d’Lite to Your Bicycle
The trailer hitch was designed to quickly and safely attach to virtually all types of bicycles. It is inserted in front of the left rear dropout of your bicycle.
Hitching the Trailer to Your Bicycle
Loosen the knob on the eyebolt until the two arms are spread fully apart. Slip the lower hitch arm under the chain stay (A) and the upper arm above the seat stay (BJ. Wedge the hitch cone all the way back into the angle formed by the stays at the wheel. Tighten the knob until the arms are firmly clamped against the stays. Wrap the safety strap around the inside of the chain stay, over the hitch body, and back to the D-ring at the end of the tongue. Make sure that the cone is wedged securely into the stays. Do not overtighten the knob. The hitch should not move but should allow the bicycle complete movement, including lying it down on the ground. It should clear any racks, bags, or fittings you have on your bicycle. If there is any interference, contact your Burley dealer.
IMPORTANT: Remove the trailer from your bicycle when it’s not in use to prevent deforming the plastic hitch.
warning
- Do not operate the trailer without a hitch safety strap properly installed, A dangling safety strap can contact the spokes and damage the rear wheel or cause an accident resulting in serious injury.
- Hitch must seat properly into stays and not interfere with racks, bags, or fittings, Inspect hitch and tongue frequently for damage or lose fasteners. Interfering parts or damaged hitch can cause accidents resulting in serious injury.
- Do not use or store the trailer at temperatures below 32′ Fahrenheit as the hitch rubber flex connector can become brittle and possibly break, causing accident resulting in serious injury.
Trailer Maintenance and Care
Hitch and Tongue Maintenance
Your trailer is designed for low maintenance and easy care. Clean and grease the eyebolt threads on the hitch periodically to ensure that the eyebolt knob can be properly tightened. Because of ultraviolet degradation, we recommend that the hitch be replaced every five years under normal use. In sunny or smoggy] locations or for trailers that are stored outdoors, the hitch should be replaced every two to three years for safety. Replace your hitch or tongue if there are any signs of damage-Le., cracks, dents, scratches. The tongue-pivot spindle is factory assembled and periodic lubrication is recommended. Apply two to three drops of light machine oil] or penetrating oil on each end of the brass bushing. Pivot the tongue back and forth to help the oil penetrate between the bushing and the tongue spindle. Lubricate twice a year for normal use and monthly] for heavier use-i.e., use in wet or salty conditions. For any spindle service other than lubrication, contact your Burley dealer.
Fabric Care
Your Burley d’Lite is manufactured from a tough, durable packcloth. The nylon fabric is coated for waterproofness and is highly resistant to fading. The fabric can be easily cleaned with any mild soap or detergent and warm water. For more persistent soil, use a nylon bristle brush. When not in use, store your trailering dry, well.
About Burley Design Cooperative
Burley has been supplying products to the bicycle industry since 1975, all of which are designed and manufactured at our Eugene, Oregon shop. As worker-owners of our cooperatively owned business, we bring an uncommon degree of personal pride and attention to our work. Use our products with confidence and satisfaction!
Burley Trailer Limited Warranty
Burley will repair or replace any original equipment parts it determines to be defective for the life of the trailer. The Owner of a Burley triller must present the traller for repair at an authorized Burley dealer, together with an original sales receipt or similar proof of purchase. This warranty applies only to the original owner and is nontransferable.Burnley cannot be responsible for failure due to improper assembly, modification of parts or instructions, neglect, abuse, accident, and/or normal wear. The warranty does not cover any trailers used for rental, competition, or commercial use. Burley neither assumes nor authorizes any person to aissume any other liability in connection with Burley trailers, and there are no oral agreements or warranties collateral to or affecting this agreement. This warranty gives you specific legal rights and you may also have other rights which vary from state to state.
Burley Design Cooperative
- 4080 Stewart Rd. Eugene, OR 97402 USA
- (503) 687-1644 Fax (503) 687-0436
Copyright 1995 by Burley Design Cooperative “Burley” and “delete” are trademarks of Burley Design Cooperative Printed on recycled paper.





















