

Owner’s Instruction and Safety Manual
Congratulations!
Your Burley® trailer is the leading choice of discriminating bicycle trailer owners worldwide. Every effort has been made to ensure your purchase is of top quality and proven design, ready to provide you with many years and miles of happy, safe trailering.
IMPORTANT:
Because some of the features and guidelines for using your Burley merit close attention, it is very important that you familiarize yourself with the trailer by reading this entire manual before use. If you have any questions, please contact your Authorized Burley Dealer or check our website at www.burley.com.
Introduction
Your Burley is shipped almost completely assembled from the factory. Your final assembly should take about 5 to 10 minutes. Once you’ve read the safety guidelines, you’re ready to go! Before trailering, be sure you have a thorough understanding of the trailer hitch operation. Review the loading guidelines, and make sure the trailer wheels and hitch are securely attached.
NOTE: Any reference to left or right is made in the direction of travel as if you were sitting on the bike seat looking forward.
Safety Guidelines
Bicycling with a trailer is different from bicycling without one, in ways that aren’t always obvious. It is essential that you read and understand all of the following safety guidelines—in addition to the warnings and instructions in the following sections—prior to using your trailer. Contact your Authorized Burley Dealer if any of these instructions are unclear.
WARNING
Bicycling with a trailer, and bicycling in general, can be hazardous. Failure to observe any of the safety guidelines in this manual could result in accidents and serious injury or death.
Use a Well-Maintained Bicycle and Trailer Use a bicycle that is in good working condition, with good brakes. A frequent safety check of your bicycle is essential. Inspect and maintain your trailer as outlined in the “Safety Checklists” of this manual. Have your Authorized Burley Dealer maintain and inspect your bicycle and trailer if you are not qualified to do so.
Starting and Stopping
Because of the trailer’s additional weight, a bicycle pulling a trailer will be slower to start and stop, and because of its length, requires more time to cross streets or paths. Your entire vehicle is heavier and less responsive. Think ahead and anticipate stops, turns, and starts. Note that your trailer extends further out on the left; allow for this difference when turning, passing pedestrians, or approaching obstacles, such as posts on bike paths. Expert- ment with a loaded trailer in an uncongested area to become familiar with
how your heavier, longer vehicle responds.
Prevent Trailer Tip Over
Like automobile and motorcycle trailers, bicycle trailers can tip over. Do not pull your trailer over curbs or hit holes or other road obstructions. Make sure your load is centered and securely fastened down. Do not make high-speed turns or descents when pulling the trailer. Always corner with caution at 5 mph or less, as the trailer cannot lean into a turn the way a bicycle can. Do not travel faster than 15 mph—all road irregularities and your slower reaction time are greatly magnified.
WARNING
Trailers can tip over, causing damage to the trailer and serious injury to the cyclist. AVOID causes of tip over, especially:
- Inadequately secured or centered load
- Hitting potholes, curbs, and other road obstructions
- Taking turns too fast
- Sudden swerving
- Off-banked turns
- Improper wheel installation
- Improper tire inflation
No Motorized Vehicles
Never pull your Burley trailer with a motorized vehicle, as the increased acceleration and speed could damage the trailer or cause it to tip over.
Carry Cargo Only
The Nomad and Flatbed are designed to carry only cargo. Never use them for transporting people!
Wear a Helmet
Numerous studies have shown that head injury is the leading cause of bicycling fatalities. Helmets prevent or reduce bicyclists’ head injuries; it is essential that you use an approved bicycling helmet at all times.
Proper Wheels and Tires are Essential
Use only the factory-supplied wheels, and keep them properly maintained. Inflate the tires to 30–35 P.S.I. and check the pressure before each use. Do not use higher-pressure tires or knobby. We recommend using only tires with street tread.
Know Your Trailer Hitch
Clamp the hitch securely to the bicycle frame, and check for a tight attachment each time you use the trailer. Refer to the “Hitching Your Burley to Your Bicycle” section for the proper installation and use of your hitch.
Use Your Safety Flag (Nomad™ Only)
Always use the safety flag—it will help make you more visible to motorists and other cyclists.
IMPORTANT:
Please verify that you have received all of the contents listed. Do not proceed with the assembly if any parts are missing; contact your Authorized Burley Dealer immediately for replacement parts.
Hardware Bag Contents:
Nomad™ :
(2) Reflector Brackets
(2) Self-tapping Reflector Bracket Screws
(2) Roll-bar Knobs
(2) Red Reflectors
(2) Reflector Screws
(1) Hitch
(1) Burley Owner’s Instruction and Safety Manual
Flatbed™ :
(2) Quick-release Levers
(2) Pair Tie-down Straps
(2) Red Reflectors
(2) Reflector Screws
(1) Hitch
(1) Burley Owner’s Instruction and Safety Manual
Tools Required: Phillips Screwdriver, Flat Blade Screwdriver Nomad only: 5/16”, 8 mm or Small Adjustable Wrench
Note: The European models have an additional light hardware bag.
Mounting the Reflectors Nomad ™ : The reflector brackets mount on the outside rear of each side panel, 2.5” up from the plastic connector on the side panel. (The holes
for the mounting screws are covered by the fabric.) To mount the bracket, insert a self-tapping bracket screw through the hole in the curved section of the reflector and drive the screw through the fabric, into the hole in the rear side panel frame. (This does not harm the fabric.) Then mount the reflector onto the bracket with the reflector screw. Repeat for the bracket and reflector on the other side panel. See illustrations.
Flatbed ™: The reflectors are mounted to the reflector brackets on the rear of the main frame tube. Snap the posts on the reflectors into the openings in the brackets, and with the provided screws, screw the pieces together. Tighten the screws snugly, making sure the reflector faces away from the trailer.

Attaching the Wheels
First, verify that the tires are inflated to 30-35 P.S.I. Tip the trailer frame onto its rear end.
Nomad ™: With the quick-release lever in the “OPEN” position, insert the wheel axle assembly completely into the hollow trailer axle, making sure that the horizontal shaft goes all the way into the axle. Once the wheel is fully seated in the hollow axle, position the quick-release lever so that it is aimed to the rear of the trailer in the “CLOSED” position (the lever is marked for OPEN or CLOSED positions). Repeat for the other wheel.

Flatbed ™: Remove the thumb nut from the quick-release lever. Insert the quick-release lever through the hollow axle of the wheel, making sure the lever is on the flat side of the wheel and the springs are mounted on each side as shown in the illustration. With the quick-release lever in the unlocked position, place the wheel into the dropouts, making certain that the axle goes all the way into the slots. Once the wheel is fully seated, replace and tighten the thumb nut. You should feel resistance halfway through closing the lever. Position the quick release lever so that it is aimed to the rear of the trailer in the “CLOSED” position (the lever is marked for OPEN or CLOSED positions). Repeat for the other wheel. Note: Wheels are not centered on the axle.

IMPORTANT:
Wheels are dished off-center and must be installed so that tires are offset away from side rails, closest to the outer frame.
WARNING
Make sure the wheels are held securely; you should not be able to rock or shift them. Do not operate with tires inflated above 35 P.S.I. Improperly installed wheels or over-inflated tires can cause an accident or serious
Installing the Side Rails
Nomad ™: Flip the four plastic (C-shaped) side panel hold-downs to the outside. Slide each side rail down over the side rail guides at the front and rear of each side of the main frame. The narrower end of each side panel goes to the rear, with the “Burley” logo facing outward. Snap the plastic side panel hold-downs over the side panel tubing at the front and rear of each side as shown.

WARNING
All four side panel hold-downs must be snapped in place before using the trailer. Otherwise, the side rails can shift or collapse, resulting in the loss of cargo.
Installing the Tailgate and Splashguard
Nomad ™: Thread the rear tie-down straps through the inner and then outer slots of the male buckle sections of the rear side release buckles, which are attached to the female buckle sections on the inside rear of the side panels. Allow enough slack so you can loop the webbing straps over the rear of the side panels. To attach the front splash guard to the front of the side panels, repeat this step using the front tie-down straps and the front side release buckles. To accommodate different sizes of cargo, tighten or loosen the webbing straps as required (see illustration).

Installing the Roll Bar and Cover
Nomad ™: Place the cover, right side out, over the side rails with the “Nomad” logo at the front of the trailer. Slip a roll bar knob through one of the grommets on the cover. Slide the roll bar through the casing at the top of the mesh divider. Align one end of the roll bar with its corresponding hole on the side rail. Thread the roll bar knob through one side rail, and tighten it into the roll bar (see illustration). Repeat this step for the roll bar knob on the other side. Pull the B-tabs down and loop the rubber O-rings over the
trailer frame. Make sure the cover extends over the top of each side panel.

Installing the Tow Bar for the Nomad ™
Tip the trailer onto its back end. Slide the tow bar onto the pivot pin at the left front. Remove the hairpin cotter and lock pin from the front tow bar receptacle, rotate the tow bar up into place, and snap it into the two plastic tow bar receptacles. Push the lock pin fully into the front tow bar receptacle. Rotate the lock pin and locate the hole in it, between the receptacle and the trailer frame. Anchor the lock pin by inserting the hairpin cotter all the way into the hole in the lock pin.

WARNING
Never operate the Nomad™ trailer without a tow bar lock pin and hairpin cotter locked in place. An unlocked tow bar can loosen or detach and cause an accident, resulting in serious injury.
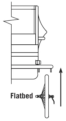
Installing the Tow Bar for the Flatbed ™ Rotate the tow bar up into the plastic tow bar receptacle at the front frame. To lock the tow bar in place, slip the retaining pin through the hole in the tow bar receptacle and close the pin (see illustration).

WARNING
The retaining pin must be locked in place before using the Flatbed ™ trailer; otherwise, the tow bar could shift and cause an accident and serious injury.
Installing the Safety Flag Nomad ™: Join the two flag pole sections together. Insert the flag pole into the flag pocket on the inside of the left side panel. DO NOT USE YOUR TRAILER WITHOUT THE SAFETY FLAG IN PLACE.
Hitching Your Burley to Your Bicycle The Burley standard trailer hitch was designed to quickly and safely attach to virtually all types of bicycles. It is attached to the left rear dropout (the non-chain ringside) of your bicycle.
- Remove the quick-release lever assembly from your bike and set it aside.
- Line up the hole on the flat side of the hitch upper arm with the left rear dropout hole.
- Reassemble the quick release assembly through the hitch and dropout, but don’t tighten it yet.
- Slide the hitch receiver end of the tow bar between the two hitch side arms, and line up the holes. The hitch should clear any racks, bags, or fittings you have on your bicycle. If there is any interference, contact your Authorized Burley Dealer.
- Open the retaining pin and insert the pin through the holes.
- Rotate the pin’s spring clip and close the pin.
- Now tighten the quick release lever, with the lever pointing to the rear of the bike. When properly adjusted, you will feel resistance halfway through closing the lever (when the lever is pointing straight out away from the bike).
- Wrap the safety strap around the inside of the chain and stay twice and then over the hitch body. Fasten the hook to the D-ring on the underside of the tow bar end.

WARNING
The quick release lever must be in a closed position. Do not operate the trailer without the hitch safety strap properly installed. A dangling safety strap can contact the spokes and damage the rear wheel or cause an accident, resulting in serious injury. Inspect the hitch and tow bar frequently for damage or lose fasteners. Interfering parts or an amaged
hitch can cause an accident, resulting in serious injury.
Loading Your Trailer
Maximum trailer load limit for both the Burley Nomad and the Burley Flatbed is 100 lbs. When placing cargo into the Nomad trailer, keep the load centered or forward of the axle. Pack the load as low as possible and make sure items cannot shift around. When loading cargo on the Flatbed, always ensure that the load is adequately fastened and centered on the trailer floor. Cargo can be fastened by a rope, cargo tie-down cords, netting, or within a container that is securely fastened to the Flatbed trailer. Do not permit the cargo to extend past the perimeter of the fabric floor on either side. Objects loaded too close to the wheels when the trailer is stationary risk catching in the spokes or interfering with the wheels when the trailer is in motion. The area in front of the trailer frame must also remain clear to avoid interfering with the bicycle’s rear wheel. Objects that extend beyond the rear can ob- secure the reflectors, cause an unstable weight balance on the bicycle’s rear heel or contact the ground on uneven terrain. Do not overload the trailer.
Safety Checklists
Before Each Ride:
o Wheels tightly attached
o Tire pressure at 30–35 P.S.I.
o Hitch properly secured with safety strap in place
o Locked retaining pins for tow bar
o Maximum load 100 lbs. (40 kg. in Europe)
o Bicycle safety check, especially brakes and tires
o Helmet for rider
o Safety flag, roll bar, side rails and cover in place (Nomad)
o Cargo is adequately secured to the trailer
Monthly Checklist:
o Inspect tow bar and hitch for damage, scratches, or loose fasteners
o Inspect tow bar pivot for smooth operation
o Inspect frame tubing and hardware for cracks, damage, or loose parts
o Inspect tires for wear and cracks
o Inspect wheels for trueness and cracks
o Inspect wheel bearings for wear
o Inspect fabric and webbing parts for rips, abrasion, or missing
or damaged hardware
o Contact your Authorized Burley Dealer for repairs/replacement of any damaged or worn-out parts
Maintenance and Storage
Tow Bar Maintenance
Lubricate the tow bar pivot using a light machine oil once a year for normal use, and every three months for heavier use—i.e., with frequent tow bar re- moval or when using in wet or salty conditions.
WARNING
Do not use or store the trailer at temperatures below 32˚ F (0° C), as the hitch rubber flex connector can become brittle and possibly break, causing an accident resulting in serious injury.
Fabric Care
Your trailer body is made of a tough, waterproof polyester fabric, which is highly resistant to fading. It can be easily cleaned with any mild soap or detergent and warm water. For heavy soiling, use a nylon bristle brush. Do not use bleach for cleaning, as it will damage the fabric. The fabric is an important part of your trailer’s structure. Replace any fabric that is ripped, scuffed, or otherwise damaged. Polyester fabric will eventually fade, especially when exposed to direct sunlight. To extend the life of your trailer, wipe it dry (to help avoid mildew) and store it out of direct sunlight in a dry, well-ventilated area.
WARNING
A trailer with damaged or ripped fabric components can allow the cargo to be lost or cause an accident, resulting in serious injury. Replace damaged components immediately.
2008 Nomad Replacement Parts and Diagram
| Diagram # | Part # | Description | Warranty |
| 1 | 960000 | Standard Hitch | lifetime |
| 2 | 960009 | Safety Flag | 1 year |
| 3 | 4325401 | Tonneau Cover | 1 year |
| 4 | 4326502 | Bag | 1 year |
| 5 | 950022 | Left Side Panel on Frame | 1 year |
| 6 | 950023 | Right Side Panel on Frame | 1 year |
| 7 | 250072 | Tow Bar Assembly | lifetime |
| 8 | 160021 | Wheel (SOLD INDIVIDUALLY) | 5 years |
| 9 | 950025 | Tow Arm Guide Kit | 5 years |
| 10 | 950026 | Side Rail Posts (set of 2) | lifetime |
| 11 | 950027 | Snap Coupling Kit (Set of 4) | 5 years |
| 12 | 4310007 | Rollbar with Knobs | lifetime |
| 13 | 950030 | Reflector Brackets (set of 2) | 5 years |
| 14 | 950028 | Nomad Frame Kit | lifetime |
| 15 | 950029 | Axle Tube Assembly | lifetime |
| 16 | 950037 | Flex Connector for Round Tow Bar | 5 years |
Please go to www.burleygear.com for an updated product parts list and diagrams

2008 Flatbed Replacement Parts and Diagram
| Diagram # | Part # | Description | Warranty |
| 1 | 960000 | Standard Hitch | lifetime |
| 2 | 950031 | Bag | 1 year |
| 3 | 250027 | Tow Bar Assembly for Square Tow Bar | lifetime |
| 4 | 950032 | Wheel (wheel, axle, quick release, wedges, locknut, tire, liner, tube) (SOLD INDIVIDUALLY) | 5 years |
| 5 | 950033 | Tow Bar Receiver Kit | 5 years |
| 6 | 950026 | Side Rail Posts (set of 2) | lifetime |
| 7 | 950034 | Side Rails | lifetime |
| 950035 | Reflector Brackets (NOT SHOWN) | lifetime | |
| 8 | 4130010 | Hold Down Straps (set of 2) | 1 year |
| 9 | 950036 | Flatbed Frame Kit | lifetime |
| 10 | 4010212 | Dropouts (set of 2) | lifetime |
| 11 | 950038 | Flex Connector for Square Tow Bar | 5 years |
Please go to www.burleygear.com for an updated product parts list and diagrams

Burley Trailer Limited Warranty
Burley trailers are warranted from date of purchase against defects in materials and workmanship under normal use and service. Burley will repair or replace parts it determines to be defective as follows: fabric parts for one year, plastic parts for five years, and durable frame parts for the lifetime of the trailer. The Burley trailer owner must present the
trailer for repair at the place of purchase, with an original sales receipt or similar proof of purchase. This warranty applies only to the original owner and is nontransferable. Burley can not be responsible for failure due to improper assembly, modification of parts or instructions, neglect, abuse, accident, and/or normal wear. The warranty does not cover any trailer used for rental, competition, or commercial use. Burley neither assumes nor authorizes any person to assume any other liability in connection with this Burley product, and there is no oral agreements or warranties collateral to or affecting this agreement. This warranty gives you specific rights. You may also have other rights which vary by state or country.
![]()
Copyright ©2007 by Burley Design, LLC
“Burley” is a registered trademark of Burley Design LLC
Burley Design, LLC • 4020 Stewart Rd • Eugene, OR 97402
541.687.1644 • Fax 541.687.0436 • www.burley.com
170007 nomad-flatbed manual r1 rev. 12/07



















