BURLEY Flatbed Cargo Bike Trailers











2014-Present Replacement Parts: Flatbed
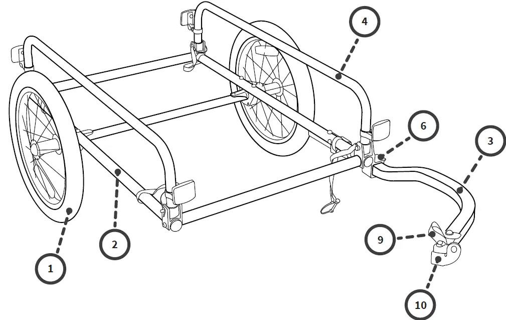
| Number | Description | Part Number | ||
| 2008 | 2009-13 | 2014- | ||
| 1 | 16” Wheel Assembly | 160015 | 160050 | |
| 2 | Main Frame Assembly | 950036 | 950074 | 250371 |
| 3 | Towbar Assembly | 250229 | 250122 | |
| 4 | Side Rails | 950034 | 950073 | |
| 5 | Fabric Floor | 950031 | 950096 | 250370 |
| 6 | Towbar Reciever Kit, Left | 950033 | 950005 | |
| 7 | Axle Assembly | n/a | 950097 | 950077 |
| 8 | Dropouts | 4010212 | n/a | |
| 9 | Flex Connector w/ Hitch Safety Strap | 950038 | ||
| 10 | Steel Hitch, 12.2mm | 960116 | ||
| 11 | Hold Down Straps | 4130010 | ||
| 12 | Side Rail Post | 950026 | n/a | |
| 13 | Wheel Bearing Kit | 950121 | ||
| 14 | Dust Cap Covers | n/a | 950123 | |
| 15 | Frame End Cap | n/a | 120006 | |



















