DRAPER Diesel Space Heaters

USER MANUAL FOR:
Diesel Space Heaters
Stock nos. 32284, 32285, 32286, 32287, 53926, 53925.
Part nos. DSH1750, DSH1250, DSH750, DSH450, DSH751, DSH2150.
REVISIONS
Date first published June 2013
Revised Oct 2013
Revised June 2014
Revised June 2016
As our user manuals are continually updated, users should make sure that they use the very latest version.
Downloads are available from: http://www.drapertools.com/manuals
DRAPER TOOLS LIMITED
HURSLEY ROAD
CHANDLER’S FORD
EASTLEIGH
HAMPSHIRE
SO53 1YF
UK
drapertools.com
RODUCT HELP LINE: +44 (0) 23 8049 4344
GENERAL FAX: +44 (0) 23 8026 0784
UNDERSTANDING THIS MANUALS SAFETY CONTENT
WARNING! Information that draws attention to the risk of injury or death.
CAUTION! Information that draws attention to the risk of damage to the product or surroundings.
COPYRIGHT © NOTICE
Copyright © Draper Tools Limited.
Permission is granted to reproduce this publication for personal & educational use only. Commercial copying, redistribution, hiring or lending is prohibited.
No part of this publication may be stored in a retrieval system or transmitted in any other form or means without written permission from Draper Tools Limited.
In all cases this copyright notice must remain intact.
GUARANTEE
Draper tools have been carefully tested and inspected before shipment and are guaranteed to be free from defective materials and workmanship.
Should the tool develop a fault, please return the complete tool to your nearest distributor or contact Draper Tools Limited, Chandler’s Ford, Eastleigh, Hampshire, SO53 1YF. England. Telephone Sales Desk: (023) 8049 4333 or Product Help Line (023) 8049 4344.
A proof of purchase must be provided with the tool.
If upon inspection it is found that the fault occurring is due to defective materials or workmanship, repairs will be carried out free of charge. This guarantee period covering
parts/labor is 12 months from the date of purchase except where tools are hired out when the guarantee period is 90 days from the date of purchase. The guarantee is extended to 24 months for parts only. This guarantee does not apply to normal wear and tear, nor does it cover any damage caused by misuse, careless or unsafe handling, alterations, accidents, or repairs attempted or made by any personnel other than the authorized Draper warranty repair agent. Note: If the tool is found not to be within the terms of warranty, repairs and carriage charges will be quoted and made accordingly.
This guarantee applies in lieu of any other guarantee expressed or implied and variations of its terms are not authorized.
Your Draper guarantee is not effective unless you can produce upon request a dated receipt or invoice to verify your proof of purchase within the guarantee period.
Please note that this guarantee is an additional benefit and does not affect your statutory rights. Draper Tools Limited.
INTRODUCTION
SCOPE
This heater is designed to heat large, semi-open areas by means of combustion of Diesel or Kerosene fuel, and is electrically operated. Any other application is considered mis-use.
SPECIFICATION
Stock no ……………………………… 32284 …………………………..32285………………………… 53925
Part no ………………………………DSH1750 …………………….. DSH1250…………………. DSH2150
Motor:
Rated voltage …………… 230V~…………………………. 230V~……………………… 230V~
Rated frequency ……….. 50Hz…………………………… 50Hz………………………. 50Hz
Rated input ……………… 500W………………………….. 330W……………………… 271W
Heat output ……………… 175,000 BTU/51kW ………. 125,000 BTU/36kW………. 215,000 BTU/62kW
Air flow …………………………… 508m3/Hr …………………….. 480m3/Hr…………………. 1,100m3/Hr
Fuel …………………………. Diesel/Kerosene…………… Diesel/Kerosene………….. Diesel/Kerosene
Diesel consumption ……………. 5Ltrs/hr………………………. 3.6Ltrs/hr…………………. 6.2Ltrs/hr
Tank capacity ………………………. 50Ltr…………………………… 40Ltr………………………. 50Ltr
Internal shut off temp. …….. 80°C ±10°C………………….. 80°C ±10°C……………….. 80°C ±10°C
Reset Temp. …………………….. 70°C ±10°C………………….. 70°C ±10°C……………….. 70°C ±10°C
Weight ……………………………….27.2kg ………………………… 24.4kg……………………… 32kg
Dimensions ………………… 1050x445x540mm………….890x405x510mm…………. 1030x430x550mm
Stock no ……………………………… 32286 …………………………..53926………………………… 32287
Part no ……………………………….DSH750 ………………………. DSH751…………………… DSH450
Motor:
Rated voltage …………… 230V~…………………………. 230V~……………………… 230V~
Rated frequency ……….. 50Hz…………………………… 50Hz………………………. 50Hz
Rated input ……………… 300W………………………….. 300W……………………… 300W
Heat output ………………. 75,000 BTU/22kW ………… 75,000 BTU/22kW……….. 45,000 BTU/13kW
Air flow …………………………… 399m3/Hr …………………….. 399m3/Hr…………………… 205m3/Hr
Fuel …………………………. Diesel/Kerosene…………… Diesel/Kerosene………….. Diesel/Kerosene
Diesel consumption ………….. 2.1Ltrs/hr…………………….. 2.1Ltrs/hr…………………. 1.3Ltrs/hr
Tank capacity ………………………. 20Ltr…………………………… 20Ltr………………………. 20Ltr
Internal shut off temp. …….. 80°C ±10°C………………….. 80°C ±10°C……………….. 80°C ±10°C
Reset Temp. …………………….. 70°C ±10°C………………….. 70°C ±10°C……………….. 70°C ±10°C
Weight ……………………………….12.8kg ………………………… 14.5kg…………………….. 12.7kg
Dimensions …………………. 800x420x340mm…………..800x420x340mm
HANDLING & STORAGE
The environment will have a negative result on its operation if you are not careful. If the air is damp, components will rust. If the machine is unprotected from dust and debris; components will become clogged: And if not cleaned and maintained correctly or regularly the machine will not perform at its best.
HEALTH & SAFETY INFORMATION
GENERAL HEATER SAFETY WARNINGS
WARNING: Read all safety warnings and all instructions. Failure to follow the warnings and instructions may result in electric shock, fire and/or serious injury.
Save all warnings and instructions for future reference.
- Work area safety
- Keep work area clean and well lit. Cluttered or dark areas invite accidents.
- Do not operate heaters in explosive atmospheres, such as in the presence of flammable liquids, gases or dust. Heaters create sparks which may ignite the dust or fumes.
- Keep children and bystanders away while operating a heater. Distractions can cause you to lose control.
- Electrical safety
- Heaters plugs must match the outlet. Never modify the plug in any way. Do not use any adapter plugs with earthed (grounded) heaters. Unmodified plugs and matching outlets will reduce risk of electric shock.
- Avoid body contact with earthed or grounded surfaces such as pipes, radiators, ranges and refrigerators. There is an increased risk of electric shock if your body is earthed or grounded.
- Do not expose heaters to rain or wet conditions. Water entering a heater will increase the risk of electric shock.
- Do not abuse the cord. Never use the cord for carrying, pulling or unplugging the heater. Keep cord away from heat, oil, sharp edges or moving parts. Damaged or entangled cords increase the risk of electric shock.
- When operating a heater outdoors, use an extension cord suitable for outdoor use. Use of a cord suitable for outdoor use reduces the risk of electric shock.
- If operating a heater in a damp location is unavoidable, use a residual current device (RCD) protected supply. Use of an RCD reduces the risk of electric shock.
- Personal safety
- Stay alert, watch what you are doing and use common sense when operating a heater. Do not use a heater while you are tired or under the influence of drugs, alcohol or medication. A moment of inattention while operating heaters may result in serious personal injury.
- Use personal protective equipment. Always wear eye protection. Protective equipment such as dust mask, non-skid safety shoes, hard hat, or hearing protection used for appropriate conditions will reduce personal injuries.
- Prevent unintentional starting. Ensure the switch is in the off position before connecting to power source.
- Remove any adjusting key or wrench before turning the heater on. A wrench or a key left attached to a rotating part of the heater may result in personal injury.
- Dress properly. Do not wear loose clothing or jewelry. Keep your hair, clothing and gloves away from moving parts. Loose clothes, jewelry or long hair can get sucked into the in moving parts of the heater.
- Heater use and care
DO NOT move the heater when it is in operation or when plugged into the mains supply. Only move heater once it has cooled and it has been unplugged.- Use the correct heater for your application. The correct heater will do the job better and safer at the rate for which it was designed.
- Do not use the heater if the switch does not turn it on and off. Any heater that cannot be controlled with the switch is dangerous and must be repaired.
- Disconnect the plug from the power source before making any adjustments. Such preventive safety measures reduce the risk of starting the heater accidentally.
- Store idle heater out of the reach of children and do not allow persons unfamiliar with the heater or these instructions to operate the power tool. Heaters are dangerous in the hands of untrained users.
- Maintain heaters. Check for misalignment or binding of moving parts, breakage of parts and any other condition that may affect the heaters operation. If damaged, have the heater repaired before use. Many accidents are caused by poorly maintained heaters.
- Use the heater, in accordance with these instructions, taking into account the working conditions and the work to be performed. Use of the heater for operations different from those intended could result in a hazardous situation.
- Service
- Have your heater serviced by a qualified repair person using only identical replacement parts. This will ensure that the safety of the heater is maintained.
WARNING: Before using this heater please read this OPERATING INSTRUCTION very carefully. This USER’S MANUAL has been designed to instruct you as to the proper manner in which to assemble, maintain, store, and most importantly, how to operate the heater in a safe and efficient manner.
DANGER: Improper use of this heater can result in serious injury or death from burns, fire, explosion, electrical shock, and/or carbon monoxide poisoning.
WARNING: Risk of Burns/Fire/Explosion!
- NEVER use fuels such as petrol, benzene, paint thinners, or other oil compounds in this heater (RISK OF FIRE OR EXPLOSION)
- NEVER use this heater where flammable vapors may be present
- NEVER refill the heater’s fuel tank while heater is operating or still hot. This heater is EXTREMELY HOT while in operation
- Keep all combustible materials away from this heater.
Use only diesel or kerosene fuel according to EN 267. For details please refer to your fuel supplier or contact your dealer.
WARNING: Never leave the heater unattended while burning!
WARNING: Risk of Indoor Air Pollution!
- Use this heater only in well ventilated areas!
- Provide at least a three square foot (2,800 sq cm) opening of outside air for every 25,000Kcal/hr of heater rating.
- People with breathing problems should consult a physician before using the heater.
- Carbon Monoxide Poisoning: Early signs of carbon monoxide poisoning resemble flu-like symptoms such as headaches, dizziness, and/or nausea. If you have these symptoms, your heater may not be working properly.
- Get fresh air at once! Have the heater serviced. Some people are more affected by carbon monoxide than others. These include pregnant women, those with heart or lung problems, anaemia, or those under the influence of alcohol, or at high altitudes.
- Never use this heater in living or sleeping areas.
WARNING: Risk of Electric Shock!
Use only the electrical power (voltage and frequency) specified on the model plate of the heater. Use only a three-prong, grounded outlet and extension cord.
- ALWAYS install the heater so that it is not directly exposed to water spray, rain, dripping water, or wind.
- ALWAYS unplug the heater when not in use.
Minimum Clearances
Outlet ……………………………..8 feet (250cm).
Sides, Top and Rear…………..4 feet (125cm). - NEVER block air inlet (rear) or air outlet (front) of heater.
- NEVER use duct work in front or at rear of.
- NEVER move or handle heater while still hot.
- NEVER transport heater with fuel in its tank.
- When used with optional thermostat or if equipped with a thermostat, the heater may start at any time.
- ALWAYS locate heater on a stable and level surface.
- ALWAYS keep children and animals away from heater.
- Use 1-K kerosene in this heater. #1 fuel oil is a suitable substitute.
- Bulk fuel storage should be a minimum of 25ft from heaters, torches, portable generators, or other sources of ignition. All fuel storage should be in accordance with National, state, or local authorities.
CONNECTION TO THE POWER SUPPLY
CAUTION: Risk of electric shock. Do not open.
This appliance is supplied with a molded 3 pin mains plug for your safety. The value of the fuse fitted is marked on the pin face of the plug. Should the fuse need replacing, ensure the substitute is of the correct rating, approved to BS1362 and ASTA or BS Kite marked.
ASTA
BSI
The fuse cover is removable with a small plain slot screwdriver. Ensure the fuse cover is replaced before attempting to connect the plug to an electrical outlet. If the cover is missing, a replacement must be obtained or the plug replaced with a suitable type.
If a replacement plug is to be fitted this must be carried out by a qualified electrician.
The damaged or incomplete plug, when cut from the cable shall be disabled to prevent connection to a live electrical outlet.
This appliance is Class I† and is designed for connection to a power supply matching that detailed on the rating label and compatible with the plug fitted.
If an extension lead is required, use an approved and compatible lead rated for this appliance. Follow all the instruction supplied with the extension lead.
† Earthed: This product requires an earth connection to protect against electric shock from accessible conductive parts in the event of a failure of the basic insulation.
TECHNICAL DESCRIPTION
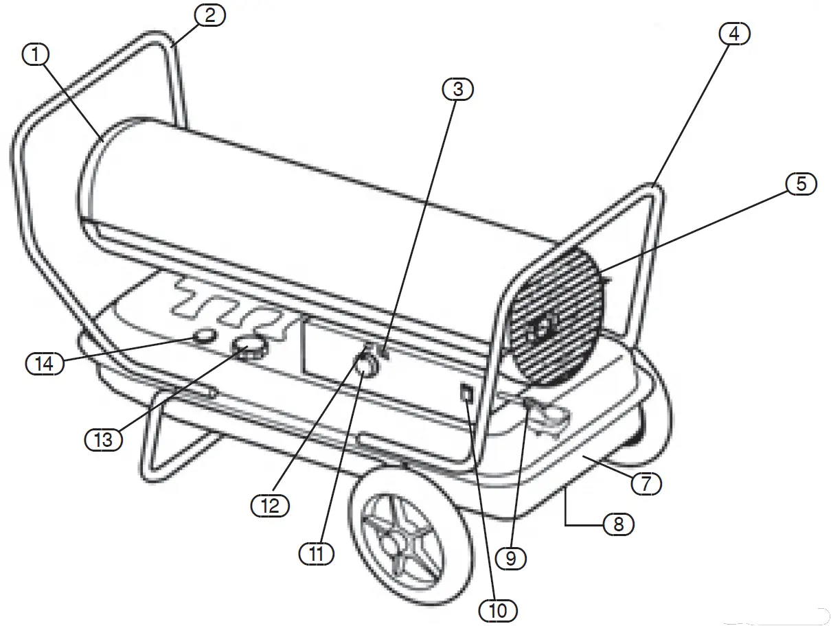
IDENTIFICATION

- 1. Hot air outlet.
- 2. Handle (front).
- 3. Digital Temp. display†.
- 4. Handle (rear).
- 5. Fan guard.
- 7. Fuel tank.
- 8. Drain plug.
- 9. Power cable.
- 10. Power switch.
- 11. Thermostat control†.
- 12. Indicator lamp.
- 13. Fuel cap.
- 14. Fuel Gauge

- 15. Leg frame.
- 16. Bracket.
- 17. Fixing kit.
- 18. Axle.
- 19. Wheels.
- 20. Wheel fixing kit.
- 21. Handle fixing kit.
Wheel and frame Kit not supplied with 32286 or 32287
UNPACKING & CHECKING
PACKAGING
Carefully remove the product from the packaging and examine it for any sign of damage that may have happened during shipping. Lay the contents out and check them against the parts list provided. If any part is damaged or missing; please contact the Draper Helpline and do not attempt to use the product.
The packaging material should be retained at least during the guarantee period: in case the heater needs to be returned for repair.
Warning! Some of the packaging materials used may be harmful to children. Do not leave any of these materials in the reach of children.
If any of the packaging is to be thrown away, make sure they are disposed of correctly; according to local regulations.
PREPARING THE HEATER
HANDLE FITMENT (32286 & 32287)
- Align the holes in the upper housing with the two mounting holes on the handle.
- Screw the handle securely with the screws provided.

HANDLE & WHEEL FITMENT (32285 & 53926)
- Slide the axle through the leg frame.
- Push the wheels onto the axle. The protruding hub goes on the inside.
- Fit the washer to hold the wheel in place and secure with the split pin.

NOTE: Bend the ends of the pin to prevent it from falling out during use. - Align the heater on the leg frame.
NOTE: Air inlet over the wheels. - Align the front and rear handles.
- With four of the bolts and nuts provided, sandwich the upper handle, fuel tank lip and leg frame. The remaining four bolts and nuts attach the handles to the fuel tank lip only.

WHEELS (32284 & 53925)
- Centralize the axle before clamping it to the underside of the fuel tank with brackets.
- Secure with the nuts and bolts provided.
Follow steps ii and iii above to complete the assembly.
PREPARING THE HEATER
FUELS
Use only standard Diesel or Kerosene heater oil according to EN 267.
WARNING: Never use petrol, oil, used oils, naphtha, paint thinners, alcohol or other highly flammable fuels. Using incorrect fuel may cause danger of explosion and death.
IMPORTANT: Be sure fuel tank is clean. Foreign matter such as rust, dirt, or water will cause the ignition control assembly to shut down heater. Foreign matter may also require heater’s fuel system to be frequently cleaned.
WARNING: Do not fill the fuel tank while the heater is running.
NOTE: Kerosene should only be stored in a black container that is clearly marked “kerosene”. Never store kerosene in a red container. Red is associated with petrol.
- NEVER store kerosene in the living space. Kerosene should be stored in a well ventilated area outside the living area.
- NEVER use fuel such as petrol, benzene, alcohol, white gas, camp stove fuel, paint thinners, or other oil compounds in this heater (THESE ARE VOLATILE FUELS THAT CAN CAUSE A FIRE OR EXPLOSION).
- NEVER store kerosene in direct sunlight or near a source of heat.
- NEVER use kerosene that has been stored from one season to the next. Kerosene deteriorates over time. OLD KEROSENE WILL NOT BURN PROPERLY IN THIS HEATER.
FUELLING YOUR HEATER
Never fill the heater fuel tank in the living space: fill the tank outdoors.
Do not overfill your heater and be sure heater is level.
WARNING: Never refill fuel tank when heater is operating or still hot.
VENTILATION
CAUTION: Risk of indoor air pollution. Use heater only in well ventilated areas
Provide a fresh air opening of at least three (3) square feet (2,800 sq. cm) for each 30,000 kcal/Hr. rating. Provide extra fresh air if more heaters are being used.
Example: A 32284 heater requires one of the following:
- A two-car garage door raised six inches (15.24 cm).
- A single-car garage door raised nine inches (22.86 cm).
- Two, thirty inch (76.20 cm) windows raised fifteen inches (38.1 cm).
WARNING: Never try to use the heater for the purpose of heating residential rooms.
OPERATING THE HEATER
TO START HEATER
- Fill fuel tank with appropriate fuel.
- Fit fuel cap.
- Plug power cable into mains supply.
- Extension Cable Wire Size Requirements:
- 6 to 10 feet (1.8 to 3 meters) long, use 1.0mm gauge cable.
- 11 to 100 feet (3.4 to 30.53 meters) long, use 1.3mm gauge cable.
- 101 to 200 feet (30.8 to 61 meters) long, use 1.6mm gauge cable.
- Turn THERMOSTAT CONTROL to desired setting and press power switch to “ON” position. Power indicator lamp will light and heater will start.
If heater does not start, the thermostat setting may be too low. Turn THERMOSTAT CONTROL to higher position to start heater. If heater still does not start, turn power switch to OFF and then to ON position.
TO SHUT DOWN HEATER
Turn power switch to “OFF” and unplug power cable.
TO RESTART HEATER
- Wait 10 seconds after stopping heater.
- Repeat steps under, “TO START HEATER.”
FUEL SYSTEM
This heater is equipped with an electric air pump that forces air through the air line connected to the fuel intake, and then through a nozzle in the burner head. When air passes in front of the fuel intake, it causes fuel to rise from the tank and into the burner nozzle.
This fuel and air mixture is then sprayed into the combustion chamber in a fine mist.
The electronic ignitor sends voltage to a specially designed spark plug. The spark plug ignites the fuel and air mixture described.
The heavy duty motor turns a fan that forces air into and around the combustion chamber. Here, the air is heated and then forced out the front of the heater.
THE SAFETY SYSTEM
Temperature Limit Control: This heater is equipped with a Temperature Limit Control designed to turn the heater off should the internal temperature rise to an unsafe level. If this device activates and turns your heater off, it may require service.
Once the temperature falls below the reset temperature, you will be able to start your heater.
Electrical System Protection: This heater’s electrical system is protected by a fuse mounted to the PCB Assembly that protects it and other electrical components from damage. If your heater fails to operate, have this fuse checked first and replace as needed.
Flame-Out Sensor: Utilizes a photocell to monitor the flame in burn chamber during normal operation. It will cause the heater to shut off should the burner flame extinguish.
STORING, TRANSPORTING OR SHIPPING
CAUTION: Fuel tank MUST be empty before shipping or transportation.
DRAINING THE FUEL TANK:
Underneath the fuel tank is the drain plug, place a suitable size container under drain plug, remove drain plug to drain all fuel. Be sure all fuel is removed. To assist the removal of fuel – remove the fuel cap.
If any debris is noted in old fuel, add 1 or 2 liters of clean fuel into tank, wash around and drain again. This will prevent excess debris from clogging the filters during future use.
Replace fuel cap and drain plug. Properly dispose of old and dirty fuel in line with local disposal regulations.
DO NOT dispose of old fuel into a main drains – this is illegal.
Before storing, drain the fuel tank empty and clean the heater as described in the maintenance section. Store the heater in a dry place away from children. Make sure the storage place is free of dust and corrosive fumes.
MAINTENANCE
WARNING: Never service heater while it is plugged in or while hot!
USE ORIGINAL EQUIPMENT REPLACEMENT PARTS. Use of third-party or other alternate components will void warranty and may cause unsafe operating conditions.
FUEL TANK
Flush every 200 hours of operation or as needed.
AIR INTAKE FILTER

WASH AND DRY WITH SOAP AND WATER EVERY 500 HOURS OF OPERATION, OR AS NEEDED.
- Remove screws along side of heater using No.2 cross slot screwdriver.
- Lift off upper shell.
- Remove fan guard.
- Wash or replace air intake filter.
- Reinstall fan guard and upper shell
AIR OUTPUT FILTER, LINT FILTER

REPLACE EVERY 500 HOURS OF OPERATION OR ONCE A YEAR
- Remove upper shell and fan guard.
- Remove end filter cover screws using No.2 cross slot screwdriver.
- Remove end filter cover
- Replace air output and lint filter
- Reinstall end filter cover.
- Reinstall fan guard and upper shell
FAN BLADES
CLEAN EVERY SEASON OR AS NEEDED
- Remove upper shell (See Air Intake Filter).
- Use M6 hex. key to loosen set screw which holds fan blade to motor shaft.
- Slip fan blade off motor shaft.
- Clean fan blade using soft cloth moistened with water and a mild detergent.
- Dry fan blade thoroughly.
- Reinstall fan blade to motor shaft.
- Place fan blade hub flush with end of motor shaft.
- Place set screw on flat of shaft.
CLEAN PHOTOCELL

Clean photocell annually or as needed.

- Remove upper shell.
- Remove fan (See Fan Blades).
- Remove photocell from its mounting bracket.
- Clean photocell lens with cotton swab.
TO REPLACE: Remove side cover near power switch.

- Disconnect wires from power switch and remove side cover.
- Disconnect wires from circuit board and remove photocell.
- Install new photocell and attach wires to circuit board.
- Replace switch wires to power switch and side cover.
- Replace fan and upper shell.

FUEL FILTER
CLEAN OR REPLACE TWICE PER HEATING SEASON OR AS NEEDED.

- Remove side cover screws using No.2 cross slot screwdriver.
- Remove side cover and disconnect wires as necessary.
- Pull fuel line off fuel filter neck.
- Turn fuel filter anticlockwise 90 degrees, pull, and remove.
- Wash fuel filter with clean fuel and replace in tank.
- Attach fuel line to fuel filter neck.
- Reinstall side cover.
BURNER HEAD

- Open upper shell (See left instructions).
- Remove fan blade (See Fan Blades).
- Remove fuel and air line hoses from burner head.
- Remove ignitor wire from spark plug.
- Remove spark plug from nozzle rod using a No.2 cross-slot screwdriver.

- Turn the nozzle rod anti-clockwise and separate from the burner head.
- Carefully remove the nozzle from the nozzle rod using a 5/8″ socket.
- Blow compressed air through the face of the nozzle, removing any dirt.
- Reinstall nozzle into nozzle rod and tighten firmly.
- Reinstall spark plug onto nozzle rod.
- Turn the nozzle rod clockwise to reassemble into the burner head.
- Attach ignitor wire to spark plug.
- Attach fuel and air line hoses to burner head.
- Reinstall fan blade and upper shell.
SPARK PLUG

CLEAN AND RE-GAP EVERY 600 HOURS OF OPERATION OR REPLACE AS NEEDED.
- Remove upper shell (See Air Intake Filter).
- Remove fan (See Fan Blades).
- Remove ignitor wire from spark plug.
- Remove spark plug from burner head using No.2 cross slot screwdriver.
- Clean and re-gap spark plug electrodes to 3.5mm gap.
- Reinstall spark plug into burner head.
- Attach ignitor wire to spark plug.
- Reinstall fan and upper shell.
PHOTOCELL
CLEAN PHOTOCELL ANNUALLY OR AS NEEDED (For 32286 and 32267 only).

- Remove upper shell (See Air Intake Filter).
- Remove fan (See Fan Blades).
- Remove photocell from its mounting bracket.
- Clean photocell lens with cotton swab.
TO REPLACE: Remove side Cover near power switch.
- Disconnect wires from circuit board and remove photocell.
- Install new photocell and attach wires to circuit board.
- Reinstall fan and upper shell (For models 32285 & 32274 only).
- Remove upper shell (See Air Intake Filter).
- Remove fan (See Fan Blades).
- Remove photocell from its mounting bracket.
- Clean photocell lens with cotton swab.
DISPOSAL
- At the end of the machine’s working life, or when it can no longer be repaired, ensure that it is disposed of according to national regulations.
- Contact your local authority for details of collection schemes in your area.
In all circumstances:- Do not dispose of power tools with domestic waste.
- Do not incinerate.
- Do not abandon in the environment.
- Do not dispose of WEEE*
as unsorted municipal waste.
* Waste Electrical & Electronic Equipment.
CONTACTS
- DRAPER TOOLS LIMITED,
Hursley Road, Chandler’s Ford,
Eastleigh, Hampshire. SO53 1YF. U.K. - Helpline: (023) 8049 4344
- Sales Desk: (023) 8049 4333
- General Enquiries: (023) 8026 6355
- Service/Warranty Repair Agent
For aftersales servicing or warranty repairs, please contact the Draper Tools Helpline for details of an agent in your local area.
























