125,000BTU/HR SPACE WARMER® KEROSENE/DIESEL HEATER WITH WHEELS
MODEL NO: IR37.V5
Thank you for purchasing a Sealey product. Manufactured to a high standard, this product will, if used according to these instructions, and properly maintained, give you years of trouble-free performance.
IMPORTANT: PLEASE READ THESE INSTRUCTIONS CAREFULLY. NOTE THE SAFE OPERATIONAL REQUIREMENTS, WARNINGS & CAUTIONS. USE
THE PRODUCT IS CORRECTLY AND WITH CARE FOR THE PURPOSE FOR WHICH IT IS INTENDED. FAILURE TO DO SO MAY CAUSE DAMAGE AND/OR PERSONAL INJURY WILL INVALIDATE THE WARRANTY. KEEP THESE INSTRUCTIONS SAFE FOR FUTURE USE.
| Refer to Instruction Manual | Wear Protective gloves (refueling) | Warning!: Hot surface | DO NOT use petrol | Use heater in well-ventilated areas | Always unplug the heater before servicing and checking | Never use heater where highly flammable vapors are present |
THIS HEATER IS NOT SUITABLE FOR USE AS A PRIMARY HEATING SOURCE
SAFETY
1.1. ELECTRICAL SAFETY
WARNING! It is the user’s responsibility to check the following:
Check all electrical equipment and appliances to ensure that they are safe before use. Inspect power supply leads, plugs, and all electrical connections for wear and damage. Sealey recommends that an RCD (Residual Current Device) is used with all electrical products. You may obtain an RCD by contacting your local Sealey stockist.
If the product is used in the course of business duties, it must be maintained in a safe condition and routinely PAT (Portable Appliance Test) tested.
Electrical safety information, it is important that the following information is read and understood.
Ensure that the insulation on all cables and on the appliance is safe before connecting it to the power supply.
Regularly inspect power supply cables and plugs for wear or damage and check all connections to ensure that they are secure.
Important: Ensure that the voltage rating on the appliance suits the power supply to be used and that the plug is fitted with the correct fuse – see fuse rating in these instructions.
DO NOT pull or carry the appliance by the power cable.
DO NOT pull the plug from the socket by the cable.
DO NOT use worn or damaged cables, plugs, or connectors. Ensure that any faulty item is repaired or replaced immediately by a qualified electrician.
This product is fitted with a BS1363/A 13 Amp 3 pin plug. If the cable or plug is damaged during use, switch off the electricity supply and remove it from use. Ensure that repairs are carried out by a qualified electrician. Replace a damaged plug with a BS1363/A 13 Amp 3 pin plug. If in doubt contact a qualified electrician.
a) Connect the GREEN/YELLOW earth wire to the earth terminal ‘E’.
b) Connect the BROWN live wire to the live terminal ‘L’.
c) Connect the BLUE neutral wire to the neutral terminal ‘N’.
Ensure that the cable outer sheath extends inside the cable restraint and that the restraint is tight. Sealey recommends that repairs are carried out by a qualified electrician.
1.1.1. If an extension reel is used it should be fully unwound before connection. A reel with an RCD fitted is preferred since any appliance plugged into it will be protected. The able core section is important and should be at least 1.5mm², but to be absolutely sure that the capacity of the reel is suitable for this product and for others that may be used in the other output sockets, we recommend the use of 2.5mm² section cable.
1.2. GENERAL SAFETY
▲ DANGER! Risk of carbon monoxide poisoning. Failure to provide proper ventilation could result in serious illness or death.
Check that the heater is in sound condition and in good working order. Take immediate action to repair or replace damaged parts.
Use recommended parts only. Unauthorized parts may be dangerous and will invalidate the warranty.
Only use clean paraffin, diesel (NOT BIO-DIESEL), or kerosene to fuel this heater, in accordance with instructions contained in this manual.
Locate the heater on a level and stable surface.
Switch off if any irregularities occur.
WARNING! Only use the heater in well-ventilated areas. Ensure continuous ventilation is provided to the heater operating area via windows and doors etc. If people are not required to be present in the heated area, the volume of air to be heated (mtr³)/ heat output (kW) ratio must be at least 10:1 and people must be advised not to remain in the eaten area for prolonged periods. If people are required to be present in the heated area, the volume of air to be heated (mtr³)/heat output (kW) ratio must be at least 30:1. ventilation must be to the outside of the premises in which the heater is to be operated. The total open area (mtr²) must be at least 0.003 times the total heat output (kW). The volume concentration of oxygen (O²) in the heated room, must always remain above 17%.
WARNING! DO NOT use the heater near flammable material, liquids, solids, gases or compressed gas cylinders, etc.
DO NOT switch the heater off by disconnecting it from the mains. ALWAYS set the switch on the burner to the ‘OFF’ position and allow the cooling cycle to finish, before disconnecting from the mains.
DO NOT stand or place any object less than 3m from the heater output and keep the heater a minimum of 2m from any walls or objects.
DO NOT use the heater in closed rooms, living areas, basements, or below ground level.
DO NOT allow untrained persons to operate the heater and DO NOT operate the heater without the safety guard.
DO NOT move or handle the heater when hot, without wearing protective gloves. Never move the heater whilst it is operating.
DO NOT leave the heater unattended for prolonged periods of time when in use. Switch the heater off and unplug from the mains before leaving the work area.
DO NOT fill the fuel tank whilst the heater is running or still hot. DO NOT overfill the fuel container. Wipe up any spilled fuel immediately.
DO NOT obstruct the air inlet (rear) and air outlet (front) of the heater and DO NOT use ductwork in front or at the rear of the heater.
DO NOT allow children or animals near the heater when in use, or whilst still hot.
WARNING! RISK OF ELECTRIC SHOCK. DO NOT expose the heater to water spray, rain, dripping water or wind.
DO NOT operate the heater when you are tired or under the influence of alcohol, drugs or intoxicating medication.
DO NOT touch the heater outlet or cone when in use, or for a period of time after it’s switched off, as these are VERY hot and will take time to cool down.
DO NOT use an external fuel tank. Only use the tank that is fitted to the heater, and only fill it when the heater has cooled down.
Ensure that the heater is correctly turned off.
When not in use for an extended period, store in a safe, dry area, out of reach of children.
Important: This appliance is not intended for persons (including children) with reduced physical, sensory or mental capabilities, or lack of experience and knowledge unless hey have been given supervision or instruction concerning the use of the appliance by a person responsible for their safety. Children should be supervised to ensure that they do not play with the appliance.
INTRODUCTION
Versatile multi-fuel heater designed to run on paraffin, kerosene, or diesel. Clean burning unit suitable for well-ventilated applications. 53L Tank allows approximately 20hrs running time, making this unit extremely economical. Safety features include automatic overheat safety shut-off and quiet operation.
SPECIFICATION
| Model | IR37.V5 |
| Fuel Tank | 53L |
| Fuel | Paraffin/Kerosene/Diesel |
| Heated Area | 25,000ft³(708m³) |
| Output | 95,000Btu/hr(20.5kW)/125,000Btu/ hr(37kW) |
| Running time Per Filling (Maximum) | 20hr |
| Supply | 230V |
WARNING This heater is not suitable for use with Bio-Diesel; the use of Bio-Diesel will damage the filter and seals. Damage caused by the use of Bio-Diesel will not be covered by a warranty.

Tips on ignition:
The photocell is sensitive to sunlight, ignite in the shade.
Listen for fan followed by pump, after switch position “∫ ” Priming essential when new, see 5.3.4.
Observe the fuel level in the filter bowl.
Clean fuel requires a clean reservoir and lean transfer cans.

ASSEMBLY
4.1. Remove the front guard from the packed/transit position.
4.2. Slide axle through wheel frame place on the spacer, wheel then nut, see fig.2.
4.3. Place main structure on Wheel Frame and fasten with nuts, Bolts, and washers provided, see fig.3.
4.4. Attach a safety guard to the front of the heater with bolts provided, see fig.4
4.5. Fit radiant visor to bottom 3 screws of radiant cone assembly, see fig.1A.
OPERATION
WARNING! This heater is not suitable for use with Bio-Diesel; the use of Bio-Diesel will damage the filter and seals. Damage caused by the use of Bio-Diesel will not be covered by a warranty.
5.1. PRINCIPLES OF OPERATION
5.1.1. Fuel System: This heater is equipped with an air pump that operates off the electric motor. The pump forces air through the air line connected to the fuel tank, drawing fuel to the nozzle in the burner head. Air also passes through the nozzle where it mixes with the fuel and is sprayed into the combustion chamber as a fine mist.
5.1.2. Quick-Fire Ignition: A transformer sends high voltage to a two-pronged spark plug.
5.1.3. The spark ignites the fuel/air mixture as it is sprayed into the combustion chamber.
5.1.4. Air System: A fan is turned by the heavy-duty motor, which forces air around and into the combustion chamber, where it is super-heated and forced out the front of the chamber.
5.1.5. Electrical System Protection: The heater’s electrical system is protected by a circuit breaker that protects the system components from damage. If the heater fails, check the fuse first, and replace if necessary.
5.1.6. Flame Sensor: The heater uses a photocell to see the flame in the combustion chamber. Should the flame extinguish, the sensor will stop the electrical current and the heater will shut off.
5.1.7. Tip-over Sensor: The heater uses a tip-over sensor.
5.1.8. Fuel: the heater operates with paraffin, kerosene, or diesel fuel. DO NOT use any other type of fuel.
5.1.9. When used in the construction or agricultural industries ensure that the safety regulations in force are adhered to with regard to distances from flammable materials and any other specified substances.
WARNING! Air contaminants taken into the heater may affect the heat output, damage the unit, and may cause health problems. Example: Bodyshop filler dust/paint overspray will damage the motor bearing, clog the filter and compressor and contaminate the combustion chamber causing flame flutter and health hazards. Please note that any art damaged by filler dust/paint overspray will not be covered by warranty. Additionally, a cleaning charge will be made for any heaters damaged by filler dust/ paint overspray.
5.2. VENTILATION:
WARNING! Only use the heater in well-ventilated areas. Careful consideration must be given to the placing of the heater to provide safe and comfortable heating. Ensure continuous ventilation is provided to the heater operating area. A ventilation opening must run to the outside of the premises in which the heater is to be operated.
The heater requires a fresh air opening of at least 2800cm².
For Example:
– A two-car garage door should be open at least 11cm.
– A single-car garage door should be open at least 16cm.
– Two 76cm windows should be open at least 20cm.
5.3. STARTING THE HEATER
NOTE: If air has entered the fuel line; possible when new, when left standing for a long period, or when the tank level has fallen too low, priming may be necessary (see 5.3.4). preferable to start the heater outdoors for the first time, to allow any oils left over from the manufacturing process and transporting to be burnt off in a safe environment. Run it for 10 minutes on this first burn.
5.3.1. Carefully fill the fuel tank with clean approved fuel until the fuel gauge (Fig.1B) points to ‘F’.
5.3.2. Ensure the fuel cap is secure.
5.3.3. Plug the power cord into a suitable power socket. If using an extension lead see Electrical Safety section 1.1.
5.3.4. Turn the power knob in Fig.1 from “O” to the “ “ setting. The green “power indicator” lamp will illuminate, and the fan will run the following thing in 15 seconds by the ump. Inside the next 30 seconds, the heater will ignite. If the heater does not ignite the red “Misfire” lamp will illuminate and flash after 3 attempts. Switch the unit off “O” and wait approximately 20 seconds before attempting to ignite again; these 20 seconds will allow the PCB to recalibrate. On successful ignition, if required, increase the heat by turning the knob to set ![]()
5.3.5. When switching from one heat level to another during operation, it may cease operating and go into the misfire sequence. If this happens, turn the power knob to the “O” position and immediately turn it to the desired heat level.
NOTE: The electrical components of this heater are protected by a fuse mounted in the PCB. If the heater fails to fire, check this fuse first, and replace if necessary. Also, check the power source to ensure that the correct voltage is being provided to the heater.
5.4. TILTING FEATURE
5.4.1. Loosen the hand screws on the main frame of the heater, position the heater in the desired position and tighten the hand screws to secure the heater in the tilted position.
5.5. TO STOP THE HEATER
5.5.1. Turn the power knob to the “O” position, and the green “power indicator” will go off. Combustion will stop, and the Cooling Cycle (approx. 5 minutes in duration) will begin.
5.5.2. When the Cooling Cycle is completed (fan stops running), it is safe to unplug the heater.
WARNING! Unplugging the heater before the Cooling Cycle has finished may cause overheating, and possible damage to the heater and heat plate, and will invalidate the warranty.
5.6. RESTART THE HEATER
5.6.1. Wait ten seconds after the cooling cycle has been completed.
5.6.2. Turn the power knob to the position and wait 10 seconds before adjusting the heat level if required.
5.6.3. Be sure to follow all starting procedure precautions.
MAINTENANCE
Use only original equipment replacement parts. Isolate power before any maintenance. The use of alternate or third-party components can cause unsafe operating conditions and will invalidate the warranty. We suggest following a maintenance schedule as follows.
6.1. FUEL/FUEL TANK – Flush every 200 hours of operation or as needed. DO NOT use water to flush the tank. Use fresh kerosene/ paraffin/diesel only.
6.2. FILTERS – The Fuel Filter and Oil Filter should be cleaned at least twice per heating season by rinsing them in clean kerosene/
paraffin/diesel. This procedure should also be followed if the fuel is found to be contaminated (Fig.5).
6.3. NOZZLE – Nozzles should be cleaned or replaced at least once per heating season. This procedure should also be followed if the fuel is found to be contaminated.
6.3.1. To clean dirt from the nozzle, blow compressed air through the nozzle front. It may be necessary to soak the nozzle in clean kerosene/paraffin/ diesel to help loosen any particles (Fig.6).
6.4. SPARK PLUG – Clean and re-gap every 600 hours of operation, or replace as needed (Fig.7).
6.4.1. After removing the Spark Plug, clean the terminals with a wire brush.
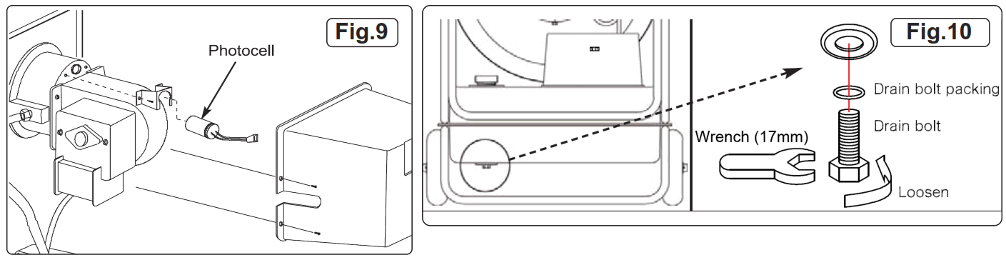
6.5. PHOTOCELL – The Photocell should be cleaned at least once per heating season or more depending on conditions.
6.5.1. Δ Isolate power before using a cotton swab dipped in water or alcohol to clean the lens of the Photocell (Figs.8 and 9).
6.6. LONG-TERM STORAGE
6.6.1. Unscrew the Drain Bolt and drain fuel into a suitable container (Fig.10).
6.6.2. Using a small amount of kerosene/paraffin/diesel, rinse and swirl the fuel around the fuel tank. Empty the tank completely.
6.6.3. Never store leftover kerosene/paraffin/diesel over the summer. Using old fuel can damage the heater.
6.6.4. Store heater in a dry, well-ventilated area.
6.6.5. Be sure that the storage area is free of dust and corrosive vapors. Repack the heater in the original shipping material. Keep this User’s Manual in an easily accessible place.


TROUBLESHOOTING

Although this heater operates with diesel fuel, when the temperatures are below 0°C, diesel additives are required to maintain the diesel’s viscosity. Typically diesel can cloud in freezing conditions and will start to gel. You will need additives for your fuel in these conditions. Kerosene/Paraffin does not start to gel until the ambient temperature is around -40°C.
| Problem | Possible Cause | Solution |
| The heater fires, but shuts down after a short period of time. | 1. Dirty fuel filter. | 1. Clean/replace the fuel filter. |
| 2. Nozzle dirty. | 2. Clean/replace the nozzle. | |
| 3. Photocell dirty. | 3. Clean/replace photocell. | |
| 4. Photocell is not installed properly. | 4. Adjust photocell position. | |
| 5. Photocell defective. | 5. Replace photocell. | |
| 6. Improper electrical connection between circuit board and photocell. | 6. Check wiring connections | |
| 7. Cooling fan is obstructed. | 7. Check to make sure the cooling fan is not obstructed. | |
| The heater will not operate, or the motor runs for short time. | 1. No fuel in the fuel tank. | 1. Fill tank with fresh fuel. |
| 2. Corroded spark plug or incorrect plug gap. | 2. Clean/replace the spark plug. | |
| 3. Dirty fuel filter. | 3. Clean/replace the fuel filter. | |
| 4. Dirty nozzle. | 4. Clean/replace the nozzle. | |
| 5. Moisture in fuel/fuel tank. | 5. Rinse out the fuel tank and fill it with clean fresh fuel. | |
| 6. Improper electrical connection between transformer and circuit board. | 6. Inspect all electrical connections. | |
| 7. Transformer wires not connected to spark plug. | 7. Re-attach transformer wires to spark plug. | |
| 8. Defective transformer. | 8. Replace the transformer. | |
| The fan does not operate when the heater is plugged in and the power switch is in the | 1. Broken electrical connection between circuit board and motor. | 1. Inspect all electrical connections. |
| 2. Not enough amps available to power the heater. | 2. Use a new extension cord or try another electrical socket. | |
| The heater does not turn on and the lamp is not lit. | 1. Temperature limit sensor has overheated. | 1. Turn the power knob to “0” and allow the heater to cool for 5 minutes. Turn the power knob back to (” I”). |
| 2. No electrical power. | 2. Check the power cord and extension cord to ensure proper connection. Test power supply. | |
| 3. Fuse break down. | 3. Check/replace use. | |
| 4. Improper electrical connection between temperature limit sensor and circuit board. | 4. Inspect all electrical connections. | |
| Poor combustion and/or soot production. | 1. Incorrect pump pressure. | 1. Ensure pump pressure is adjusted correctly. |
| 2. Poor fuel quality. | 2. Ensure fuel is not old or contaminated. |
ENVIRONMENT PROTECTION
Recycle unwanted materials instead of disposing of them as waste. All tools, accessories and packaging should be sorted, taken to a recycling centre and disposed of in a manner that is compatible with the environment. When the product becomes completely unserviceable and requires disposal, drain any fluids (if applicable) into approved containers and dispose of the product and fluids according to local regulations.
WEEE REGULATIONS
Dispose of this product at the end of its working life in compliance with the EU Directive on Waste Electrical and Electronic Equipment (WEEE). When the product is no longer required, it must be disposed of in an environmentally protective way. Contact your local solid waste authority for recycling information.
Note: It is our policy to continually improve products and as such we reserve the right to alter data, specifications, and component parts without prior
notice. If you require documentation for alternative versions, please email or call our technical team at [email protected] or 01284 757505.
Important: No Liability is accepted for incorrect use of this product.
Warranty: Guarantee is 12 months from purchase date, proof of which is required for any claim.
Information requirements for gaseous/liquid fuel local space heaters
| Model identifier(s): IR37.V5 | |||||||||||||
| Indirect heating functionality: Yes No | |||||||||||||
| Direct heat output: 36.6 (kW) | Indirect heat output: | N/A | (kW) | ||||||||||
| Fuel | Space heating emissions NOx nitrogen oxides | ||||||||||||
| Select fuel type: | Gaseous | Liquid | Specify: Diesel | 118.2 [mg/kWhinput] (GCV) | |||||||||
| Item | Symbol | Value | Unit | Item | Symbol | Value | Unit | ||||||
| Heat output | Useful efficiency (NCV) | ||||||||||||
| Nominal heat output | Pnom | 38.1 | kW | Useful efficiency at the nominal heat output | ῃth, nom | 90.5 | % | ||||||
| Minimum heat output (indicative)* | Pmin | 28.1 | kW | Useful efficiency at minimum heat output (indicative)* | ῃth, min | N/A | % | ||||||
| Auxiliary electricity consumption | Type of heat output/room temperature control (select one) | ||||||||||||
| At nominal heat output | Elmax | 0.084 | kW | Single stage heat output, no room temperature control | Yes No | ||||||||
| At minimum heat output | Elmin | 0.075 | kW | Two or more manual stages, no room temperature control | Yes No | ||||||||
| In standby mode | Elsb | N/A | kW | With mechanical thermostat room temperature control | Yes No | ||||||||
| * Enter figure or NA | With electronic room temperature control | Yes No | |||||||||||
| With electronic room temperature control plus a day timer | Yes No | ||||||||||||
| With electronic room temperature control plus a week timer | Yes No | ||||||||||||
| Other control options (multiple selections possible) | |||||||||||||
| Room temperature control, with presence detection | Yes No | ||||||||||||
| Room temperature control, with open window detection | Yes No | ||||||||||||
| With the distance control option | Yes No | ||||||||||||
| With adaptive start control | Yes No | ||||||||||||
| Permanent pilot flame power requirement | With working time limitation | Yes No | |||||||||||
| Pilot flame power required (if applicable)* | Pilot | N/A | kW | With a black bulb sensor | Yes No | ||||||||
| The seasonal space heating energy efficiency ƞs | |||||||||||||
| Item | Symbol | Value | Unit | ||||||||||
| The seasonal space heating Energy efficiency in active mode | ƞs, on | 100 | % | ||||||||||
| The seasonal space heating energy efficiency ƞs | ƞs | 90.5 | % | ||||||||||
| Energy efficiency classes | A | ||||||||||||
| Contact details: Sealey Group, Kempson Way, Suffolk Business Park, Bury St Edmunds, Suffolk, IP32 7AR. www.sealey.co.uk | |||||||||||||
| v1 ERP Table 1 | |||||||||||||
Sealey Group, Kempson Way, Suffolk Business Park, Bury St Edmunds, Suffolk. IP32 7AR
01284 757500
01284 703534
[email protected]
www.sealey.co.uk



















