Solenoid Coil with Electrical Connector
Instruction Manual

II 3G Ex nA IIC T4 Gc X
II 3D Ex tc IIIC T125 °C Dc X
-10 °C ≤ Ta ≤ 50 °C IP65
About this documentation
Read this documentation completely, especially chapter g 2. Safety before working with the product. These instructions contain important information on the safe and appropriate assembly, operation, and maintenance of the product and how to remedy simple malfunctions yourself.
Documentation validity
This documentation is valid for CO1 series solenoid coils with the electrical connectors in the following versions:
- R412000144
- R412000145
- R412000146
- R412000147
This documentation is intended for: System owners, system planning engineers, machine manufacturers, installers
Additional documentation
Apart from this documentation, you will not receive any further documentation on the product or on the system or machine in which the product is installed. However, observe the following related documents:
- Actuated valve documentation
- Manufacturer’s system documentation additionally, always observes the following regulations:
- General, statutory, and other binding rules of the European and national laws.
- Applicable regulations for accident prevention and environmental protection.
Presentation of information
Warnings
Warnings of personal injury and damage to property are highlighted in this documentation. The measures described to avoid these hazards must be followed.
Display as a highlighted box
Warnings that are displayed in the form of highlighted boxes have the following structure:
SIGNAL WORD
Hazard type and source
Consequences of non-observance
- Precautions
Presentation with the highlighted signal word
Instructions and lists often contain warnings that are integrated into the text. Inline warnings are introduced with a bold signal word:
CAUTION! Do not exceed permissible bending radii.
Meaning of the signal words
| Signal word | Meaning |
| Danger | Immediate danger to the life and health of persons. Failure to observe these notices will result in serious health consequences, including death. |
| Caution | A possible dangerous situation. Failure to observe these notices may result in minor injuries or damage to property. |
| Notice | Possibility of damage to property or malfunction. Failure to observe these notices may result in damage to property or malfunctions, but not in personal injury. |
Symbols
Recommendation for the optimum use of our products. Observe this information to ensure the smoothest possible operation.
Abbreviations used
This documentation uses the following abbreviations:
| Abbreviation AC | Meaning |
| ED | Alternating current |
| EMC | Duty cycle |
| Explosion protection | Electromagnetic Compatibility |
| zone | Explosion protection zone as defined by ATEX directives |
| Gas-ex | Gas explosion protection |
| Dust-ex | Dust explosion protection |
Safety
2.1 About this chapter
The product has been manufactured according to the accepted rules of current technology. Even so, there is a danger of injury and damage to equipment if the following chapter and safety instructions of this documentation are not followed.
- Read this chapter and this documentation completely before working with the product.
- Keep this documentation in a location where it is accessible to all users at all times.
- Always include the operating instructions when you pass the product onto third parties.
2.2 Intended use
The product is an electrical system component.
The product was manufactured for the following applications:
- The product is intended for professional use and not for private use.
- The product is exclusively intended to be installed in an end product (such as a machine or system) or to be assembled with other components to form an end product.
Application area
The product is designed only for use in the following areas:
- Industrial applications
Operating site
- Only use the product indoors. INFO: If the product is to be used in a different area: Obtain an individual license from the relevant authorities or inspection center.
- Application only with basic valves from AVENTICS GmbH: Only basic valves with ATEX identification or basic valve without their own potential source of ignition.
- The product must first be installed in the machine/system for which the product is intended. The product may only then be commissioned.
- Observe the technical data and the specified operating conditions and performance limits.
- Intended use also includes having read and understood these instructions in full, in particular the section on g 2. safety.
Products with Ex identification according to the requirements of the ATEX directive 2014/34/EU. They may be used in accordance with the applicable installation regulations or devices and systems in explosive areas. ATEX specifications and operating conditions: see section g 5.3. Use in explosive areas
Improper use
Any use other than that described in the section “Intended use” is considered improper and is not permitted.
AVENTICS GmbH is not liable for any damages resulting from improper use. The operator alone bears the risks of improper use of the product. Improper use of the product includes in particular use in firedamp protection areas.
Obligations of the operator
Compliance with regulations
- Observe the regulations for accident prevention and environmental protection.
- Take the national regulations for potentially explosive atmospheres into account.
- Comply with the national safety rules and regulations.
Basic regulations for the use
- Only use the product if it is in perfect working order.
- Follow all the instructions on the product.
- Observe all specifications in the documentation.
- Ensure that the conditions for use meet the requirements for safe use of theproduct.
Identifications and warning signs on the product
As an owner, ensure that identifications and warning signs on the product are clearly legible.
Use in safety applications and in explosion protection areas
- Only use the product in safety-related applications if this use is specifically stated and permitted in the safety-related application documentation. If unsuitable products are installed or used in safety-relevant applications, this may result in unintended system operating states that may lead to injuries and/or equipment damage.
- Ensure that ignition hazards that develop due to the installation of system equipment are observed.
Commissioning
The product is installed in an end product (such as a machine or system) or to be assembled with other components to form an end product. Do not commission the product until it has been determined that the end product meets the country-specific provisions, safety regulations, and standards for the application.
Personnel
The owner must ensure that the following prerequisites are complied with:
- Only operating personnel who meet the qualification requirements are used (see section g 2.5. Personnel qualifications).
- The operating personnel has read and understood this documentation before working with the product. The operating personnel are regularly trained and informed about the hazards at work.
- Persons who assemble, operate, disassemble, or maintain products must not consume any alcohol, drugs, or pharmaceuticals that may affect their ability to respond.
Cleaning, maintenance, repair
The owner must ensure that the following prerequisites are complied with:
- Cleaning intervals are determined and complied with according to environmental stress factors at the operating site.
- No unauthorized repairs are attempted by employees of the operator if there is a malfunction.
- Only accessories and spare parts approved by the manufacturer are used to avoid injuries due to unsuitable spare parts.
Personnel qualifications
The work described in this document requires basic knowledge in the following areas, as well as knowledge of the appropriate technical terms:
- Pneumatics
- Electrics
The activities described in this documentation may only be carried out by the following persons: - by a qualified person or
- by an instructed person under the direction and supervision of a qualified person
Definition of a qualified person
Qualified persons are those who can recognize possible hazards and institute the appropriate safety measures due to their professional training, knowledge, and experience, as well as their understanding of the relevant conditions pertaining to the work to be done. Qualified persons must observe the rules relevant to the subject area.
Hazards
The following section gives you an overview of the basic hazards that arise when working with the product.
Notes on safety
To eliminate risks, observe the following instructions:
DANGER
The danger of death due to explosions
Impermissible ambient conditions, materials or missing feeds and discharges increase the danger of explosion!
- In the following, observe all specifications marked with “Explosion protection”.
DANGER
High danger of injury or death
Non-compliance is very likely to result in serious injury or death.
- In the following, observe all specifications marked with “accident prevention”.
CAUTION
Minor injury, material damage
Non-compliance can lead to minor injury or material damage.
- In the following, observe all specifications marked with “injury prevention, material protection”.
NOTICE
Material damage
Non-compliance can lead to material damage and malfunctions.
- In the following, observe all specifications marked with “material protection”.
The danger of explosion when working in an explosive atmosphere
If the system in which the product is to be installed is located in an explosive atmosphere, it may ignite during operation.
- Always observe the local installation regulations.
- Carry out tasks in non-explosive atmospheres only with a fire permit for these tasks. Use only non-sparking tools if you still need to deal with the presence of an explosive atmosphere.
The danger of explosion due to the formation of sparks
Formation to electrostatic charging
on the product can cause sparks to form and presents an explosion hazard in explosion protection zones. Electrostatic charging is avoided using the following measures:
- Grounding the product
- Only clean the product with damp cloths. This avoids the formation of sparks due to electrostatic charging (explosion protection).
Formation of sparks due to mechanical loads
Mechanical loads lead to the formation of sparks and present an explosion hazard.
- Never twist or bend the product, or mount it when it is under tension.
- To avoid short circuits and interruptions, make sure that connection cables and strands are not bent (material protection, explosion protection).
- Never expose the product to impacts during transportation, assembly, or operation.
- Install the product so that it is protected from the energy of external impact on the housing that can occur during operation.
- Avoid vibrations, e.g. install the system on a cushioned base.
The danger of explosion due to aggressive substances in ambient air
Explosion protection is no longer guaranteed if the ambient air contains aggressive substances.
- Only use the product in non-aggressive industrial atmospheres.
- If the ambient air contains aggressive substances: Get in touch with our contact address to determine whether use of the product is still possible (contact data: see back cover).
Danger of injury
Trip hazard due to improperly laid cables and lines
- Lay the cables and lines so that no one can trip over them.
Material damage
Damage due to too high mechanical loads The product can be damaged by too high mechanical loads.
- Never twist or bend the product, or mount it when it is under tension.
- Do not use the product as a handle or step.
- Do not position any objects on the product.
Damage due to excessively high temperature
Excessive temperature reduces the product service life.
- Only use cables that are designed for temperatures of –20 °C to +90 °C, in accordance with EN 60079-14 (material protection).
Damage due to electromagnetic effect
- Do not use cathodic corrosion protection, as this may result in stray currents that will impair the function (material protection).
Scope of delivery
- 1x Solenoid coil with electrical connector
- 1x Operating instructions
Transport and storage
Transporting the product
Hazards during transportation
To eliminate risks during transport, observe the following instructions:
- Proceed with caution and observe the information on the packaging when unloading and transporting the packaged product to the destination
- Ensure that the product cannot fall down before the product is released from the mountings (accident prevention, material protection).
- Do not stand under suspended loads (accident prevention).
- Take steps to avoid damage when lifting the product (accident prevention, material protection).
- Heavy products and components must be carried by two people or by one person with lifting aids (accident prevention, material protection).
- Wear appropriate protective clothing (e.g. sturdy footwear).
Storing the product
Damage due to incorrect storage
Unfavorable storage conditions can result in corrosion and material deterioration.
- Comply with the limits: see section g 13. Technical data.
- Only store the product in locations that are dry, cool, and prevent corrosion.
- Avoid direct sunlight.
- Keep the product in the original or delivery packaging until the time of installation.
- Also, observe any additional storage information on the product packaging.
Elastomer parts
Pneumatic components typically have elastomer seals that are subject to a constant process of aging.
- Products that have been stored for longer than two years have a shorter service life.
- The aging process can be accelerated by heat and light (UV rays).
- If you are unsure about the status of the elastomer seals, contact AVENTICS GmbH, see back cover for address.
Returning the product
Proceed as follows to return the product:
- If the product has already been mounted: Dismount the product (see section g 10. Dismounting).
- Package the product in its original packaging. If the original packaging is no longer available: Select suitable replacement packaging in consultation with EMERSON (contact details: see back cover).
- If the product cannot be returned immediately: Observe the storage conditions (see section g 4. Transport and storage).
- Return the product.
Product Description
Brief description
The solenoid coil with an electrical connector is electrical equipment designed for use in explosive areas.
Identification
Nameplate

| 1 Logo 3 Technical data of the product 5 Country of manufacture 7 CE mark 9 Internal factory designation | 2 Manufacturer’s address 4 ATEX identification 6 IP protection class 8 Series |
Product identification
The ordered product is clearly identified by the material number.
Check the material number (MNR) on the nameplate to determine whether the delivered product matches the number on your order confirmation or delivery note.
Use in explosive areas
Identification of the mechanical explosion protection
The solenoid coil with an electrical connector meets the requirements in the ATEX directive 2014/34/EU of the European Union.
| Identification | Explanation |
II 3D Ex tc IIIC T125 °C Dc X -10 °C ≤ Ta ≤ 50 °C IP65 | ATEX identification for a solenoid coil an with electrical connector without additional electrical devices |
Characteristics and applications that are derived from the ATEX identification are explained in the following table:
Table 1: ATEX identification legend
| Marking | Features and applications |
| Ex | According to the ATEX directive |
| 3D or Dc | Dust explosion protection, category 3D: use in zone 22 |
| 3G or Gc | Gas explosion protection, category 3G: use in zone 2 |
| nA | Ignition protection type: non-sparking devices |
| tc | Ignition protection type: Protection via housing, equipment protection level tc (according to EN 60079-31) |
| IIC | Gas explosion protection, suitable for explosion group IIC Typical gas: Hydrogen Ignition energy: <60 DJ |
| IIIC | Dust explosion protection, suitable for explosion group IIIC: Equipment group for conductive dust |
| 1125 °C | Dust explosion protection, max. permissible surface temperature: 125 °C |
| T135 °C | Dust explosion protection, max. permissible surface temperature: 5 135 °C |
| T4 | Temperature class 4 Ignition temperature of flammable material: > 135 °C Permissible surface temperature: s 135 °C |
| IP65 | Degree of protection against dust (6) and water penetration (5) |
| X | Special features – see application areas in the operating instructions |
Special features
ATEX identification contains the feature “X” Products that have an “X” in the ATEX identification are designed for protection class IP65. The following safety measures must be observed in adverse ambient conditions for this product:
- Without additional mechanical protection, installation is only permitted in areas with a low risk of mechanical danger (according to EN 60079-0, 26.4).
- Installation of the plug connector is only permitted in light protected installation location.
- Protection class IP65 can only be attained if the end device (base device, coil, and electrical connector) is fitted properly. Only use the provided seal. Observe the specified torque when tightening the mounting screw.
- Isolation of the plug connector from the end device is only permitted when not under voltage.
Product Overview

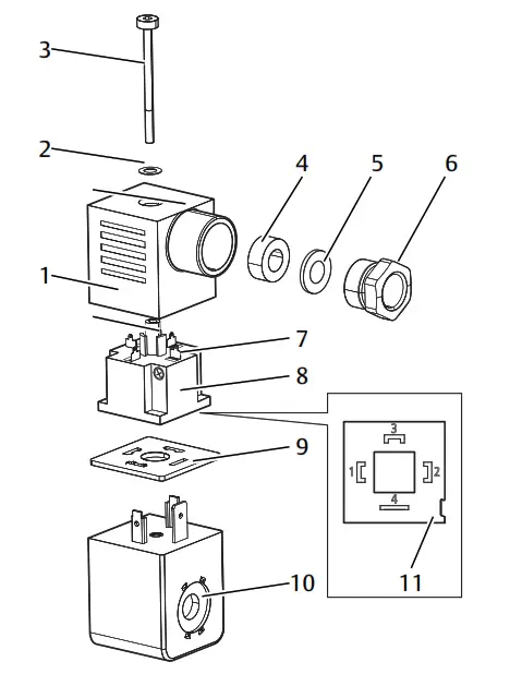
Fig. 1: Device Overview
| 1 Electrical connector 3 Center screw M3x33.5 5 Thrust ring 7 Connection terminal 9 Seal 11 Recess (on bottom) | 2 Seal 4 Cable sealing ring 6 Cable guide screw M16x1.5 8 Electrical connector insert 10 Solenoid coil |

Fig. 2: Circuit diagram
Assembly and installation
Before you start with the installation: Familiarize yourself with the basic specifications for assembly as early as possible in advance: see sections g 6.1. Planning and g 6.2. Preparation.
Planning
In the following, you will read which basic requirements must be met so that you can successfully and safely assemble the product. Do not carry out the preparation and installation steps until you have successfully completed the planning.
Basic requirements
The following specifications apply to the assembly of all products. Installation conditions
- Observe the installation conditions: see section
→6.1.3. Installation conditions.
Ambient conditions
- Only use the product in non-aggressive industrial atmospheres (explosion protection). Only then can explosion protection be guaranteed.
- If the ambient air contains aggressive substances: Get in touch with our contact address to determine whether use of the product is still possible (contact data: see back cover).
- Let the product acclimatize for a few hours before installation. Otherwise, water may condense in the housing.
Limits: Comply with the limits (explosion protection, material protection). Limits: see section g 13. Technical data.
Accessibility
Install the product in the system part so that the following connections and operating parts are always accessible or have enough room:
- Electrical connections
- Pneumatic connections
- Cable and tubing
CAUTION! The permissible bending radii must not be exceeded.
Personnel qualifications
Assembly only by qualified personnel (see section g 2.5. Personnel qualifications.
Tool: When assembling in explosive atmospheres: Use low-spark tools (explosion protection).
Set up regulations in the country of use
- Observe the set-up regulations in the country of use.
Notes on safety
To eliminate risks during assembly, observe the notes on safety: see section g 2.6.1. Notes on safety.
Installation conditions
The installation conditions include the specifications that apply specifically to the product family that your product belongs to.
General requirements
- Make sure that the product is installed in a manner that protects it from all types of mechanical loads.
- Install the product in an area protected from UV radiation.
Specifications for explosion protection zones (explosion protection)
- Generate and prepare compressed air outside the explosive area.
- If you install additional equipment:
– Ensure that no new ignition hazards result from the installation of additional equipment.
– Take all additional equipment in the system into account when equalizing potentials. - Make sure that the electrical plug connector is installed in a manner that protects it from all types of mechanical loads. Any other manner of installation does not conform to ATEX Directive 2014/34/EU.
Specifications for dust explosion areas (explosion protection)
- Compressed air and exhaust are evacuated from the dust explosion protection area through tubing lines. This is the only way to ensure that no dust accumulates in the system’s atmosphere. An increased dust concentration can cause explosions.
- Ensure that the minimum ignition energy of the dust in the system atmosphere is under the following value: 1 mJ
- Recommendation: Protect the product from dust deposits through a protected installation. The protected installation is essential if there are large amounts of dust in your system’s atmosphere.
Product-specific requirements
Mounting orientation
- Mounting orientation: see section g 13. Technical data.
- Ensure that there is enough air circulation around the product: Provide enough distance to adjacent parts (explosion protection).
- If the product is installed near heat sources: shield the product (explosion protection).
Required accessories, materials, and tools Mounting material
- Wire end ferrules
If you use AVENTICS mounting material, see the online catalog for the relevant data. Important information for assembly:
- Dimensions
- Tightening torques: Observe the values in the online catalog.
If no information is given on tightening torques or you use your own mounting material, the generally recognized rules of technology apply to assembly. Tool
- Screwdriver
- A hex key (SW2)
Accessory parts
Depending on the chosen configuration and the application, additional components are required to integrate the product into the system and the system’s control.
- Accessory parts for use in explosive areas must comply with the applicable requirements stipulated in the European directives and national laws (explosion protection).
Preparation
Notes
- Do not carry out any work on the system during preparation (accident prevention).
- Make sure that the seals are integrated in the plug and not damaged (explosion protection).
- Make sure that all plugs are mounted (explosion protection).
Unpacking and checking the product
- Unpacking the product.
- Check the material number to see if the product matches your order. The material number can be found on the housing of the product.
- Check the product for transport and storage damage. Do not install a damaged product. Return damaged products together with the delivery documents (address: see back cover).
- Prepare required accessories, materials and tools.
Implementing safety measures Procedure
All work has to be prepared as follows:
- Close off dangerous areas (accident prevention).
- Make sure the system or system part is not under pressure or voltage (accident prevention).
- Protect the system against being restarted (accident prevention).
- Allow the product and adjacent system parts to cool down (accident prevention).
- Wear protective clothing (accident prevention).
DANGER
The danger of explosion due to overcurrent! Overcurrent, e.g. resulting from a short circuit, can cause an explosion in explosive areas.
- Provide for overcurrent protection as per EN 60204-1 if the current in any circuit can exceed either the rated value for a component or the current carrying capacity of the conductor. The lower value is decisive.
Installation
Work steps at a glance
The installation consists of the following work steps:
- Step 1: Mount the solenoid coil on the basic valve See section g 6.3.1. Mount the solenoid coil on the basic valve.
- Step 2: Connect the solenoid coil See section g 6.3.2. Connect the solenoid coil.
Mount the solenoid coil on the basic valve
- Remove the mounting nut from the armature system of the base table.
- Slide the solenoid coil onto the armature guide tube of the base valve. The coil can be adjusted in 45° staggered increments and must be completely engaged.
- Tighten the solenoid coil back onto the armature guide tube of the base valve.
Tightening torques:
– Metal nut: 0.8 ± 0.12 Nm
– Plastic nut (open): 0.5 ± 0.075 Nm
– Plastic nut (closed with sealing edge): 1.3 ± 0.1 Nm
Connect the solenoid coil
Remove electrical connector
- Loosen the center screw (see g Fig. 1: 3) on the electrical connector (1) and remove the electrical connector from the solenoid coil (10).
- Carefully remove the center screw (3) and seal (2) without damaging the seal (9).
CAUTION! The cable sealing ring and seal must not be damaged. Liquids and foreign objects could penetrate and destroy the device when incorrectly disassembled. - Raise the electrical connector insert (8) out of the electrical connector (1) by inserting a screwdriver into the recess (11).
- Loosen the cable guide screw (6) and remove the thrust ring (5) and cable sealing ring (4) without damaging it.
Connect the cable
- Assemble the cable guide in the order to be followed: Push the cable guide screw (6), the thrust ring (5), the cable sealing ring (4) and the electrical connector (1) onto the cable. In particular, take the orientation of the thrust ring (5) into account.
- The connection terminals (7) are designed with a sleeve terminal design. Connect the individual wires to the connection terminal as shown in the wiring diagram. Use wire end ferrules. Tightening torque: 0.2 ± 0.1 Nm
Assemble electrical connector
- The electrical connector insert (8) can be mounted in 90° increments depending on its application. Reinsert the electrical connector insert into the electrical connector (1) until it engages.
- Screw the cable guide screw (6) back onto the electrical connector without damaging the cable sealing ring (4). Tightening torque: 1.8 ± 0.2 Nm 3. Place the center screw (3) and seal (2) carefully into the electrical connector.
Install the electrical connector
- Place the assembled electrical connector onto the three contacts of the solenoid coil (10).
- Make sure that the seal (9) is lying smoothly between the solenoid coil and the electrical connector.
- Tighten the center screw (3) with a hex key (SW2) in the electrical connector. Tightening torque: 0.4 ± 0.1 Nm
Preparation
General requirements
- Make sure that no dirt or other foreign particles come into contact with the electrical connector components or the seal of the device (material protection). Specifications for use in explosive areas
- Make sure that the seals are integrated in the plug and not damaged (explosion protection).
- Make sure that all plugs are mounted (explosion protection).
Step-by-step commissioning
If you have carried out and completed all preparation work, you can commission the system.
Operation
Basic requirements
The following points must be observed during operation. General requirements
- Do not touch the product or any connected parts during operation (accident prevention).
- Never switch off, modify or bypass safety devices.
Limits
- Comply with the limits (explosion protection, material protection). Limits: see section g 13. Technical data.
- Make sure that the product is only used in normal industrial settings (explosion protection).
- Make sure that there are no ferromagnetic sources near the product (material protection).
Service
- Carry out service work in the designated time intervals: see section g 9. Service. In case of malfunctions during operation
- In case of a malfunction that presents an immediate danger for employees or systems: Switch off product.
- Carry out analysis and troubleshooting of malfunctions according to the following specifications: see section g 12. Troubleshooting.
- If a malfunction cannot be remedied: Inform customer service. Contact data: see back cover.
Service
The following operation-related activities are necessary to ensure safe use of the product with minimal wear and tear:
- Inspection, see section g 9.2. Inspection
- Cleaning, see section g 9.3. Cleaning
- Maintenance, see section g 9.4. Maintenance
Notes on safety
To eliminate risks during service, observe the notes on safety: see section 2.6.1. Notes on safety.
Inspection
During the inspection, check the product for damage and contamination at regular intervals.
General requirements
Use in normal ambient conditions
- Inspection interval: The product must be checked monthly.
- The operator is responsible for the inspection of the product and the overall system.
Use in aggressive ambient conditions
include, for example:
- High temperatures
- Heavy accumulation of dirt
- Proximity to grease-dissolving liquids or vapors Aggressive ambient conditions lead to further requirements for inspection:
- Adapt the inspection interval for seals to the ambient conditions.
NOTICE! Seals age faster under aggressive ambient conditions. Defective seals will lead to pneumatic leaks and non-compliance with the degree of protection. Inspect seals more frequently. - Enter the adapted inspection intervals in the system-specific maintenance plan (accident prevention, material protection).]
Procedure
Preparation All work has to be prepared as follows:
- Close off dangerous areas (accident prevention).
- Make sure the system or system part is not under pressure or voltage (accident prevention)
- Protect the system against being restarted (accident prevention).
- Allow the product and adjacent system parts to cool down (accident prevention).
- Wear protective clothing (accident prevention).
Visual inspection
Visually inspect for integrity.
Detailed inspection
- Check identifications and warnings on the product: Labels and identifications must be legible (accident prevention, material protection). Replace hard-to-read labels or identification immediately.
- Check the seals.
- Check to make sure that all fittings are properly connected.
- Check the safety devices on the system.
- Check the product functions.
Cleaning
General requirements Cleaning intervals
- The system owner specifies the cleaning intervals in line with the ambient conditions at the operating site.
- Observe the information in the system documentation.
- In explosive areas: Always comply with the mandatory cleaning intervals (dust deposits and other contamination) (explosion protection).
Aids
- Only clean the product with damp cloths. This avoids the formation of sparks due to electrostatic charging (explosion protection).
- Only use water for cleaning and a mild detergent, if necessary (material protection).
Notes Penetrating fluids destroy seals and cause damage to the product.
Procedure
Preparation All work has to be prepared as follows:
- Close off dangerous areas (accident prevention).
- Make sure the system or system part is not under pressure or voltage (accident prevention)
- Protect the system against being restarted (accident prevention).
- Allow the product and adjacent system parts to cool down (accident prevention).
- Wear protective clothing (accident prevention).
- Close all openings with suitable safety devices so that no cleaning agent can enter into the system.
Cleaning
- Remove all dust deposits from the product and the adjacent system parts.
- If necessary, remove other production-related deposits from the product and the adjacent system parts.
Maintenance
In normal ambient conditions, the product is maintenance-free.
Notes
- Observe the maintenance plan for the overall system: Further maintenance tasks may result from the maintenance plan for the overall system and the maintenance intervals specified therein.
- In aggressive ambient conditions, seals may have to be replaced.
After service
After completion of the service work, carry out the following steps:
- Remove all tools and devices from the work area.
- Remove all installed barriers and notices.
- Clean the work area, mop up any liquids and remove work materials.
- Log any service work in the respective plan. If no damage has been detected and the operator has not reported any malfunctions, the product can be reconnected to the power supply and put back into operation.
Dismounting
Disassembly is only required if the product has to be exchanged, installed in a different location or disposed off.
INFO: If, by loosening the center screw, the electrical connector has been separated from the solenoid coil several times, the electrical connector and the seal must be exchanged for original spare parts.
Basic requirements
- Make sure that there is sufficient space
- Secure larger product or system parts so that they cannot fall down or topple (accident prevention).
Handling suspended loads - Do not stand under suspended loads (accident prevention).
Avoid contamination - Make sure that the environment is not contaminated with grease or lubricants during disassembly (material protection).
Avoid penetration of liquids - Ensure that the cable sealing ring and seal remain undamaged during disassembly (material protection).
Notes on safety
To eliminate risks during disassembly, observe the notes on safety: see section g 2.6.1. Notes on safety.
Preparation
- Protect the system against being restarted (accident prevention).
- Allow the product and adjacent system parts to cool down (accident prevention). |
CAUTION! Touching the product or its components during operation can cause burns. Do not touch the product during operation.
Disposal
Improper disposal of the product and packaging will lead to pollution of the environment. Furthermore, the materials can no longer be recycled. Dispose of the product and the packaging in accordance with the applicable national regulations.
Troubleshooting
If you cannot remedy a malfunction, get in touch with our contact address (contact data: see back cover).
Basic requirements
General requirements for repair
- Never dismantle or convert the product (accident prevention, material protection).
- Do not carry out any unauthorized repair attempts (accident prevention, material protection).
Permissible spare parts and reconditioning kits - Only use spare parts and reconditioning kits from the online catalog (accident prevention, material protection).
Notes on safety
To eliminate risks during troubleshooting, observe the notes on safety: see section g 2.6.1. Notes on safety.
Procedure
Step 1: Check the system u In case of malfunctions, first check the system or the system part where the product is installed. Check the following items:
- Are all connections connected to the product?
- Does the operating voltage comply with the requirements? See section g 13. Technical data.
- Does the operating pressure comply with the requirements? See section g 13. Technical data.
Step 2: Check the product
Technical data
This section contains an excerpt of the most important technical data. Further technical data can be found in the online catalog.
General
| Specifications | |
| Ambient temperature | -10 °C to +50 °C |
| ATEX identification | See section g 5. Product Description |
| Duty cycle | ED 100 % |
Assembly
| Specifications | |
| Mounting orientation | Any |
| Assignment | Can be assembled into blocks |
Electrics
Cross-version data
| Specifications | |
| Protection class according to EN 60529/IEC529 | IP 65 |
| Cable diameter | 6 to 8 mm |
| Cable cross-section | 0.5 to 1.5 mm |
| Voltage tolerance | At 50 Hz: -20 % / +10 % At 60 Hz: -10 % / +20 % |
Version specific data
| R412000144 | R412000145 | R412000146 | R412000147 | |
| Voltage | 24 V DC ±10 % | 24 V AC | 110/115 V AC | 230 V AC |
| Current consume | 87 mA | – | – | – |
EU Declaration of Conformity
Declaration of Conformity
In accordance with ATEX Directive 2014/34/EU and with the UK Statutory Instrument “Equipment and Protective Systems Intended for use in Potentially Explosive Atmospheres Regulation 2016
- Apparatus model/Product: Solenoid coil with electrical connector, Series C
- Name and address of the manufacturer.
AVENTICS GmbH Ulmer Str. 4 30880 Laatzen, GERMANY - This declaration is issued under the sole reason the manufacturer.
- The object of the declaration Coil, material numbers: R412000144, R412000146, R412000145, R412000147
- The object of the declaration described above h conformity with the relevant Union harmonization legislation and with the relevant statutory requirements: as referred to in the headlines of this document
- References to the relevant harmonized standard References to the relevant designated standard
EN IEC 60079-0:2018 + BS EN IEC 60079-0:2018
Explosive atmospheres — Part 0: Equipment – General requirements
EN 60079-15:2010 + EN 60079-15:2010
Explosive atmospheres — Part 15: Equipment protection by type of protection “n*
EN 60079-31:2014 + BS EN 60079-31:2014
Explosive atmospheres — Part 31: Equipment dust ignition protection by enclosure ‘V - A notified body was not involved.
- Additional information: The instructions in the Operation Instructions ar strictly to be kept.
Signed for and on behalf of AVENTICS GmbH
We reserve the right to make changes in the declaration. The presently applicable edition can be obtained upon request.
The data specified above only serve to describe the product. No statements concerning a certain condition or suitability for a certain application can be derived from our information. The given information does not release the user from the obligation of own judgment and verification. It must be remembered that our products are subject to a natural process of wear and aging. An example configuration is depicted on the title page. The delivered product may thus vary from that in the illustration. Translation of the original operating instructions. The original operating instructions were created in the German language. Subject to modifications. © All rights reserved by AVENTICS GmbH, even and especially in cases of proprietary rights applications. This document may not be reproduced or given to third parties without our consent. The Emerson logo is a trademark and service mark of Emerson Electric Co. AVENTICS is a mark of one of the Emerson Automation Solutions family of business units. All other marks are property of their respective owners.
Import into the United Kingdom is done by:
Emerson Automation
Fluid Control & Pneumatics UK Ltd
2 Pit Hey Place, West Pimbo
Skelmersdale WN8 9PG
United Kingdom
Emerson Automation Solutions
AVENTICS GmbH
Ulmer Straße 4
30880 Laatzen, GERMANY
phone +49 511 2136-0
fax +49 511 2136-269
www.emerson.com/aventics
[email protected]
Further addresses:
www.emerson.com/contactus


















