
Item #1006 022 993
Model #76278
INSTALLATION AND OPERATION
SMART WI-FI REMOTE CONTROL

Questions, problems, missing parts? Before returning to the store,
call Hub space Customer Service
8 a.m. – 7 p.m., EST, Monday – Friday, 9 a.m. – 6 p.m., EST, Saturday
1-877-592-5233
HOMEDEPOT.COM/HUBSPACE
We appreciate the trust and confidence you have placed in Hampton Bay through the purchase of this remote control. We strive to continually create quality
products designed to enhance your home. Visit us online to see our full line of
products available for your home improvement needs.
Thank you for choosing Hampton Bay!
Safety Information
Read and save these instructions
WARNING: To avoid possible electrical shock, turn the electricity off at the main fuse box before wiring. If you feel you do not have enough electrical wiring experience,
contact a licensed electrician.
CAUTION: Incorrect wire connections will damage this receiver.
CAUTION: To reduce the risk of fire or injury, do not use this product in conjunction with any variable (rheostat) wall control.
NOTE: The battery will weaken with age and should be replaced before leaking takes place as this will damage the hand unit. Dispose of the used battery properly, eep
the battery out of the reach of children.
- The power supply to the remote control receiver should be connected through a mains switch, i.e. existing wall switch.
- Disconnect from the power supply at the breaker box or wall switch before working on the remote control receiver or ceiling fan.
- Install the receiver into the mounting bracket/ canopy of the fan to ensure proper protection.
- This unit is to be used for the control of the ceiling fan and in an AC110/120V 60Hz power supply only.
- Do not install in damp locations or immerse in water. (For indoor use only.)
- Do not pull on or cut leads shorter.
- Do not drop or bump the unit.
- Do not mix old and new batteries.
- Do not mix alkaline, standard (carbon-zinc), or rechargeable (ni-cad, ni-me, etc.) batteries.
Warranty
The supplier warrants the remote control and receiver to be free from defects in workmanship and material present at the time of shipment from the factory for a period of one year after the date of purchase by the original purchaser. We agree to correct such defects without charge or at our option replace them with a comparable or superior model if the product is returned. To obtain warranty service, you must present a copy of the receipt as proof of purchase. All costs of removing and reinstalling the product are your
responsibility. Damage to any part such as by accident or misuse or improper installation or by affixing any accessories is not covered by this warranty. Servicing performed by
unauthorized persons shall render the warranty invalid. There is no other express warranty.
Home Depot hereby disclaims any and all warranties, including but not limited to those of merchantability and fitness for a particular purpose to the extent permitted by law. The duration of any implied warranty which cannot be disclaimed is limited to the time period as specified in the express warranty. Some states do not allow a limitation on how long an implied warranty lasts, so the above limitation may not apply to you. The retailer shall not be liable for incidental, consequential, or special damages arising out of or in connection with product use or performance except as may otherwise be accorded by law. Some states do not allow the exclusion of incidental or consequential damages, so the above exclusion or limitation may not apply to you. This warranty gives specific legal rights, and you may also have other rights which vary from state to state. This warranty supersedes all prior warranties. Shipping costs for any return of the product as part of a claim on the warranty must be paid by the customer.
Contact the Customer Service Team at 1-877-592-5233 or visit HomeDepot.com/hubspace.
Pre-Installation
TOOLS REQUIRED

PACKAGE CONTENTS
IMPORTANT: This product and/ or components are governed by one or more of the following U.S.
Patents: 5,947,436; 5,988,580; 6,010,110; 6,046,416, 6,210,117 and other patents pending.
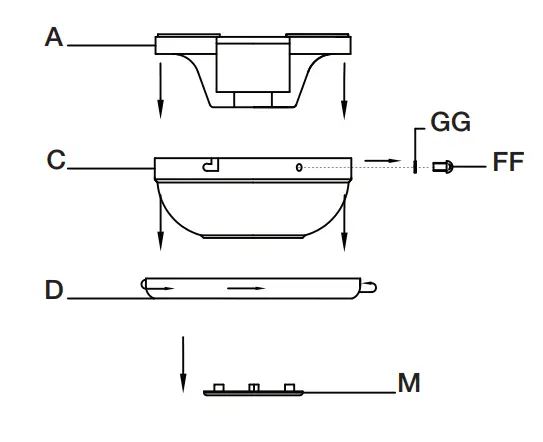
| Part | Description | Quantity |
| A | Receiver | 1 |
| B | Remote control | 1 |
| C | Wire connecting nut | 5 |
| D | AAA battery (1.5V) | 2 |
| E | Silicone rubber plug | 1 |
| F | Wall cradle | 1 |
| G | Wall cradle screw | 2 |
| H | Plastic anchor | 2 |
| I | Rubber isolated pad | 2 |
Installation
- Setting the code on the remote control
NOTE: The frequencies on your receiver and hand unit have been preset at the factory. Before installing the receiver, make sure the dip switches on the receiver and hand unit are set to the same frequency. The dip switches on the hand unit are located inside the battery compartment.
NOTE: The switch marked “O/D” controls the dimming function of the lights. If you are using non-dimmable bulbs, use a ballpoint pen or small screwdriver to set the switch to “O” to disable the dimming function.
If you are using dimmable bulbs, set the switch to “D” to enable the dimming function.
NOTE: The battery will weaken with age and should be replaced before leaking takes place, as battery leakage damages the hand unit. Dispose of the used battery properly and keep the battery out of the reach of children.
- Remove the remote control (B) battery cover by pressing firmly on the arrow and sliding the cover off.
- Slide the dip switches (ZZ) to your choice of either up or down. The factory setting is up.
- Slide the dip switches (ZZ) on the receiver (H) to the same position asset on the remote control (B).
- Install two 1.5V batteries (included).
- Replace the battery cover on the remote control (B).
- Insert the silicone rubber stopper (E) into the hole on the receiver (A) to cover the dip switches.

2 Installing the rubber isolated pads
- Loosen the two screws provided with the outlet box; insert two rubber isolated pads (I) between the mounting bracket and the outlet box; firmly tightened the two screws.

3 Installing the receiver
WARNING: To reduce the risk of fire or electric shock, remember to disconnect power. The electrical wiring must meet all local and national electrical code requirements. The electrical source and fan must be 110/120 volt, 60Hz. Do not use this product in conjunction with any variable wall control. An incorrect wire connection can damage this receiver.
CAUTION: If fan or house wires are a different color, have this unit installed by a licensed electrician.
CAUTION: Do not install in a damp location or immerse in water (for indoor use only). Do not pull on or cut leads shorter. Do not drop or bump the unit.
NOTE: You must set the ceiling fan to high speed and light kit (if any) to the on position using the pull chains (if applicable) before operating the remote control.
NOTE: For better performance with the WIFI system, the WIFI antenna must be mounted to the ceiling outside of the fan’s ceiling canopy.
- Position the house supply wires (AAA) to one side of the slide-on mounting bracket; position the fan wires (BBB) to the opposite side.
- Insert the narrow end of the receiver (as shown, flat side towards the ceiling) into the slide-on mounting bracket until it rests on top of the ball/ downrod assembly.

4 Wiring the receiver to the household wiring
WARNING: To avoid possible electrical shock, turn the electricity off at the main fuse box before wiring. If you feel you do not have enough electrical wiring knowledge or experience, contact a licensed electrician.
WARNING: Each wire nut supplied with this fan is designed to accept up to one 12-gauge house wire and two wires from the fan. If you have larger than 12-gauge house wiring or more than one house wire to connect to the fan wiring, consult an electrician for the proper size wire nuts to use.
- Spread the wires apart so that the green and white wires are on one side of the
the outlet box and the black wire is on the other side. - Connect the green fan wires to the household ground wire (this may be a green
or bare wire) using a wire connecting nut (C) supplied by your fan. - Connect the receiver black (or red) wire to the household black (hot) wire using
a wire connecting nut (C). - Connect the receiver white wire to the household white wire (neutral) wire
using a wire connecting nut (C). - Secure each wire connecting the nut using electrical tape.
IMPORTANT: Use the wire connecting nuts (C) supplied with your remote.
The wire connecting nut (C) for the ground/green wire is supplied with the fan. Secure the connectors with electrical tape and ensure there are no loose strands or connections.

5. Wiring the fan to the receiver
IMPORTANT: Use the wire connecting nuts (C) supplied with your remote.
The wire connecting nut (C) for the ground/green wire is supplied with the fan. Secure the connectors with electrical tape and ensure there are no loose strands or connections.
- Connect the fan motor white wire to the receiver white wire using a wire connecting nut (C).
- Connect the fan motor black wire to the receiver black wire using a wire connecting nut (C).
- Connect the fan motor blue wire to the receiver blue wire using a wire connecting nut (C).
- Secure each wire connecting the nut using electrical tape.
- Turn the wire connecting nut (C) upward and push the wiring into the outlet box (MM).

1 Mounting the transmitter to the wall
- Slide the screw cover plate up to remove it from the wall cradle (F).
- Position the wall cradle (F) in the desired position and attach it to the wall using the included wall cradle screws (G).
- Slide the screw cover plate back onto the wall cradle to conceal the screws.
NOTE: Plastic anchors (H) are included for extra support. The included screws (G) are designed to screw easily into the wall. If you would like a more permanent or secure hold, install the wall anchors (H) prior to attaching the wall cradle to the wall.

1 Operating the remote control

Power ON/OFF: Press and release the power
button to turn the fan and light on or off.
Fan speed: LEDs on the fan speed button will illuminate to the corresponding speed.
Press and release 1 time: turns the fan speed to 4.
Press and release 2 times: turns the fan speed to 3.
Press and release 3 times: turns the fan speed to 2.
Press and release 4 times: turns the fan speed to 1.
Press and release 5 times: turns the fan off.
Light ON/OFF:
Press and release the button to turn the light on or off.
Press and hold the button to activate the dimmer function.
Comfort Breeze: Press the button to enable Comfort Breeze; this will change your fan randomly, simulating a relaxing breeze. To cancel these features press the fan speed button or power button.
Timer:
While the fan is on press 1 time-turns on a 2-hour run timer.
While the fan is on press 2 times-turns on a 4-hour run timer.
While the fan is on press 3 times-turns on an 8-hour run timer.
Application Set-Up

1. Getting started
- Download the Hubspace™ app from the App Store or the Google Play Store to your mobile device.
- Launch the app.
- To register, enter your email address and a password. Or, log in if you already have an account.
- Bluetooth access is required for device setup.
2 Verify your network
- Hub space only shows WiFi networks that your device can use. Check your network only if an option does not appear during setup.
- This Hub space device requires a 2.4GHz Wi-Fi channel.
- Most routers provide a 2.4 GHz WiFi channel.
- If you do not see your Wi-Fi network name when you attempt to connect your device, please check your router settings.
3 Add a device
- In the Hub space app, tap the plus sign in the upper right corner.
- Scan your product’s QR code. You can find a copy of the QR code on the device itself and in the Quick Start Guide.
Scan problem?
If the QR code cannot be scanned for some reason, you can enter the code manually.
Tap Enter Code and follow the instructions. - Connect your device to power and follow the instructions on the screen.
(For lighting and fan products only)
If you are unable to access the QR code for your light, you can put it into discovery mode with the following sequence: - Switch the device off and on 5 times. The light will pulse to show that it can now be discovered.
- In the Hub space app, tap the plus sign in the upper right corner and follow the instructions to discover devices. More than one device can be added at a time using this method.
4 Set up your voice assistant
- In the Hub space app, tap the Hub space button.
- Select the Integrations tab, choose your voice assistant and follow the instructions.
NOTE: For more information on smart remote setup, please refer to the quick start guide located in the remote pack.
Voice Commands
The Smart Wi-Fi Remote Control works with Alexa and Google Assistant.
This section lists some of the voice commands you can use. To view these and other commands, go to http://hubspaceconnect.com/.
Alexa
| When you want to… | Ask Alexa to… | Ask Google to… |
| Turn on the fan only. | … turn on <device name> fan power. | … turn on <device name> fan power. |
| Turn off the fan only. | … turn off <device name> fan power. | … turn off <device name> fan power. |
| Turn on the light only. | … turn on <device name> light power. | … turn on <device name> light power. |
| Turn off the light only. | … turn off <device name> light power. | … turn off <device name> light power |
| Change the brightness. | … Set <device name> brightness to 75%. … Set <device name> light to 25%. … Make <device name> dimmer. … Make <device name> brighter … Dim <device name>. … Brighten <device name>. … Dim <group name>. … Brighten <group name>. | … Set <device name> brightness to 75%. … Set <device name> light to 25%. … Brighten <device name>. Dim <device name>. … Brighten <room name>. … Dim <room name>. |
| Change the White Temperature. | … Change <device name> to Cool White. … Change <device name> to Warm White. … Change <device name> to Daylight White. … Change <device name> to White. | … Change <device name> to Ivory. … Change <device name> to Daylight. … Change <device name> to Cool White. … Change <device name> to Warm White. … Change <device name> to Incandescent |
| Change the fan speed. | … Set <device name> speed to fastest … Set <device name> speed to fast … Set <device name> speed to medium. … Set <device name> speed to slow. … Increase <device name> speed. … Decrease <device name> speed. | … Set <device name> speed to fastest. · .. Set <device name> speed to fast. ••. Set <device name> speed to medium. … Set <device name> speed to slow. · •• Increase <device name> speed. … Decrease <device name> speed. |
| Turn on Comfort Breeze. | … Turn on Comfort Breeze on <device name> | … Turn on Comfort Breeze on <device name> |
Troubleshooting
| Problem | Solution |
| My hubspace device is not connecting to Wi-Fi. | Make sure your device is connected to a power source. Your Internet connection or Wi-A network may be down. |
| My device cannot find any Wi-Fi networks. | Make sure you have a 2.4GHz capable Wi-Fi network within range of the device you are trying to add. |
| My device is in a location that does not have Wi-Fi. Can I still use it with the Hub space app? | Yes: Use the app on a phone with an Internet connection like LTE. The phone must be within the Bluetooth range of your Hub space device. |
| I cannot find the OR code. | Look for it where other stickers are on the product. A copy of the OR code is also included in your device’s documentation. |
| The OR code has become damaged. How do I add the device? | Under the OR code are numbers. You can enter those in manually instead of scanning the code. |
| How do I reset the device? | Remove the device from your account, then add it back. Devices also reset when they transfer to a new account. |
| A device is on another account. How do I transfer it? | Scan the OR code and it will transfer to your account. |
| My device is offline for long periods of time. | Make sure your Wi-Fi signal strength is sufficient. You may need to move your router, use mesh Wi-Fi, or Wi-A extenders. |
| The device is on and I scanned the OR code, but the app cannot connect to it. | Turn off Bluetooth on your phone and turn it back on. Then, scan the OR code. |
| Can I scan the same OR code to add multiple products? | No. Each product has a unique OR code. |
This equipment has been tested and found to comply with the limits for a Class B digital device, pursuant to Part 15 of the FCC Rules. These limits are designed to provide reasonable protection against harmful interference in a residential installation. This equipment generates, uses, and can radiate radio frequency energy and, if not installed and used in accordance with the instructions, may cause harmful interference to radio communications. However, there is no guarantee that interference will not occur in a particular installation. If this equipment does cause harmful interference to radio or television reception, which can be determined by turning the equipment off and on, the user is encouraged to try to correct the interference by one or more of the following measures:
–Reorient or relocate the receiving antenna
–Increase the separation between the equipment and receiver
–Connect the equipment into an outlet on a circuit different from that to which the receiver is connected.
–Consult the dealer or an experienced radio/TV technician for help.
CAUTION:
Any changes or modifications not expressly approved by the grantee of this device could void the user’s authority to operate the equipment
FCC ID: 2AOZU-18016
This device complies with Part 15 of the FCC Rules. Operation is subject to the following two conditions: (1) This device may not cause harmful interference, and (2) this device must accept any interference received, including interference that may cause undesired operation.
Responsible Party – U.S. Contact Information: King of Fans, Inc 1951 NW 22nd Street, Fort Lauderdale, FL 33311, (954) 484-7500
Item #1003 202 271
Model #68142
UL Model #EF200(D)-44

USE AND CARE GUIDE
VARGAS 44-INCH CEILING FAN

Questions, problems, missing parts? Before returning to the store, call Hampton Bay Customer Service
8 a.m. – 7 p.m., EST, Monday-Friday, 9 a.m. – 6 p.m., EST, Saturday.
1-855-HD-HAMPTON
![]() | To view an instructional video on how to install this product:
|
THANK YOU
We appreciate the trust and confidence you have placed in Hampton Bay through the purchase of this ceiling fan. We strive to continually create quality products designed to enhance your home. Visit us online to see our full line of products available for your home improvement needs.
Thank you for choosing Hampton Bay!
Safety Information
- All wiring must be in accordance with the National Electrical Code ANSI/NFPA 70 and local electrical codes. Electrical installation should be performed by a qualified licensed electrician.
- The outlet box and support structure must be securely mounted and capable of reliably supporting 35 lbs. (15.9 kg). Use only UL Listed outlet boxes marked “Acceptable for Fan Support of 35 lbs. (15.9 kg) or less.”
- The fan must be mounted with a minimum of 7 ft (2.1 m) clearance from the trailing edge of the blades to the floor.
- Do not operate the reversing switch while the fan blades are in motion. You must turn the fan off and stop the blades before you reverse the blade direction.
- Do not place objects in the path of the blades.
- Electrical diagrams are for reference only. Light kits that are not packed with the fan must be UL listed and marked suitable for use with the model fan you are installing. Switches must be UL General Use Switches. Refer to the instructions packaged with the light kits and switches for proper assembly. Use 9W LED bulbs max (included).
- After making electrical connections, spliced conductors should be turned upward and pushed carefully up into the outlet box. The wires should be spread apart with the grounded conductor and the equipment-grounding conductor on one side of the outlet box.
- All setscrews must be checked and retightened where necessary before installation.
- The fan is for indoor use only.
WARNING: To reduce the risk of personal injury, do not bend the blade brackets (also referred to as flanges) during assembly or after installation. Do not insert objects in the path of the blades.
WARNING: Remove the rubber motor stops on the bottom of the fan before installing the blades or testing the motor.
WARNING: To reduce the risk of fire or electric shock, do not use this fan with any solid-state speed control device.
WARNING: To reduce the risk of fire, electric shock, or personal injury, mount to outlet box marked “acceptable for fan support of 35 lbs. (15.9 kg) or less” and use screws provided with the outlet box.
WARNING: To avoid possible electrical shock, turn the electricity off at the main fuse box before wiring. If you feel you do not have enough electrical wiring knowledge or experience, contact a licensed electrician.
CAUTION: To reduce the risk of personal injury, use only the screws provided with the outlet box.
CAUTION: To avoid personal injury or damage to the fan and other items, use caution when working around or cleaning the fan.
Warranty
The supplier warrants the fan motor to be free from defects in workmanship and material present at the time of shipment from the factory for a lifetime after the date of purchase by the original purchaser. The supplier also warrants that all other fan parts, excluding any glass or acrylic blades, to be free from defects in workmanship and material at the time of shipment from the factory for a period of one year after the date of purchase by the original purchaser. We agree to correct such defects without charge or at our option replace them with a comparable or superior model if the product is returned. To obtain warranty service, you must present a copy of the receipt as proof of purchase. All costs of removing and reinstalling the product are your responsibility. Damage to any part such as by accident or misuse or improper installation or by affixing any accessories is not covered by this warranty. Because of varying climatic conditions, this warranty does not cover any changes in brass finish, including rusting, pitting, corroding, tarnishing, or peeling. Brass finishes of this type give their longest useful life when protected from varying weather conditions. A certain amount of “wobble” is normal and should not be considered a defect. Servicing performed by unauthorized persons shall render the warranty invalid. There is no other express warranty. Hampton Bay hereby disclaims any and all warranties, including but not limited to those of merchantability and fitness for a particular purpose to the extent permitted by law. The duration of any implied warranty which cannot be disclaimed is limited to the time period as specified in the express warranty. Some states do not allow a limitation on how long an implied warranty lasts, so the above limitation may not apply to you. The retailer shall not be liable for incidental, consequential, or special damages arising out of or in connection with product use or performance except as may otherwise be accorded by law. Some states do not allow the exclusion of incidental or consequential damages, so the above exclusion or limitation may not apply to you. This warranty gives specific legal rights, and you may also have other rights which vary from state to state. This warranty supersedes all prior warranties. Shipping costs for any return of the product as part of a claim on the warranty must be paid by the customer.
Contact the Customer Service Team at 1-855-HD-HAMPTON or visit www.HamptonBay.com.
Pre-Installation
SPECIFICATIONS
| Size | Speed | Volts | Amps | Watts | RPM | CFM | Net Weight | Gross Weight | Cube Feet |
| 44 in. | Low | 120 | 0.22 | 12 | 86 | 1444 | 16.32 lbs. 16. (7.4 kg) | 18.96 lbs 18 (8.6 kg) | 1.47 pies3 |
| Medium | 0.3 | 24 | 121 | 2205 | |||||
| High | 0.43 | 51 | 174 | 3194 |
NOTE: These are approximate measures. They do not include the Amps and Wattage used by the light kit.
TOOLS REQUIRED

HAMPTONBAY.COM
Please contact 1-855-HD-HAMPTON for further assistance.
HARDWARE INCLUDED
NOTE: Hardware not shown to actual size.

| Part | Description | Quantity |
| AA | Rubber Gasket | 1 |
| BB | Pull Chain | 2 |
| CC | Plastic Wire Connector | 3 |
| DD | Hanging Pin | 1 |
| EE | Locking Pin | 1 |
PACKAGE CONTENTS

| Part | Description | Quantity |
| A | Slide-on mounting bracket (inside canopy) | 1 |
| B | Ball/downrod assembly | 1 |
| C | Canopy | 1 |
| D | Canopy ring | 1 |
| E | Coupler cover | 1 |
| F | Fan-motor assembly | 1 |
| G | Light kit fitter assembly | 1 |
| H | Glass shade | 3 |
| I | Blade bracket | 5 |
| J | Blade | 5 |
| K | LED bulb, 9-watts maximum | 3 |
| L | Switch cup cover | 1 |
IMPORTANT: This product and/or components are governed by one or more of the following U.S. Patents:
5,947,436; 5,988,580; 6,010,110; 6,046,416, 6,210,117 and other patents pending.
Installation
MOUNTING OPTIONS
WARNING: To reduce the risk of fire, electric shock or personal injury, mount to outlet box marked “Acceptable for fan support of 35 lbs. (15.9 Kg) or less”, and use screws provided with the outlet box. An outlet box commonly used for the support of lighting fixtures may not be acceptable for fan support and may need to be replaced. If in doubt, consult a qualified electrician.
If your ceiling fan does not have an existing UL-listed mounting box, then install one using the following instructions:
- Disconnect the power by removing the fuses or turning off the circuit breakers.
- Secure the outlet box directly to the building structure. Use the appropriate fasteners and materials. The outlet box and its bracing must be able to fully support the weight of the moving fan (at least 35 lbs.). Do not use a plastic outlet box.
The illustrations below show three different ways to mount the outlet box.

NOTE: You may need a longer downrod to maintain proper blade clearance when installing on a steep, sloped ceiling. The maximum angle allowable is 30° away from horizontal.

If the canopy touches the downrod, then remove the canopy bottom cover, and turn the canopy 180° before attaching the canopy to the mounting plate.
To hang your fan where there is an existing fixture but no ceiling joist, you may need an installation hanger bar as shown above (available at any Home Depot store).
Assembly – Standard Ceiling Mount
Preparing for mounting
- Remove the canopy ring (D) from the canopy (C) by turning the ring counterclockwise until it unlocks.
- Remove the mounting bracket (A) from the canopy (C) by loosening the two canopy screws (FF) located in the “L-shaped” slots.
- Remove and save the two canopy screws (FF) and lock washers (GG) in the round holes. This will enable you to remove the mounting bracket (A).

Routing the wires
- Route the wires exiting the top of the fan motor (F) through the coupler cover (E), and canopy ring (D).
- Make sure the slot openings are on top and route the wires through the canopy (C) and then through the ball/downrod assembly (B).

Assembling the fan
WARNING: Failure to properly install the locking pin could result in the fan becoming loose and possibly falling.
- Loosen, but do not remove, the two setscrews (RR) on the collar (TT) on top of the motor housing.
- Align the holes at the bottom of the downrod (B) with the holes in the collar (TT) on top of the motor housing.
- Carefully insert the hanger pin (DD) through the holes in the collar (TT) and downrod (B). Be careful not to jam the hanger pin (DD) against the wiring inside the downrod (B).
- Insert the locking pin (EE) through the hole near the end of the hanger pin (DD) until it snaps into its locked position.
- Re-tighten the two setscrews (RR) on the collar (TT) on top of the motor housing.

Assembly – Close-To-Ceiling Mount
Close-to-Ceiling Mounting
- Remove the canopy ring (D) from the canopy (C) by turning the ring counterclockwise until it unlocks.
- Remove the mounting bracket (A) from the canopy (C) by loosening the two canopy screws (FF) located in the “L-shaped” slots.
- Remove and save the two canopy screws (FF) in the round holes. This will enable you to remove the mounting bracket (A).
- Remove the decorative canopy bottom cover (M) from the canopy (C) by pressing the three studs.

Routing the wires
- Remove three of the six screws (JJ) and lock washers (KK) (every other one) securing the motor collar to the top of the fan motor housing (F).
- Place the rubber gasket (AA) over the remaining three screws and route the wires exiting the top of the fan motor (F) through the canopy ring (D). Make sure the slot opening is on top, then proceed to place the ceiling canopy (C) over the collar at the top of the motor (F).
- Align the mounting holes with the holes in the motor (F) and fasten, using the three screws (JJ) and lock washers (KK) removed previously. Tighten the screws securely.

Assembly – Hanging the Fan
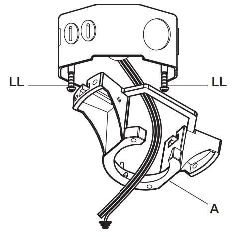
1 Attaching the fan to the electrical box
WARNING: To reduce the risk of fire, electric shock, or personal injury, mount to outlet box marked “Acceptable for fan support of 35 lbs. (15.9 Kg) or less”, and use screws provided with the outlet box.
- Pass the 120-Volt supply wires through the center hole in the mounting bracket (A).
- Install the ceiling mounting bracket on the outlet box by sliding the mounting bracket (A) over the two screws (LL) provided with the outlet box. If necessary, use leveling washers (not included) between the mounting bracket (A) and the outlet box. Note that the flat side of the mounting bracket (A) is toward the outlet box.
When using a close-to-ceiling mounting, it is important that the mounting bracket be level. - Securely tighten the two mounting screws (LL).

Hanging the fan
WARNING: The hook (OO) is only to balance the fan while making the electrical connections. Failure to hang as shown may result in the hook (OO) breaking, causing the fan to fall. The hook must pass from the inside to the outside of the canopy.
WARNING: When changing the fan on the hook (OO) it is critical that you use one of the non-slotted (round) holes in the canopy (C).
- Carefully lift the fan-motor assembly (F) up to the slide-on mounting bracket (A).
- Insert the ball portion of the ball/downrod assembly into the socket of the slide-on mounting bracket.
- Turn the ball/downrod assembly clockwise until it is seated with the tab of the slide-on mounting bracket aligned with the slot in the ball.
- If using a close-to-ceiling mounting, hang the fan on the hook provided by utilizing one of the round holes at the outer rim of the ceiling canopy (C).

Making the electrical connection
WARNING: Each wire not supplied with this fan is designed to accept up to one 12-gauge house wire and two wires from the fan. If you have larger than 12-gauge house wiring or more than one house wire to connect to the fan wiring, consult an electrician for the proper size wire nuts to use.
WARNING: Remove the rubber motor stops on the bottom of the fan before installing the blades or testing the motor.
IMPORTANT: Use the plastic wire connectors (CC) supplied with your fan. Secure the connectors with electrical tape and ensure there are no loose strands or connections.
NOTE: The fan comes with 30 in. lead wires for use with an extended ball/downrod assembly. If using the 4.5 in. ball/downrod assembly (B) provided, you can cut the lead wires to your desired length (no shorter than 12 in.).
- The fan comes with 30 in. lead wires for use with an extended ball/downrod assembly. If using the 4.5 in. ball/downrod assembly (B) provided, you can cut the lead wires to your desired length (no shorter than 12 in.) This will make extra room in the canopy (C), if you do not wish to cut the wires, you will need to neatly wrap them.
Please refer to the remote installation instructions at the beginning of this manual.
Wrapping the extra wire
NOTE: Follow this step ONLY if you did not cut the extra length off from the wires coming from the ceiling fan.
- Gently wrap the excess wire around the mounting bracket.
- Secure with electrical tape.

Mounting the fan-motor assembly (standard mount)
WARNING: When using the standard ball/downrod mounting, the tab in the ring at the bottom of the mounting bracket must rest in the groove of the hanger ball. Failure to properly seat the tab in the groove could cause damage to the wiring.
WARNING: The locking slots of the ceiling canopy are provided only as an aid to mounting. Do not leave the fan assembly unattended until all four canopy screws are engaged and firmly tightened.
- Align the locking slots of the ceiling canopy (C) with the two screws in the mounting bracket (A). Push up to engage the slots and turn clockwise to lock in place.
- Firmly tighten the two mounting screws.
- Install the two mounting screws (FF) and lock washers (GG) (saved from Assembly Step 1 “Preparing for mounting”) into the holes in the canopy (C) and tighten firmly.

Mounting the fan-motor assembly (close-to-ceiling mount)
WARNING: The locking slots of the ceiling canopy are provided only as an aid to mounting. Do not leave the fan assembly unattended until all four canopy screws are engaged and firmly tightened.
- Carefully unhook the fan from the mounting bracket (A) and align the locking slots of the ceiling canopy (C) with the two screws in the mounting bracket (A). Push up to engage the slots and turn clockwise to lock in place. Immediately tighten the two mounting screws firmly.
- Install the two mounting screws (FF) and lock washers (GG) (saved from Assembly Step 1 “Preparing for mounting” into the holes in the canopy (C) and tighten firmly.
- You may now proceed to attach the fan blades.

Assembly – Attaching the Fan Blades
Attaching the blade brackets
WARNING: Remove the rubber motor stops on the bottom of the fan before installing the blades or testing the motor.
NOTE: Your fan features revolutionary advancements for quick and easy blade installation, including an alignment post and captive blade bracket screws.
IMPORTANT: The switch cup has an access hole (ZZ) to allow the screwdriver to reach the screws in the blade bracket. Position the blade bracket on the motor and tighten by inserting the screwdriver through the access hole (ZZ).
- Fasten the blade brackets (I) to the fan-motor assembly (F) by inserting the alignment post into the slot on the bottom of the motor and tightening the pre-installed blade bracket screws by inserting a screwdriver through the access hole (ZZ).
- Repeat this step for the remaining blade assemblies by rotating the motor until the next blade bracket screw can be accessed through the access hole (ZZ) in the switch cup.

Attaching the fan blades
NOTE: Your fan features revolutionary advancements for quick and easy blade installation.
NOTE: Your fan blades are reversible. Select the blade side finish which best accentuates your decor.
- Mount the fan blades (J) to the blade bracket (I) by aligning the three key-slot holes in the blade (J) with the three posts on the top of the blade brackets (I).
- Hold the blade (J) close to the blade bracket (I) and press the blade (J) down firmly. Ensure the key-slot holes are properly seated on the blade arm posts.
- While still holding the blade (J) down, firmly slide the blade (J) away from the bracket (I) side until the blade (J) engages in the locking mechanism (SS).
- Make sure the locking mechanism (SS) at the rear of the blade bracket (I) springs upward and butts against the edge of the blade (J) indicating a secure connection.
- Visually inspect the top of the blade bracket (I) to ensure the locking mechanism (SS) is securely in place.
- Repeat for the remaining blades (J).

Attaching the light kit
WARNING: To reduce the risk of electric shock, disconnect the electrical supply circuit to the fan before installing the light kit.
- Remove the three screws (QQ) from the light kit fitter assembly (G).
- Connect the wires exiting the bottom of the motor assembly (F) by connecting the molded adaptor plugs together (blue to blue, and white to white).
- Slide the light kit (G) and secure it to the switch housing using the three screws (QQ) that were removed in the first step.

Attaching the glass shades and bulbs
CAUTION: Make sure the power is off before attaching or removing the glass shade.
WARNING: Allow the bulb to cool completely before removing.
- Remove the compressing ring (MM) from the threaded socket of the light kit (G) by turning the compressing ring (MM) counterclockwise until it unlocks.
- Insert the glass shade (H) into the light kit cowling and turn the compressing ring (MM) clockwise to tighten and secure the glass shade. Repeat for the remaining shades.
- With power off, screw the LED bulbs (K) into the sockets.
- Attach the pull chain extensions (BB) to the light pull chain and fan pull chain.

Assembly – Assembling the Fan without the Light Kit
Assembling the fan without a light kit
- Remove the three-light kit mounting screws (QQ) on the side of the switch cup cover (L).
- Position the switch cup cover (L) onto the switch cup. Make sure the notch in the switch cup cover (L) clears the reversing switch in the switch cup of the fan-motor assembly (F), and reinstall the light kit mounting screws (QQ).

Operation
Turn on the power and check the operation of the fan. The pull chain controls the fan speeds as follows:
1 pull – High, 2 pulls – Medium, 3 pulls – Low, 4 pulls – off The appropriate speed settings for warm or cool weather depend on factors such as the room size, ceiling height, and the number of fans.
The slide switch (XX) controls the direction of the blades: Forward (switch left) or Reverse (switch right).
NOTE: Wait for the fan to stop before reversing the direction of blade rotation.
A. Warm weather – (Forward) A downward airflow creates a cooling effect. This allows you to set your air conditioner in a warmer setting without affecting your comfort.
B. Cool weather – (Reverse) An upward airflow moves warm air off of the ceiling. This allows you to set your heating unit in a cooler setting without affecting your comfort.

Care and Cleaning
WARNING: Make sure the power is off before cleaning your fan.
- Because of the fan’s natural movement, some connections may become loose. Check the support connections, brackets, and blade attachments twice a year. Make sure they are secure. It is not necessary to remove the fan from the ceiling.
- Clean your fan periodically to help maintain its new appearance over the years. Do not use water when cleaning, as this could damage the motor, or the wood, or possibly cause an electrical shock. Use only a soft brush or lint-free cloth to avoid scratching the finish. The plating is sealed with a lacquer to minimize discoloration or tarnishing.
- You can apply a light coat of furniture polish to the wood for additional protection and enhanced beauty. Cover small scratches with a light application of shoe polish.
- You do not need to oil your fan. The motor has permanently-lubricated sealed ball bearings.
Troubleshooting
| Problem | Solution |
| The fan will not start. | □ Check the main and branch circuit fuses or breakers. □ Check the line wire connections to the fan and switch wire connections in the switch housing. |
| The fan is noisy. | □ Ensure all motor housing screws are snug. □ Ensure the screws that attach the fan blade bracket to the motor hub are tight. □ Ensure the wire nut connections are not rattling against each other or the interior wall of the switch housing. □ Allow a 24-hour “breaking in” period. Most noises associated with a new fan disappear during this time. □ If you are using the Ceiling Fan light kit, ensure the screws securing the glassware are tight. Check that the light bulbs are also secure. □ Ensure the canopy is a short distance from the ceiling. It should not touch the ceiling. □ Ensure your outlet box is secure and rubber isolator pads were used between the mounting plate and outlet box. |
| The fan wobbles. | □ Check that all blade and blade arm screws are secure. □ Most fan wobble problems are caused when blade levels are unequal. Check this level by selecting a point on the ceiling above the tip of one of the blades. Measure from a point on the center of each blade to the point on the ceiling. Measure this distance. Rotate the fan until the next blade is positioned for measurement. Repeat for each blade. Any measurement deviation should be within 1/8 in. Run the fan for ten minutes. If the fan continues to wobble please contact Customer Service and a balancing kit will be sent to you at no charge. |
NOTE: For the latest troubleshooting solutions, please download the Troubleshooting Guide from the Info & Guides section of the product page on HomeDepot.com. To find your specific product on HomeDepot.com, enter your model or SKU number in the search tool. Then, click on your product from the list of search results.

Questions, problems, missing parts? Before returning to the store, call Hampton Bay Customer Service
8 a.m. – 7 p.m., EST, Monday-Friday, 9 a.m. – 6 p.m., EST, Saturday.
1-855-HD-HAMPTON
HAMPTONBAY.COM
Retain this manual for future use.

















