Hampton Bay 52242 Universal Ceiling Fan Light Kit

Product Information
- Item #: 1007 443 529
- Model #: 52242
- UL Model #: LK-CHAM
- Product Name: Universal Ceiling Fan Light Kit
- Manufacturer: Chien Luen Industries (Zhongshan) LTD
Product Usage Instructions
Safety Information
- Before starting installation, disconnect the power by turning off the circuit breaker or removing the fuse at the fuse box.
- Allow the bulb and glass shade to cool completely before touching or replacing them.
- This product must be installed in accordance with the applicable installation code by a person familiar with the construction and operation of the product and the hazards involved.
- This light should be used only with the fan models listed below: Models: 1005 071 850; 1004 755 222; 1004 755 230;1001 673 208; 100 167 3215; 1001 673 210;1002 263777; 1002 263 786; 1003 202 212;1002 175 786
Installation
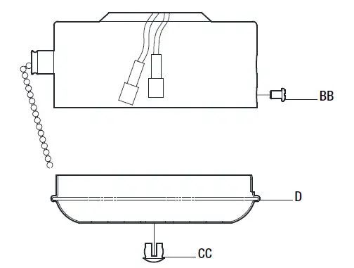
- Remove the ceiling fan switch cup cover (D) from the ceiling fan assembly by removing the three mounting screws (BB).
- Remove the center plug (CC) from the switch cup cover (D).
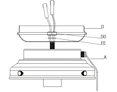
- Remove the lockwasher (EE) and hex nut (DD) from the threaded nipple of the light kit fitter assembly (A) and save them for later use.
- Insert the black wire and white wire from the light kit through the center hole of the ceiling fan switch cup cover (D).
- Secure the light kit fitter assembly (A) to the threaded nipple the ceiling fan assembly with the hex nut (DD) and lockwasher (EE) that were saved earlier.
- Attach the glass shade to the light kit fitter assembly (A).
- Insert the LED bulb (7W) into the light kit fitter assembly (A).
- Replace the ceiling fan switch cup cover (D) onto the ceiling fan assembly with the three mounting screws (BB).
- Attach the pull chain (AA) to the light kit fitter assembly (A).
- Turn on the power and test the light kit.
If you have any questions or problems, or if any parts are missing, please call Hampton Bay Customer Service at 1-855-HD-HAMPTON (8 a.m. – 7 p.m., EST, Monday-Friday, 9 a.m. – 6 p.m., EST, Saturday) before returning to the store.
Safety Information
READ AND SAVE THESE INSTRUCTIONS.
CAUTION: To reduce the risk of electrical shock, before starting installation, disconnect the power by turning off the circuit breaker or removing the fuse at the fuse box. Turning the power off using the fan switch is not sufficient.
CAUTION: To avoid accidental burning, allow the bulb and glass shade to cool completely before touching or replacing the glass shade or bulbs.
CAUTION: To reduce the risk of electrical shock, this light should be used only with the fan models listed below:
Models: 1005 071 850; 1004 755 222; 1004 755 230; 1001 673 208; 100 167 3215; 1001 673 210;
1002 263777; 1002 263 786; 1003 202 212;
1002 175 786
Manufactured by company:
Chien Luen Industries (Zhongshan) LTD
WARNING: Changes or modifications to this unit not expressly approved by the party responsible for compliance could void the user’s authority to operate the equipment.
WARNING: This product must be installed in accordance with the applicable installation code by a person familiar with the construction and operation of the product and the hazards involved.
Warranty
The supplier warrants the light kit to be free from defects in workmanship and material present at time of shipment from the factory for three years after the date of purchase by the original purchaser. We agree to correct such defects without charge or at our option replace with a comparable or superior model if the product is returned. To obtain warranty service, you must present a copy of the receipt as proof of purchase. All costs of removing and reinstalling the product are your responsibility. Damage to any part such as by accident, misuse, improper installation or by affixing any accessories, is not covered by this warranty. Because of varying climatic conditions this warranty does not cover any changes in brass finish, including rusting, pitting, corroding, tarnishing, or peeling. Brass finishes of this type give their longest useful life when protected from varying weather conditions. Servicing performed by unauthorized persons shall render the warranty invalid. There is no other express warranty. Hampton Bay hereby disclaims any and all warranties, including but not limited to those of merchantability and fitness for a particular purpose to the extent permitted by law. The duration of any implied warranty which cannot be disclaimed is limited to the time period as specified in the express warranty. Some states do not allow a limitation on how long an implied warranty lasts, so the above limitation may not apply to you. The retailer shall not be liable for incidental, consequential, or special damages arising out of or in connection with product use or performance except as may otherwise be accorded by law. Some states do not allow the exclusion of incidental or consequential damages, so the above exclusion or limitation may not apply to you. This warranty gives specific legal rights, and you may also have other rights which vary from state to state. This warranty supersedes all prior warranties. Shipping costs for any return of product as part of a claim on the warranty must be paid by the customer.
Contact the Customer Service Team at 1-855-HD-HAMPTON or visit www.hamptonbay.com.
Pre-Installation
TOOLS REQUIRED

PACKAGE CONTENTS

| Part | Description | Quantity |
| A | Light kit fitter assembly | 1 |
| B | Glass shade | 1 |
| C | LED bulb (7W) | 1 |
HARDWARE INCLUDED

| Part | Description | Quantity |
| AA | Pull Chain | 1 |
Installation – Ceiling Fan Light Kit
- Preparing the fan
- Remove the ceiling fan switch cup cover (D) from the ceiling fan assembly by removing the three mounting screws (BB).
- Remove the center plug (CC) from the switch cup cover (D).

- Preparing the light kit
- Remove the lockwasher (EE) and hex nut (DD) from the threaded nipple of the light kit fitter assembly (A) and save them for later use.
- Insert the black wire and white wire from the light kit through the center hole of the ceiling fan switch cup cover (D).
- Thread the ceiling fan switch cup cover (D) onto the threaded nipple on the top of the light kit (A).
- Insert the black wire and white wire through the lockwasher (EE) and hex nut (DD), and tighten them securely.

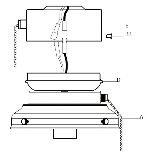
- Wiring the light kit to the fan
- Locate the blue and white wires inside the ceiling fan switch cup (E) for light connection.
- Connect the blue wire from the ceiling fan switch cup (E) to the black wire from the light kit (A).
- Connect the white wire from the ceiling fan switch cup (E) to the white wire from the light kit (A) by connecting the molded plugs together.
- Reattach the switch cup cover (D) to the ceiling fan switch cup (E) and secure with the screws (BB) that were removed in step 1.

- Installing the light bulb and glass shade for fans with pull chains
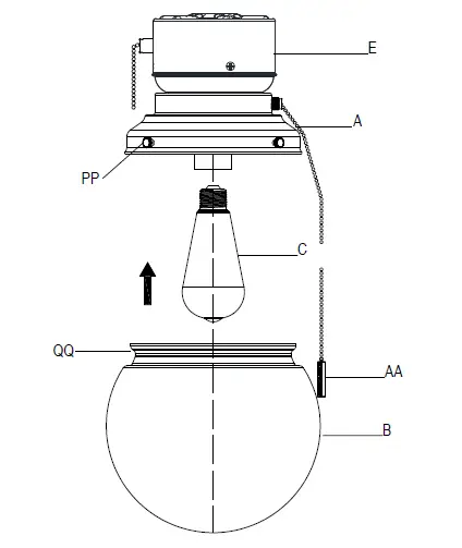
- With the power off, screw the LED bulb (C) into the light socket.
- Loosen but do not remove the four screws (PP) from the light kit fitter assembly (A).
- Carefully slide the glass shade (B) completely into the outer rim of the light kit fitter assembly (A) so that the ridge (QQ) of the glass shade (B) aligns with the screw holes in the outer rim.
- Secure the glass shade (B) by finger tightening the four screws (PP) until they touch the glass shade (B). Do not overtighten the screws.
- Attach the pull chain extension (AA) to the light switch pull chain.

- Installing the light kit for fans without pull chains
CAUTION: You must first turn the light on by using the pull chain prior to using the remote control to operate the light.- With the power off, screw the LED bulb (C) into the light socket.
- Loosen but do not remove the four screws (PP) from the light kit fitter assembly (A).
- Carefully slide the glass shade (B) completely into the outer rim of the light kit fitter assembly (A) so that the ridge (QQ) of the glass shade (B) aligns with the screw holes in the outer rim.
- Secure the glass shade (B) by finger tightening the four screws (PP) until they touch the glass shade (B). Do not overtighten the screws.

Questions, problems, missing parts? Before returning to the store, call Hampton Bay Customer Service
8 a.m. – 7 p.m., EST, Monday-Friday, 9 a.m. – 6 p.m., EST, Saturday
1-855-HD-HAMPTON
HAMPTONBAY.COM
Retain this manual for future use.






















