HAMPTON BAY 56050 52-Inch Corwin Ceiling Fan
THANK YOU
We appreciate the trust and confidence you have placed in Hampton Bay through the purchase of this ceiling fan. We strive to continually create quality products designed to enhance your home. Visit us online to see our full line of products available for your home improvement needs.
Thank you for choosing Hampton Bay!
Safety Information
READ AND SAVE THESE INSTRUCTIONS.
- To reduce the risk of electric shock, ensure the electricity has been turned off at the circuit breaker or fuse box before you begin.
- All wiring must be in accordance with the National Electrical Code ANSI/NFPA 70 and local electrical codes. Electrical installation should be performed by a qualified licensed electrician.
- The outlet box and support structure must be securely mounted and capable of reliably supporting 35 lb (15.9 kg). Use only UL Listed outlet boxes marked “Acceptable for Fan Support of 35 lb
(15.9 kg) or less”. - Do not operate the reversing switch while the fan blades are in motion. You must turn the fan off and stop the blades before you reverse the blade direction.
- Do not place objects in the path of the blades.
- To avoid personal injury or damage to the fan and other items, use caution when working around or cleaning the fan.
- Electrical diagrams are for reference only. Light kits that are not packed with the fan must be UL Listed and marked suitable for use with the model fan you are installing. Switches must be UL General Use Switches. Refer to the instructions packaged with the light kits and switches for proper assembly.
- After making electrical connections, spliced conductors should be turned upward and pushed carefully up into the outlet box. The wires should be spread apart with the grounded conductor and the equipment-grounding conductor on one side of the outlet box and the ungrounded conductor on the other side of the outlet box.
- All setscrews must be checked and retightened where necessary before installation.
- Use only with light kits marked suitable for use in damp locations.
WARNING: To reduce the risk of personal injury, do not bend the blade brackets (also referred to as flanges) during assembly or after installation. Do not insert objects in the path of the blades.
WARNING: To avoid possible electrical shock, turn the electricity off at the main fuse box before wiring. If you feel you do not have enough electrical wiring knowledge or experience, contact a licensed electrician.
WARNING: Electrical diagrams are for reference only. Optional use of any light kit shall be UL-listed and marked suitable for use with this fan.
WARNING: To reduce the risk of fire or electric shock, do not use this fan with any other solid-state speed control device.
CAUTION: The fan must be mounted with a minimum of 7 ft (2.1 m) clearance from the trailing edge of the blades to the floor.
CAUTION: To reduce the risk of personal injury, use only the screws provided with the outlet box.
CAUTION: Changes or modifications not expressly approved by the party responsible for compliance could void the user’s authority to operate the equipment.
CAUTION: Do NOT use this fan with a dimmer switch or wall control. Using a dimmer switch or wall control will damage the fan.
This equipment has been tested and found to comply with the limits for a Class B digital device, pursuant to Part 15 of the FCC Rules. These limits are designed to provide reasonable protection against harmful interference in a residential installation. This equipment generates, uses and can radiate radio frequency energy and, if not installed and used in accordance with the instructions, may cause harmful interference to radio communications. However, there is no guarantee that interference will not occur in a particular installation. If this equipment does cause harmful interference to radio or television reception, which can be determined by turning the equipment off and on, the user is encouraged to try to correct the interference by one or more of the following measures:
- Reorient or relocate the receiving antenna.
- Increase the separation between the equipment and receiver.
- Connect the equipment into an outlet on a circuit different from that to which the receiver is connected.
- Consult the dealer or an experienced radio/TV technician for help.
CAUTION:
Any changes or modifications not expressly approved by the grantee of this device could void the user’s authority to operate the equipment.
This device complies with Part 15 of the FCC Rules. Operation is subject to the following two conditions: (1) This device may not cause harmful interference, and (2) this device must accept any interference received, including interference that may cause undesired operation.
Warranty
The supplier warrants the fan motor to be free from defects in workmanship and material present at time of shipment from the factory for a lifetime after the date of purchase by the original purchaser. The supplier warrants that the light kit, excluding any glass, to be free from defects in workmanship and material at the time of shipment from the factory for a period of three years after the date of purchase by the original purchaser. The supplier also warrants that other fan parts, excluding any glass or acrylic blades, to be free from defects in workmanship and material at the time of shipment from the factory for a period of one year after the date of purchase by the original purchaser. We agree to correct such defects without charge or at our option replace with a comparable or superior model if the product is returned. To obtain warranty service, you must present a copy of the receipt as proof of purchase. All costs of removing and reinstalling the product are your responsibility. Damage to any part, such as by accident, misuse, improper installation, or by affixing any accessories, is not covered by this warranty. Because of varying climatic conditions this warranty does not cover any changes in brass finish, including rusting, pitting, corroding, tarnishing, or peeling. Brass finishes of this type give their longest useful life when protected from varying weather conditions. A certain amount of “wobble” is normal and should not be considered a defect. Servicing performed by unauthorized persons shall render the warranty invalid. There is no other express warranty. Hampton Bay hereby disclaims any and all warranties, including but not limited to those of merchantability and fitness for a particular purpose to the extent permitted by law. The duration of any implied warranty, which cannot be disclaimed, is limited to the time period as specified in the express warranty. Some states do not allow a limitation on how long an implied warranty lasts, so the above limitation may not apply to you. The retailer shall not be liable for incidental, consequential, or special damages arising out of or in connection with product use or performance except as may otherwise be accorded by law. Some states do not allow the exclusion of incidental or consequential damages, so the above exclusion or limitation may not apply to you. This warranty gives specific legal rights, and you may also have other rights that vary from state to state. This warranty supersedes all prior warranties. Shipping costs for any return of product as part of a claim on the warranty must be paid by the customer.
Contact the Customer Service Team at 1-855-HD-HAMPTON or visit www.HamptonBay.com.
Pre-Installation
SPECIFICATIONS
| Size | Speed | Volts | Watts | Amps | RPM | CFM | Net Weight | Gross Weight | Cubic Feet |
|
52 in. | Low |
120 | 9.87 | 0.22 | 60 | 1617 |
16.28 lb (7.40 kg) |
20.28 lb (9.20 kg) |
1.58 cu.ft. |
| Medium | 28.99 | 0.38 | 104 | 2886 | |||||
| High | 64.10 | 0.54 | 153 | 4314 |
NOTE: These are approximate measures. They do not include the amps and wattage used by the light kit.
TOOLS REQUIRED
HARDWARE INCLUDED
NOTE: Hardware not shown to actual size.
| Part | Description | Quantity |
| AA | Plastic wire connector | 3 |
| BB | Hanger pin | 1 |
| CC | Locking pin | 1 |
| DD | Blade arm screws | 15 |
| EE | Blade attachment screw washer | 10 |
| FF | Blade bracket screws | 10 |
| GG | Pull chain | 2 |
PACKAGE CONTENTS
| Part | Description | Quantity |
| A | Slide-on mounting bracket (inside canopy) | 1 |
| B | Canopy | 1 |
| C | Canopy bottom cover | 1 |
| D | Ball/downrod assembly | 1 |
| E | Fan motor assembly | 1 |
| F | Light kit pan | 1 |
| G | Light kit fitter assembly | 1 |
| H | LED bulb | 2 |
| I | Glass shade | 1 |
| Part | Description | Quantity |
| J | Blade bracket | 5 |
| K | Blade | 5 |
| L | Blade support plate | 5 |
IMPORTANT: This product and/or components are governed by one or more of the following U.S. Patents: 5,947,436; 5,988,580; 6,010,110; 6,046,416, 6,210,117 and other patents pending.
Installation
MOUNTING OPTIONS
WARNING: To reduce the risk of fire, electric shock, or personal injury, mount the fan to an outlet box marked “Acceptable for fan support of 35 lb (15.9 kg) or less” and use the screws provided with the outlet box. An outlet box commonly used for the support of lighting fixtures may not be acceptable for fan support and may need to be replaced. If in doubt, consult a qualified electrician.
If your ceiling fan does not have an existing UL Listed mounting box, then install one using the following instructions:
- Disconnect the power by removing the fuses or turning off the circuit breakers.
- Secure the outlet box directly to the building structure. Use the appropriate fasteners and materials. The outlet box and its bracing must be able to fully support the weight of the moving fan (at least 35 lb). Do not use a plastic outlet box.
The illustrations below show three different ways to mount the outlet box.
NOTE: You may need a longer downrod to maintain proper blade clearance when installing on a steep, sloped ceiling. The maximum angle allowable is 20° away from horizontal.
If the canopy (B) touches the ball/downrod assembly (D), then remove the decorative canopy bottom cover (C) and turn the canopy (B) 180° before attaching the canopy (B) to the mounting plate.
To hang your fan where there is an existing fixture but no ceiling joist, you may need an installation hanger bar as shown above (available at any Home Depot store).
Assembly – Standard Ceiling Mount
Preparation for standard mounting
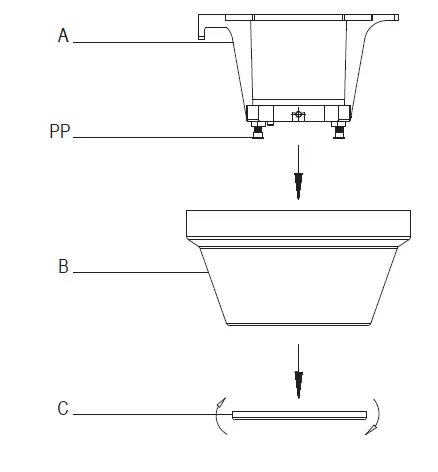
- Remove the canopy bottom cover (C) from the canopy (B) by turning the bottom cover counterclockwise until it unlocks.
- Loosen the two canopy screws (PP) located in the bottom of the mounting bracket (A), and turn the canopy counterclockwise to remove the mounting bracket (A) from the canopy (B).

Routing the wires
- Route the wires exiting the top of the fan motor assembly (E) through the center of the canopy bottom cover (C).
- Make sure the opening of the canopy (B) is on top and insert the ball/downrod (D) through the canopy (B).
- Route the wires exiting the top of the fan motor assembly (E) through the downrod as shown.

Assembling the fan
WARNING: Failure to properly install the locking pin could result in the fan becoming loose and possibly falling.
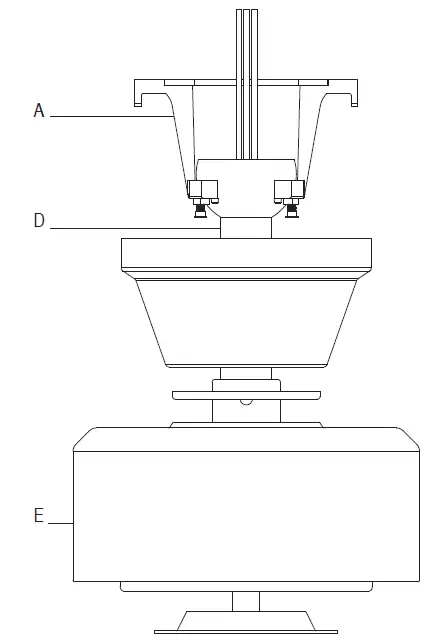
- Loosen, but do not remove, the two setscrews (ZZ) on the collar on top of the fan motor assembly (E).
- Align the holes at the bottom of the downrod (D) with the holes in the collar on top of the fan motor assembly (E).
- Carefully insert the hanger pin (BB) through the holes in the collar and downrod (D). Be careful not to jam the hanger pin (BB) against the wiring inside the downrod (D).
- Insert the locking pin (CC) through the hole near the end of the hanger pin (BB) until it snaps into its locked position.
- Re-tighten the two setscrews (ZZ) on the collar on top of the fan motor assembly (E).

Assembly – Hanging the Fan
Attaching the fan to the electrical box
WARNING: To reduce the risk of fire, electric shock, or another personal injury, mount the fan to an outlet box marked “Acceptable for fan support of 35 lb (15.9 kg) or less” and use the mounting screws provided with the outlet box.
NOTE: The mounting bracket (A) is designed to slide into place on an outlet box with the outlet box screws (JJ).
- Pass the 120-Volt supply wires through the center hole in the slide-on mounting bracket (A).
- Install the ceiling slide-on mounting bracket (A) on the outlet box by sliding the slide-on mounting bracket (A) over the two screws (JJ) provided with the outlet box. If necessary, use leveling washers (not included) between the slide-on mounting bracket
(A) and the outlet box. Note that the flat side of the slide-on mounting bracket (A) is toward the outlet box. - Securely tighten the two mounting screws (JJ).

Hanging the fan
WARNING: When using the standard ball/downrod mounting, the tab in the ring at the bottom of the mounting bracket must rest in the groove of the hanger ball. Failure to properly seat the tab in the groove may result in fan wobble issues and potentially damage the wiring.
- Carefully lift the fan motor assembly (E) up to the slide-on mounting bracket (A).
- Seat the hanger ball portion of the ball/downrod assembly (D) in the mounting bracket socket. Ensure that the tab on the slide-on mounting bracket (A) socket is properly seated in the groove in the hanger ball.

Making the electrical connection
IMPORTANT: Use the plastic wire connectors (AA) supplied with your fan. Secure the connectors with electrical tape and ensure there are no loose strands or connections.
NOTE: The fan comes with 54 in. lead wires for use with an extended ball/ downrod assembly. If using the 4.5 in. ball/downrod assembly (D) provided, you can cut the lead wires to your desired length (no shorter than 12 in.). This will make extra room in the canopy (B). If you do not wish to cut the wires, you will need to neatly wrap them.
- Connect the fan motor white wires to the household white wire using a wire connecting nut (AA).
- Connect the fan motor black and blue wires to the household black wire using a wire connecting nut (AA).
- Secure each wire connecting nut (AA) using electrical tape.
- Turn the wire connecting nut (AA) upward and push the wiring into the outlet box (MM).

Wrapping the extra wire
NOTE: Follow this step ONLY if you did not cut the extra length off from the wires coming from the ceiling fan.
- Gently wrap the excess wire around the mounting bracket.
- Secure with electrical tape.

Attaching the canopy
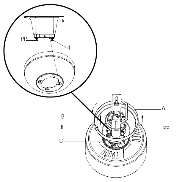
- Align the locking slots of the canopy (B) with the two screws (PP) and alignment post (II) in the mounting bracket (A).
- Push up the canopy (B) and turn clockwise until the alignment post (II) engages to the round hole and the screws (PP) engage to the key slots.
- Firmly tighten the two mounting screws (PP).
- Install the decorative bottom cover (C) by aligning the cover slots with screws in the bottom of the canopy (B). Rotate the bottom cover (C) clockwise to lock in place.

Assembly – Attaching the Fan Blades
Attaching the blades to the blade brackets
- Attach a blade (K) to the blade bracket (J) by aligning the holes on the blade support plate (L) with the holes on blades
(K) and blade bracket (J), inserting the screws (DD) into the holes in the blade support plate (L) and through the blade (K) and blade bracket (J). - Tighten each screw to secure the blade (K).
- Repeat this step for each blade (K) and blade bracket (J).

Attaching the blade assemblies to the motor
- Attach the blade assembly to the motor assembly (E) by aligning the screw holes on the blade bracket (J) with the screw holes on the bottom of the fan motor assembly (E). Insert the screws (FF) and screw washers (EE) into the holes on the blade bracket (J) and through the holes on the bottom of the fan motor assembly (E), and tighten each screw to secure the blade assembly.
- Repeat this step for the remaining blade assemblies.

Assembly – Attaching the Light Kit
Installing the light kit pan
- Remove one screw (LL) from the black bracket below the fan motor assembly (E), and loosen but do not remove the other two screws (QQ).
- Push the light kit pan (F) up to the fan motor assembly (E) so that the two loosened screw heads fit into the keyhole slots. Turn the light kit pan (F) clockwise.
- Carefully push the square wire connectors together. One from the light kit pan (F) and one from the fan motor assembly (E).
- Re-install the screw (LL) that was removed in the first step.
- Make sure all the screws are firmly tightened.

Attaching the light kit fitter assembly
- Remove one screw (OO) from the light kit pan (F), and loosen, but do not remove the other two screws.
- Connect the wires from the light kit fitter assembly (G) to
the wires from the fan motor assembly (E) by connecting the molded adaptor plugs together. Carefully tuck all wires and splices into the light kit pan (F). - Push the light kit fitter assembly (G) up to the light kit pan (F) so that the two loosened screw heads fit into the keyhole slots. Turn the light kit fitter assembly (G) clockwise to secure.
- Re-install the screw (OO) that was removed in the first step.
- Make sure all the screws are firmly tightened.

Installing the glass shade
WARNING: Do not overtighten when installing the glass shade into the light kit. Allow the glass shade to cool completely before removing.
- With the power off, install the two LED bulbs (H) by screwing them into the light bulb sockets.
- Place the glass shade (I) into the light kit assembly, aligning the three flat areas on the top flange of the glass shade (I) with the three raised dimples in the light kit assembly. Turn the glass shade (I) clockwise until it stops.
- Attach the pull chain extensions (GG) to the light pull chain and the fan pull chain.

Operating Your Fan
Turn on the power and check the operation of the fan. The pull chain controls the fan speeds as follows:
1 pull – High, 2 pulls – Medium, 3 pulls – Low, 4 pulls – Off
The appropriate speed settings for warm or cool weather depends on factors such as the room size, ceiling height, and number of fans. The slide switch (XX) controls the direction of the blades: forward (switch left) or reverse (switch right).
NOTE: Wait for the fan to stop before reversing the direction of the blade rotation.
Warm weather – (Forward) A downward airflow creates a cooling effect. This allows you to set your air conditioner on a warmer setting without affecting your comfort.
Cool-weather – (Reverse) An upward airflow moves warm air off of the ceiling. This allows you to set your heating unit on a lower setting without affecting your comfort.
Care and Cleaning
WARNING: Make sure the power is off before cleaning your fan.
- Because of the fan’s natural movement, some connections may become loose. Check the support connections, brackets, and blade attachments twice a year. Make sure they are secure. It is not necessary to remove the fan from the ceiling.
- Clean your fan periodically to help maintain its new appearance over the years. Do not use water when cleaning, as this could damage the motor, or the wood, or possibly cause an electrical shock. Use only a soft brush or lint-free cloth to avoid scratching the finish. The plating is sealed with a lacquer to minimize discoloration or tarnishing.
- You can apply a light coat of furniture polish to the wood for additional protection and enhanced beauty. Cover small scratches with a light application of shoe polish.
- You do not need to oil your fan. The motor has permanently-lubricated sealed ball bearings.
Troubleshooting
| Problem | Solution |
| The fan will not start. | □ Check the main and branch circuit fuses or breakers. □ Check to make sure the wall switch is in the on position if applicable. □ Check the line wire connections to the fan and switch wire connections in the switch housing. |
| The fan is noisy. | □ Ensure all motor housing screws are snug. □ Ensure the screws that attach the fan blade bracket to the motor hub are tight. □ Ensure the wire nut connections are not rattling against each other or the interior wall of the switch housing. □ Allow a 24-hour “breaking in” period. Most noises associated with a new fan disappear during this time. □ If you are using the ceiling fan light kit, ensure the glass shade is turned tightly. Check that the light bulbs are also secure. □ Ensure the canopy is a short distance from the ceiling. It should not touch the ceiling. |
| The fan wobbles. | □ Check that all blade and blade arm screws are secure. □ Most fan wobble problems are caused when blade levels are unequal. Check this level by selecting a point on the ceiling above the tip of one of the blades. Measure from a point on the center of each blade to the point on the ceiling. Rotate the fan until the next blade is positioned for measurement. Repeat for each blade. Any measurement deviation should be within 1/8 in. Run the fan for ten minutes. If the fan continues to wobble please contact Customer Service and a balancing kit will be sent to you at no charge. |
Questions, problems, missing parts? Before returning to the store, call Hampton Bay Customer Service
8 a.m. – 7 p.m., EST, Monday – Friday, 9 a.m. – 6 p.m., EST, Saturday
1-855-HD-HAMPTON
HAMPTONBAY.COM
Retain this manual for future use.





























