HAMPTON BAY YG216-MWH Roanoke Outdoor 48 Inch Ceiling Fan User Guide
Visual instruction of how to install this fan:
Visit www.homedepot.com and enter either the Item or Model number to find this fan and click the link of visual instruction in the product overview section.
Safety Information
- To reduce the risk of electric shock, ensure electricity has been turned off at the circuit breaker or fuse box before beginning.
- All wiring must be in accordance with the National Electrical Code “ANSI/NFPA 70-1999” and local electrical codes.
Electrical installation should be performed by a qualified licensed electrician.
The outlet box and support structure must be securely mounted and capable of reliably supporting a minimum of 35 lbs (15.9 kg) or less. Use only UL listed outlet boxes marked “FOR FAN SUPPORT.” - The fan must be mounted with a minimum of 7 ft (2.1m) clearance from the trailing edge of the blades to the floor.
- Avoid placing objects in the path of the blades.
- To avoid personal injury or damage to the fan and other items, be cautious when working around or cleaning the fan.
- Do not use water or detergents when cleaning the fan or fan blades. A dry dust cloth or lightly dampened cloth will be suitable for most cleaning.
- After making electrical connections, spliced conductors should be turned upward and pushed carefully up into the outlet box. The wires should be spread apart with the grounded conductor and the equipment-grounding conductor on one side of the outlet box and ungrounded conductor on
the other side of the outlet box. - All setscrews must be checked and retightened where necessary before installation.
- This device complies with part 15 of the FCC Rules. Operation is subject to the following two conditions:
- This device may not cause harmful interference, and
- this device must accept any interference received, including interference that may cause undesired operation.
WARNING: Changes or modifications to this unit not expressly approved by the party responsible for compliance could void the user’s authority to operate the equipment.
NOTE: This equipment has been tested and found to comply with the limits for a Class B digital device, pursuant to Part 15 of the FCC Rules. These limits are designed to provide reasonable protection against harmful interference in a residential installation. This equipment generates, uses and can radiate radio frequency energy and, if not installed and used in accordance with the instructions, may cause harmful interference to radio communications.
However, there is no guarantee that interference will not occur in a particular installation. If this equipment does cause harmful interference to radio or television reception, which can be determined by turning the equipment off and on, the user is encouraged to try to correct the interference by one or more of
the following measures:
- Reorient or relocate the receiving antenna.
- Increase the separation between the equipment and receiver.
- Connect the equipment into an outlet on a circuit different from that to which the receiver is connected.
- Consult the dealer or an experienced radio/TV technician for help.
WARNING: To reduce the risk of electrical shock or fire, do not use this fan with any solid-state fan speed control device. It will permanently damage the electronic circuitry.
WARNING: To reduce the risk of personal injury, do not bend the blade arms (also referred to as flanges), when installing the brackets, balancing the blades or cleaning the fan.
WARNING: Do not insert foreign objects between rotating fan blades.
WARNING: To reduce the risk of fire, electric shock or personal injury, mount the fan to the outlet box marked acceptable for fan support with the screws provided with the outlet box.
CAUTION: To reduce the risk of personal injury, use only the screws provided with the outlet box.
Warranty
The manufacturer warrants the fan motor to be free from defects in workmanship and material present at time of shipment from the factory for a period of lifetime after the date of purchase by the original purchaser. The manufacturer warrants the light kit (excluding any glass), to be free from defects in workmanship and material at the time of shipment from the factory for a period of three years after the date of purchase by the original purchaser. The manufacturers also warrants that all other fan parts, excluding any glass or acrylic blades, to be free from defects in workmanship and material at the time of shipment from the factory for a period of one year after the date of purchase by the original purchaser. We agree to correct such defects without charge or at our option replace with a comparable or superior model if the product is returned. To obtain warranty service, you must present a copy of the receipt as proof of purchase. All costs of removing and reinstalling the product are your responsibility. Damage to any part such as by accident, misuse, improper installation or by affixing any accessories, is not covered by this warranty. Because of varying climatic conditions this warranty does not cover any changes in brass finish, including rusting, pitting, corroding, tarnishing or peeling. Brass finishes of this type give the longest useful life when protected from varying weather conditions. A certain amount of “wobble” is normal and should not be considered a defect. Servicing performed by unauthorized persons shall render the warranty invalid. There is no other express warranty. We hereby disclaim any and all warranties, including but not limited to those of merchantability and fitness for a particular purpose to the extent permitted by law. The duration of any implied warranty which cannot be disclaimed is limited to the time period as specified in the express warranty. Some states do not allow limitation on how long an implied warranty lasts, so the above limitation may not apply to you. The retailer shall not be liable for incidental, consequential, or special damages arising out of or in connection with product use or performance except as may otherwise be accorded by law. Some states do not allow the exclusion of incidental or consequential damages, so the above exclusion or limitation may not apply to you. This warranty gives specific legal rights, and you may also have other rights which vary from state to state. This warranty supersedes all prior warranties. Shipping costs for any return of product as part of a claim on the warranty must be paid by the customer.
Contact the Customer Service Team at 1-855-HD-HAMPTON or visit www.hamptonbay.com.
Pre-Installation
SPECIFICATIONS
| Fan size | Speed | Volts | Amps | Watts | RPM | CFM | N.W. | G.W. | C.F. |
| 48 in. | Low | 120 | 0.22 | 11.94 | 81 | 1730 | 9.4 kgs (20.8 lbs.) | 11.25 kg (24.75 lbs.) | 2.02 cu. ft. |
| Medium | 0.37 | 33.95 | 151 | 3480 | |||||
| High | 0.45 | 52.74 | 186 | 4440 |
NOTE: These are approximate measures. They do not include amps and wattage used by the light kit.
TOOLS REQUIRED
Phillips screwdriver
Flat blade screwdriver
Adjustable wrench
Step ladder
Wire stripper
Electrical tape
HARDWARE INCLUDED
NOTE: Hardware not shown to actual size.

| Part | Description | Quantity |
| AA | Plastic wire nut | 3 |
| BB | Blade attachment screw with rubber washer | 16 |
| CC | 9 Watt LED medium base bulb | 2 |
| DD | Pull chain and fob | 2 |
| EE | Balance kit | 1 |
PACKAGE CONTENTS

| Part | Description | Quantity |
| A | Mounting bracket | 1 |
| B | Fan motor assembly | 1 |
| C | Blade | 5 |
| D | Blade arm | 5 |
| Part | Description | Quantity |
| E | Switch housing | 1 |
| F | Light kit | 1 |
| G | Glass shade | 1 |
Installation
MOUNTING OPTIONS
WARNING: To reduce the risk of fire, electric shock, or personal injury, mount the fan to an outlet box marked acceptable for fan support using the screws provided with the outlet box. An outlet box commonly used for the support of lighting fixtures may not be acceptable for fan support and may need to be replaced. If in doubt, consult a qualified electrician.
If your ceiling fan does not have an existing UL-listed mounting box, then install one using the following instructions:
- Disconnect the power by removing the fuses or turning off the circuit breakers.
- Secure the outlet box (FF) (not included) directly to the building structure. Use appropriate fasteners and materials (not included). The outlet box and its bracing must be able to fully support the weight of the moving fan (at least 35 lbs.). Do not use a plastic outlet box.
The illustrations below show two different ways to mount the outlet box (FF) (not included).
To hang your fan where there is an existing fixture but no ceiling joist, you may need an installation hanger bar (GG) (not included) as shown above.
Assembly
Hanging the Fan
- Attaching the mounting bracket to the electrical box
WARNING: To reduce the risk of fire, electric shock or other personal injury, mount the fan only to an outlet box or supporting system marked acceptable for fan support and use the mounting screws provided with the outlet box.- Attach the mounting bracket (A) to the outlet box (FF) (not included) with two screws and washers provided with the outlet box (FF). Ensure the mounting bracket (A) is tight and secured.

- Attach the mounting bracket (A) to the outlet box (FF) (not included) with two screws and washers provided with the outlet box (FF). Ensure the mounting bracket (A) is tight and secured.
- Hanging the fan from the mounting bracket
- Lift fan into position by hanging the motor assembly (B) onto the hook (HH) from the ceiling mounting bracket (A) allowing it to hang freely.

- Lift fan into position by hanging the motor assembly (B) onto the hook (HH) from the ceiling mounting bracket (A) allowing it to hang freely.
- a. Making the electrical connections
WARNING: To avoid possible electrical shock, be sure electricity is turned off at the main fuse box before wiring.
WARNING: Check to see that all connections are tight, including ground, and that no bare wire is visible at the wire nuts (except for the ground wire).
WARNING: To reduce the risk of fire or electric shock, do not use this fan with any solid-state speed control device.
If you feel you do not have enough electrical wiring knowledge or experience, have your fan installed by a licensed electrician.
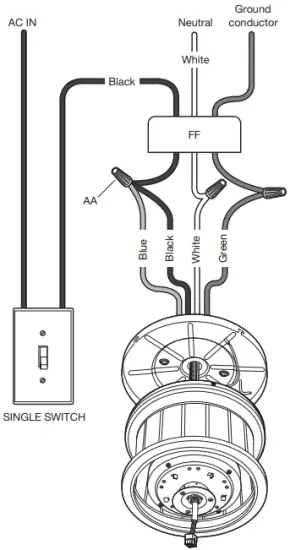
Follow the steps below to connect the fan to your household wiring. Use the plastic wire nuts (AA) with your fan. Secure the plastic wire nuts (AA) with electrical tape. Make sure there are no loose strands or connections.- Make wire connections as follows, using the wire nuts (AA).
From Fan To Outlet Box
Black + Blue Wires: Black Wire (Hot)
White Wire: White Wire (Neutral)
Green Wire: Green or Bare Wire (Ground) - Turn the wire nut connections upward, spreading them apart so the green (ground) and white wires will be on one side of the outlet box (FF) and the black and blue wires will be on the other side. Carefully tuck the connections up into the outlet box (FF).

Hanging the Fan (optional)
3b Single Switch Connections- On a single switch the fan and light can be turned on or off together. Make wire connections as follows, using the wire nuts (AA). Wall switch not included.
From Fan To Outlet Box
Black + Blue Wires: Black Wire (Hot)
White Wire: White Wire (Neutral)
Green Wire: Green or Bare Wire (Ground)
- On a single switch the fan and light can be turned on or off together. Make wire connections as follows, using the wire nuts (AA). Wall switch not included.
- 3C Dual Switch Connections
- On a dual switch the fan and light can be turned on or off separately. Make wire connections as follows, using the wire nuts (AA). Wall switch not included.
From Fan To Outlet Box
Black Wire (for Fan): Black Wire (Hot #1)
Blue Wire (for Light): Red Wire (Hot #2)
White Wire: White Wire (Neutral)
Green Wire: Green or Bare Wire (Ground)
- On a dual switch the fan and light can be turned on or off separately. Make wire connections as follows, using the wire nuts (AA). Wall switch not included.
- Make wire connections as follows, using the wire nuts (AA).
- Finishing the fan installation
- Remove one of the four motor mounting screws (II) from the fan motor assembly (B), and loosen the other three screws (do not remove).
- Remove the fan motor assembly (B) from the hook on the mounting bracket (A).
- Raise the fan motor assembly (B) up aginst the mounting bracket (A). Place the three motor mounting screws (II) previously loosened over the groove on the mounting bracket (A). Turn the motor assembly(B) until it locks in place.
- Securely tighten the three motor mounting screws (II) previously loosened and the one previously removed.

Attaching the Fan Blades
- Attaching the blades to the blade arms
NOTE: Your fan blades are reversible. Select the blade side finish which best accentuates your decor.- Attach the blade (C) to the blade arm (D) using the three blade attachment screws with rubber washers (BB). Start a screw and rubber washer (BB) into the blade arm (D), but do not tighten.
- Repeat for the remaining blade attachment crews and rubber washers (BB).
- Tighten each screw securely starting with the center screw. Make sure the blade (C) is straight. □ Repeat these steps for the remaining blades (C).

- Fastening the blade assemblies to the motor
WARNING: To reduce the risk of personal injury, do not bend the blade arms (D) while installing, balancing the blades (C), or cleaning the fan. Do not insert foreign objects between rotating fan blades (C).- Fasten the blade assemblies to the fan motor assembly (B) by lining up the slots of the blade arms (JJ) with the tabs on the motor (KK).
- Tighten the blade arm screws with lock washers (LL) already installed in the blade arms (D).
- Repeat this procedure for the remaining blade arms (D).

Installing the Light Kit
- Attaching the switch housing to the mounting ring
CAUTION: Before starting installation, disconnect the power by turning off the circuit breaker or removing the fuse at the fuse box. Turning power off using the fan switch is not sufficient to prevent electric shock.- Remove one of the three switch housing mounting screws (MM) from the mounting ring (NN) and loosen the other two screws (MM). (Do not remove)
- While holding the switch housing (E) under the fan motor assembly (B), snap together the wire connection plugs (OO).
- Place the key holes in the switch housing (E) over the two screws (MM) previously loosened from the mounting ring (NN). Turn the switch housing (E) until the switch housing (E) locks in place at the narrow section of the key holes.
- Securely tighten the two mounting plate screws (MM) previously loosened and the one (MM) previously removed.

- Attaching the light kit to the switch housing
- Remove one of the three light kit mounting screws (PP) from the switch housing (E), and loosen the other two screws (PP). (Do not remove)
- While holding the light kit (F) under your fan motor assembly (B), locate two single white and blue wires in the switch housing labeled “FOR LIGHT”. Make the polarized plug connections (QQ):
- White to white
- Blue to black
- Carefully push all wires back into the switch housing (E). Place the key holes on the light kit (F) over the two light kit mounting screws (PP) previously loosened from the switch housing (E). Turn the light kit (F) until the light kit (F) locks in place at the narrow section of the key holes.
- Securely tighten the two light kit mounting screws (PP) previously loosened and the one (PP) previously removed.

- Installing the light bulbs and glass shade
CAUTION: Before starting installation, disconnect the power by turning off the circuit breaker or removing the fuse at the fuse box. Turning power off using the fan switch is not sufficient to prevent electric shock.- Install the 9W LED bulb (CC) (included).
- Raise the glass shade (G) up against the switch housing (E) and secure the glass shade (G) to the fan by turning the glass shade (G) clockwise until snug. Do not overtighten.

Operation
PULL CHAIN OPERATING INSTRUCTIONS
Install two pull chains and fobs (DD) onto the pull chains located in the switch housing (E). Turn on the power and check the operation of the fan.
The pull chain controls the fan speed as follows:
1 pull – High, 2 pulls – Medium, 3 pulls – Low, and 4 pulls – Off.
Speed settings for warm or cool weather depend on factors such as the room size, ceiling height, and numbers of fans.
To turn the light kit on or off, pull the chain that is attached to the switch housing (E).
REVERSE SWITCH OPERATING INSTRUCTIONS
The reverse switch is located on the surface of the switch housing. Slide the switch to the left for warm weather operation. Slide the switch to the right for cool weather operation.
NOTE: Wait for the fan to stop before reversing the direction of the blade rotation.
Warm weather – (Counterclockwise Direction) A downward air flow creates a cooling effect. This allows you to set your air conditioner on a warmer setting without affecting your comfort.
Cool weather – (Clockwise Direction) An upward air flow moves warm air off the ceiling. This allows you to set your heating unit on a cooler setting without affecting your comfort.
Care and Cleaning
Do
- Check the support connections, brackets, and blade attachments twice a year. Make sure they are secure.
Because of the fan’s natural movement, some connections may become loose over time. It is not necessary to remove the fan from the ceiling. - Clean your fan periodically. Use only a soft brush or lint-free cloth to avoid scratching the finish. The plating is sealed with a lacquer to minimize discoloration or tarnishing.
- (Optional) Apply a light coat of furniture polish to the wood blades.
- (Optional) Cover small scratches with a light application of shoe polish.
Do not
- Use water when cleaning. Water could damage the motor, or the wood, or possibly cause an electrical shock.
- Apply oil to your fan or motor. The motor has permanently-lubricated sealed ball bearings.
Troubleshooting
WARNING: Make sure the power is off at the electrical panel box before you attempt any repairs. Refer to step 3 “Making the electrical connections”
| Problem | Solution |
| The fan will not start. |
|
| |
|
The fan sounds noisy. |
|
| |
| |
| |
| |
| |
| |
|
The fan wobbles. |
|
| |
|
.

| Part | Description |
| A | Mounting bracket |
| B | Fan motor assembly |
| C | Blade |
| D | Blade arm |
| E | Switch housing |
| F | Light kit |
| G | Glass shade |
| Part | Description |
| AA | Plastic wire nut |
| BB | Blade attachment screw with rubber washer |
| CC | 9 Watt LED medium base bulb |
| DD | Pull chain and fob |
| EE | Balance kit |
Customer Support
Questions, problems, missing parts?
Before returning to the store,
8 a.m. – 7 p.m., EST, Monday-Friday, 9 a.m. – 6 p.m., EST Saturday
1-855-HD-HAMPTON
HAMPTONBAY.COM
Retain this manual for future use![]()




























