HAMPTON BAY 52HASLD NORTH GROVE 52-INCH CEILING FAN User Guide
THANK YOU
We appreciate the trust and confidence you have placed in Hampton Bay through the purchase of this ceiling fan. We strive to continually create quality products designed to enhance your home. Visit us online to see our full line of products available for your home improvement needs.
Thank you for choosing Hampton Bay!
Safety Information
READ AND SAVE THESE INSTRUCTIONS.
- To reduce the risk of electric shock, ensure the electricity has been turned off at the circuit breaker or fuse box before you begin.
- All wiring must be in accordance with the National Electrical Code ANSI/NFPA 70 and local electrical codes. Electrical installation should be performed by a qualified licensed electrician.
- The outlet box and support structure must be securely mounted and capable of reliably supporting 35 lbs. (15.9 kg). Use only UL Listed outlet boxes marked ”Acceptable for Fan Support of 35 lbs. (15.9 kg) or less”.
- CAUTION: The fan must be mounted with a minimum of 7 ft. (2.1 m) clearance from the trailing edge of the blades to the floor.
- Do not operate the reversing switch while the fan blades are in motion. You must turn the fan off and stop the blades before you reverse the blade direction.
- Do not place objects in the path of the blades.
- To avoid personal injury or damage to the fan and other items, use caution when working around or cleaning the fan.
- Electrical diagrams are for reference only. Light kits that are not packed with the fan must be UL-listed and marked suitable for use with the model fan you are installing. Switches must be UL General Use Switches. Refer to the instructions packaged with the light kits and switches for proper assembly.
- After making electrical connections, spliced conductors should be turned upward and pushed carefully up into the outlet box. The wires should be spread apart with the grounded conductor and the equipment-grounding conductor on one side of the outlet box.
- All set screws must be checked and retightened where necessary before installation.
WARNING: To reduce the risk of personal injury, do not bend the blade brackets (also referred to as flanges) during assembly or after installation. Do not insert objects in the path of the blades.
WARNING: To avoid possible electrical shock, turn the electricity off at the main fuse box before wiring. If you feel you do not have enough electrical wiring knowledge or experience, contact a licensed electrician.
WARNING: Electrical diagrams are for reference only. Optional use of any light kit shall be UL-listed and marked suitable for use with this fan.
WARNING: To reduce the risk of fire or electric shock, this fan should only be used with fan speed control part no. AP-3RDL manufactured by Dawnsun Electronic Technology Co., LTD ZhongShan.
WARNING: To reduce the risk of electric shock, this fan must be installed with an isolating wall switch.
CAUTION: To reduce the risk of personal injury, use only the screws provided with the outlet box.
CAUTION: Changes or modifications not expressly approved by the party responsible for compliance could void the user’s authority to operate the equipment.
CAUTION: Do NOT use this fan with a dimmer switch or wall control. Using a dimmer switch or wall control will damage the fan.
This equipment has been tested and found to comply with the limits for a Class B digital device, pursuant to Part 15 of the FCC Rules. These limits are designed to provide reasonable protection against harmful interference in a residential installation. This equipment generates, uses and can radiate radio frequency energy and, if not installed and used in accordance with the instructions, may cause harmful interference to radio communications. However, there is no guarantee that interference will not occur in a particular installation. If this equipment does cause harmful interference to radio or television reception, which can be determined by turning the equipment off and on, the user is encouraged to try to correct the interference by one or more of the following measures:
- Reorient or relocate the receiving antenna.
- Increase the separation between the equipment and receiver.
- Connect the equipment into an outlet on a circuit different from that to which the receiver is connected.
- Consult the dealer or an experienced radio/TV technician for help.
CAUTION: Any changes or modifications not expressly approved by the grantee of this device could void the user’s authority to operate the equipment.
This device complies with Part 15 of the FCC Rules. Operation is subject to the following two conditions:
- This device may not cause harmful interference, and
- this device must accept any interference received, including interference that may cause undesired operation.
Pre-Installation
SPECIFICATIONS
| Size | Speed | Volts | Amps | Watts | RPM | CFM | Net Weight | Gross Weight | Cubic Feet |
| 52 in. | Low |
120 | 0.22 | 11 | 65 | 2643 | xx.x lbs (x.x kg) | xx.xx lbs (xx kg) | 1.89 cu. ft. |
| Medium | 0.36 | 29 | 110 | 4084 | |||||
| High | 0.51 | 61 | 170 | 6044 |
NOTE: These are approximate measures. They do not include the amps and wattage used by the light kit.

TOOLS REQUIRED

HARDWARE INCLUDED
NOTE: Hardware not shown to actual size.

| Part | Description | Quantity |
| AA | Wire connecting nut | 3 |
| BB | Hanger pin | 1 |
| CC | Locking pin | 1 |
| DD | Decorative cage screws | 4 |
| EE | Light kit fitter assembly screws | 4 |
| FF | Blade attachment screws | 16 |
PACKAGE CONTENTS

| Part | Description | Quantity |
| A | Slide-on mounting bracket (inside canopy) | 1 |
| B | Ball/downrod assembly | 1 |
| C | Canopy | 1 |
| D | Decorative motor collar cover | 1 |
| E | Fan-motor assembly | 1 |
| F | Blade | 5 |
| Part | Description | Quantity |
| G | Light kit assembly | 1 |
| H | Decorative cage | 1 |
| I | Bulb | 1 |
| J | Receiver | 1 |
| K | Remote control | 1 |
| L | Extension lead wire | 1 |
IMPORTANT: This product and/or components are governed by one or more of the following U.S. Patents: 5,947,436; 5,988,580; 6,010,110; 6,046,416, 6,210,117 and other patents pending.
Installation
MOUNTING OPTIONS
WARNING: To reduce the risk of fire, electric shock, or personal injury, mount the fan to an outlet box marked “Acceptable for fan support of 35 lbs (15.9 kg) or less” and use the screws provided with the outlet box. An outlet box commonly used for the support of lighting fixtures may not be acceptable for fan support and may need to be replaced. If in doubt, consult a qualified electrician.
If your ceiling fan does not have an existing UL-listed mounting box, then install one using the following instructions:
- Disconnect the power by removing the fuses or turning off the circuit breakers.
- Secure the outlet box directly to the building structure.
Use the appropriate fasteners and materials. The outlet box and its bracing must be able to fully support the weight of the moving fan (at least 35 lbs). Do not use a plastic outlet box.
The illustrations below show three different ways to mount the outlet box.

NOTE: You may need a longer downrod to maintain proper blade clearance when installing on a steep, sloped ceiling. The maximum angle allowable is 20° away from horizontal.

If the canopy (C) touches the ball/downrod assembly (B), then remove the decorative canopy bottom cover and turn the canopy (C) 180° before attaching the canopy (C) to the mounting plate.
To hang your fan where there is an existing fixture but no ceiling joist, you may need an installation hanger bar as shown above (available at any Home Depot store).
Assembly
Standard Ceiling Mount
Preparing for standard mounting

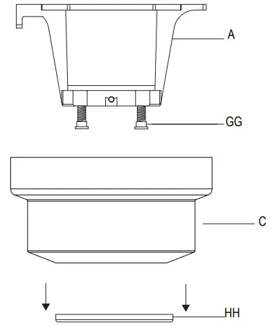
- Remove the magnetic canopy bottom cover (HH) from the canopy (C) by pulling it off.
- Loosen the two canopy screws (GG) located in the bottom of the mounting bracket (A).
- Turn the mounting bracket (A) counterclockwise and lift it up to remove the mounting bracket from the canopy (C)
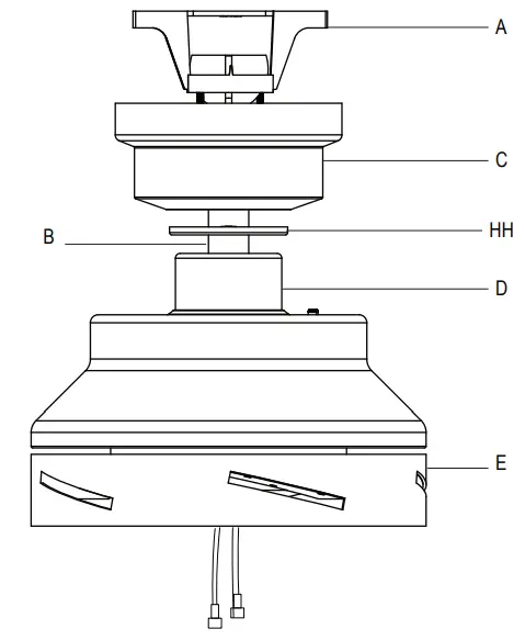
Routing the wires

- Route the wires exiting the top of the fan motor assembly (E) through the decorative motor collar cover (D) and then the canopy bottom cover (HH).
- Make sure the opening of the canopy (C) is on top and insert the ball/downrod (B) through the canopy (C).
- Route the wires exiting the top of the fan motor assembly (E) through the downrod (B) as shown.
Assembling the fan

WARNING: Failure to properly install the locking pin (CC) could result in the fan becoming loose and possibly falling.
- Loosen, but do not remove, the setscrews (KK) on the collar on top of the fan-motor assembly (E).
- Align the holes at the bottom of the ball downrod assembly (B) with the holes in the collar on top of the fan-motor assembly (E).
- Carefully insert the hanger pin (BB) through the holes in the collar and ball/downrod assembly (B). Be careful not to jam the hanger pin (BB) against the wiring inside the ball/downrod assembly (B).
- Insert the locking pin (CC) through the hole near the end of the hanger pin (BB) until it snaps into its locked position.
- Re-tighten the setscrews (KK) on the collar on top of the fanmotor assembly (E).
Hanging the Fan
Attaching the fan to the electrical box

WARNING: To reduce the risk of fire, electric shock, or other personal injury, mount the fan to an outlet box or supporting system marked “Acceptable for fan support of 35 lbs (15.9 kg) or less” and use the mounting screws provided with the outlet box.
NOTE: The mounting bracket (A) is designed to slide into place on an outlet box with the outlet box screws (LL).
- Pass the 120-volt supply wires through the center hole in the slide-on mounting bracket (A).
- Install the ceiling slide-on mounting bracket (A) on the outlet box by sliding the slide-on mounting bracket (A) over the two screws (LL) provided with the outlet box. If necessary, use leveling washers (not included) between the slide-on mounting bracket (A) and the outlet box. Note that the flat side of the slide-on mounting bracket (A) is toward the outlet box.
- Securely tighten the two mounting screws (LL).
Hanging the fan

- Carefully lift the fan-motor assembly (E) up to the slide-on mounting bracket (A).
- Seat the hanger ball portion of the ball/downrod assembly (B) in the mounting bracket socket. Ensure that the tab on the slide-on mounting bracket (A) socket is properly seated in the groove in the hanger ball of the ball/downrod assembly (B).
Setting the code on the remote control and receiver
NOTE: The frequencies on your receiver and hand unit have been preset at the factory. Before installing the receiver, make sure the dip switches on the receiver and hand unit are set to the same frequency. The dip switches on the hand unit are located inside the battery compartment.
NOTE: The switch marked “O/D” controls the dimming function of the lights. If using non-dimmable bulbs, use a ballpoint pen or small screwdriver to set the switch to “O” to disable the dimming function. If using dimmable bulbs, set the switch to “D” to enable the dimming function.
NOTE: The battery will weaken with age and should be replaced before leaking takes place, as this will damage the hand unit. Dispose of the used battery properly and keep the battery out of the reach of children.
- Remove the remote control (K) battery cover by pressing firmly on the arrow and sliding the cover off.
- Slide the dip switches (ZZ) to your choice of either up or down. The factory setting is up.
- Slide the dip switches (ZZ) on the receiver (J) to the same position as set on the remote control (K).
- Install the 23A 12V batteries (included).
- Replace the battery cover on the remote control (K).
- Insert the silicone rubber stopper (OO) into the hole on the receiver (J) to cover the dip switches.

Installing the receiver
WARNING: To reduce the risk of fire or electric shock, remember to disconnect power. The electrical wiring must meet all local and national electrical code requirements.
The electrical source and fan must be 110/120 volt, 60Hz.
Do not use this product in conjunction with any variable wall control. Incorrect wire connection can damage this receiver.
CAUTION: If other fan wires are a different color, have this unit installed by a licensed electrician.
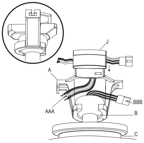
- Position the house supply wires (AAA) to one side of the slide-on mounting bracket (A); position the fan wires (BBB) to the opposite side.
- Insert the narrow end of the receiver (as shown, flat side towards the ceiling) into the slide-on mounting bracket (A) until it rests on top of the ball/downrod assembly (B).

Wiring the receiver to the household wiring

WARNING: To avoid possible electrical shock, turn the electricity off at the main fuse box before wiring. If you feel you do not have enough electrical wiring knowledge or experience, contact a licensed electrician.
WARNING: Each wire nut supplied with this fan is designed to accept up to one 12-gauge house wire and two wires from the fan. If you have larger than 12-gauge house wiring or more than one house wire to connect to the fan wiring, consult an electrician for the proper size wire nuts to use.
IMPORTANT: Use the wire connecting nuts (AA) supplied with your fan. Secure the connectors with electrical tape and ensure there are no loose strands or connections.
- Spread the wires apart so that the green and white wires are on one side of the outlet box and the black wire is on the other side.
- Connect the green fan wires to the household ground wire (this may be a green or bare wire) using a wire connecting nut (AA).
- Connect the receiver (J) black or red wire to the household black (hot) wire using a wire connecting nut (AA).
- Connect the receiver (J) white wire to the household white wire (neutral) using a wire connecting nut (AA).
- Secure each wire connecting nut using electrical tape.
Wiring the fan to the receiver

NOTE: The fan comes with 12 in. lead wires for use with the provided 6 in. ball downrod assembly (B). If you wish to use longer downrod, you can use the extension lead wire (42 in.) (L) provided.
- If using the 6 in. ball downrod assembly (B) provided, wire the receiver to the fan wires by connecting the molded adaptor plug from the receiver (J) with the molded adaptor of the fan motor assembly (E) together.
- If you wish to use a longer downrod, you can use the extension lead wire (42 in.) (L) provided by connecting the molded adaptor together.
Mounting the fan-motor assembly (standard mount)

WARNING: When using the standard ball/downrod mounting, the tab in the ring at the bottom of the mounting bracket must rest in the groove of the hanger ball. Failure to properly seat the tab in the groove could cause damage to the wiring.
NOTE: The magnet is pre-attached on the canopy bottom cover for you to remove and install easily
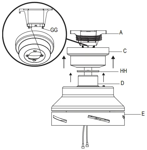
- Align the locking slots of the canopy (C) with the two screws (GG) in the mounting bracket (A). Push up to engage the slots and turn clockwise to lock in place.
- Firmly tighten the two mounting screws (GG).
- Align the oval shape on the canopy (C) with canopy bottom cover (HH), Push up the canopy bottom cover (HH) until the screw (GG) heads engage to the slots on the canopy bottom cover (HH) so that the magnetic canopy bottom cover (HH) can be attached to the bottom of the canopy (C) properly.
Installing the blades

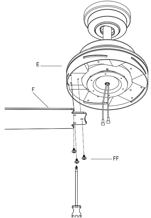
- Attach a blade (F) to the fan motor assembly (E) by inserting the blade (F) into slots in the side of the fan motor assembly (E) and aligning the three screw holes in the blade with the holes in the center flywheel and secure with screws (FF).
- Make sure all the screws are firmly tightened.
- Repeat these steps for the remaining blades.
Attaching the Light

- Push the decorative cage (H) up to the black bracket and align the three holes on the decorative cage (H) and the holes on the black bracket.
- Install the screws (DD) to secure the decorative cage (H) properly.
- Make sure all the screws are firmly tightened.
Attaching the light kit fitter assembly

CAUTION: To reduce the risk of electric shock, disconnect the electrical supply circuit to the fan before installing the light fixture.
- Connect the wires from the light kit fitter assembly (G) to the wires from the fan motor assembly (E) by connecting the molded adaptor plugs together. Carefully tuck all wires and splices into the switch cup.
- Push the light kit assembly (G) up to the decorative cage (H) and align the holes on the light kit fitter assembly (G) with the holes on the decorative cage (H).
- Secure the light kit fitter assembly (G) by using the screws provided (EE).
- Make sure all the screws are firmly tightened.
- With power off, install the light bulb (I) by screwing it into the bulb socket.
Attaching the Accessories
Mounting the remote control holder

NOTE: Screw wall anchors are included for extra support. The included screws are designed to screw easily into the wall. If you would like a more permanent or secure hold, install the wall anchors prior to attaching the wall cradle to the wall.
- Slide the screw cover plate up to remove it from the wall cradle.
- Position the wall cradle in the desired position and attach it to the wall using the included wall cradle screws.
- Slide the screw cover plate back onto the wall cradle to conceal the screws.
Operating Your Fan and Remote Control
Remote control – Your fan is equipped with a remote control to operate the speed and lights of your new ceiling fan.
The speed setting for warm or cool weather depends on factors such as the room size, ceiling height, number of fans and so on.
The fan is shipped from the factory with the reversing switch (YY) positioned to circulate air downward. If airflow is desired in the opposite direction, turn your fan off and wait for the blades to stop turning, then slide the reversing switch (located on the top of the motor housing) to the opposite position, and turn the fan on again. The fan blades will turn in the opposite direction and reverse airflow.
Warm weather – (Forward) A downward airflow creates a cooling effect.
This allows you to set your air conditioner on a higher setting without affecting your comfort.
Cool weather – (Reverse) An upward airflow moves warm air off of the ceiling. This allows you to set your heating unit on a lower setting without affecting your comfort.

Remote Control

Power ON/OFF – Press and release the
button to turn the fan and light on or off.
Fan Speed – LEDs on the fan speed button will illuminate to the corresponding speed.
– Press and release 1 time – turns the fan on high speed.
– Press and release 2 times – turns the fan on medium speed.

– Press and release 3 times – turns the fan on low speed.


– Press and release 4 times – turns the fan off.
Light ON/OFF/Dimmer – Press and release the
button to turn the light on or off. Press and hold the
button to activate the dimmer function (as long as you have not previously set O/D dip switch in your remote to the “ON” position).
Care and Cleaning
WARNING: Make sure the power is off before cleaning your fan.
- Because of the fan’s natural movement, some connections may become loose. Check the support connections, brackets, and blade attachments twice a year. Make sure they are secure. It is not necessary to remove the fan from the ceiling.
- Clean your fan periodically to help maintain its new appearance over the years. Do not use water when cleaning, as this could damage the motor or the wood, or possibly cause an electrical shock. Use only a soft brush or lint-free cloth to avoid scratching the finish. The plating is sealed with a lacquer to minimize discoloration or tarnishing.
- You can apply a light coat of furniture polish to the wood for additional protection and enhanced beauty. Cover small scratches with a light application of shoe polish.
- You do not need to oil your fan. The motor has permanently-lubricated sealed ball bearings.
Troubleshooting
| Problem | Solution |
| The fan will not start. | Check the main and branch circuit fuses or breakers. Check to make sure the wall switch is in the on position if applicable. Check the line wire connections to the fan and switch wire connections in the switch housing. Check the battery in the transmitter. Ensure you are in the normal range of 10-20 feet. Ensure the dip switch settings are the same on the transmitter and receiver. Remember to turn off the power supply before checking the dip switch settings. |
| The fan is noisy. | Ensure all motor housing screws are snug. Ensure the screws that attach the fan blade bracket to the motor hub are tight. Ensure the wire nut connections are not rattling against each other or the interior wall of the switch housing. Allow a 24-hour “breaking in” period. Most noises associated with a new fan disappear during this time. If you are using the ceiling fan light kit, ensure the screws securing the glassware are tight. Check that the light bulbs are also secure. Ensure the canopy is a short distance from the ceiling. It should not touch the ceiling. Ensure your outlet box is secure and rubber isolator pads were used between the mounting bracket and outlet box. |
| The fan wobbles. | Check that all blade and blade arm screws are secure. Most fan wobble problems are caused when blade levels are unequal. Check this level by selecting a point on the ceiling above the tip of one of the blades. Measure from a point on the center of each blade to the point on the ceiling. Rotate the fan until the next blade is positioned for measurement. Repeat for each blade. Any measurement deviation should be within 1/8”. Run the fan for ten minutes. If the fan continues to wobble, please contact Customer Service and a balancing kit will be sent to you at no charge. |
HAMPTONBAY.COM
Please contact 1-855-HD-HAMPTON for further assistance.
Warranty
The supplier warrants the fan motor to be free from defects in workmanship and material present at time of shipment from the factory for a lifetime after the date of purchase by the original purchaser. The supplier also warrants that all other fan parts, excluding any glass or acrylic blades, to be free from defects in workmanship and material at the time of shipment from the factory for a period of two years after the date of purchase by the original purchaser. We agree to correct such defects without charge or at our option replace with a comparable or superior model if the product is returned. To obtain warranty service, you must present a copy of the receipt as proof of purchase. All costs of removing and reinstalling the product are your responsibility. Damage to any part such as by accident, misuse, improper installation, or by affixing any accessories, is not covered by this warranty. Because of varying climatic conditions this warranty does not cover any changes in brass finish, including rusting, pitting, corroding, tarnishing, or peeling. Brass finishes of this type give their longest useful life when protected from varying weather conditions. A certain amount of “wobble” is normal and should not be considered a defect. Servicing performed by unauthorized persons shall render the warranty invalid. There is no other express warranty. Hampton Bay hereby disclaims any and all warranties, including but not limited to those of merchantability and fitness for a particular purpose to the extent permitted by law. The duration of any implied warranty which cannot be disclaimed is limited to the time period as specified in the express warranty. Some states do not allow a limitation on how long an implied warranty lasts, so the above limitation may not apply to you. The retailer shall not be liable for incidental, consequential, or special damages arising out of or in connection with product use or performance except as may otherwise be accorded by law. Some states do not allow the exclusion of incidental or consequential damages, so the above exclusion or limitation may not apply to you. This warranty gives specific legal rights, and you may also have other rights which vary from state to state. This warranty supersedes all prior warranties. Shipping costs for any return of product as part of a claim on the warranty must be paid by the customer.
Contact the Customer Service Team at 1-855-HD-HAMPTON or visit www.HamptonBay.com.
Questions, problems, missing parts?
Before returning to the store,
call Hampton Bay Customer Service
8 a.m. – 7 p.m., EST, Monday-Friday, 9 a.m. – 6 p.m., EST, Saturday
1-855-HD-HAMPTON
HAMPTONBAY.COM
Retain this manual for future use.
















