USE AND CARE GUIDE
MENA 54-INCH CEILING FANItem #1001 633 939
Model #58913
58913 Mena 54-Inch Ceiling Fan
THANK YOU
We appreciate the trust and confidence you have placed in Hampton Bay through the purchase of this ceiling fan. We strive to continually create quality products designed to enhance your home. Visit us online to see our full line of products available for your home improvement needs. Thank you for choosing Hampton Bay!
Safety Information
READ AND SAVE THESE INSTRUCTIONS.
- To reduce the risk of electric shock, ensure the electricity has been turned off at the circuit breaker or fuse box before you begin.
- All wiring must be in accordance with the National Electrical Code ANSI/NFPA 70 and local electrical codes. Electrical installation should be performed by a qualified licensed electrician.
- The outlet box and support structure must be securely mounted and capable of reliably supporting a minimum of 15.9 kg (35 lbs). Use only cUL-listed outlet boxes marked “Acceptable for Fan Support of 15.9 kg (35 lbs) or less.”
- The fan must be mounted with a minimum of 2.5 m (8 ft.) of clearance from the trailing edge of the blades to the floor.
- Do not place objects in the path of the blades.
- To avoid personal injury or damage to the fan and other items, use caution when working around or cleaning the fan.
- After making electrical connections, spliced conductors should be turned upward and pushed carefully up into the outlet box. The wires should be spread apart with the grounded conductor and the equipment-grounding conductor on one side of the outlet box.
- All set screws must be checked and retightened where necessary before installation.
| WARNING: To reduce the risk of personal injury, do not bend the blade brackets (also referred to as flanges) during assembly or after installation. Do not insert objects in the path of the blades. | |
| WARNING: To reduce the risk of fire or electric shock, do not use this fan with any solid-state speed control device. | |
| WARNING: To avoid possible electrical shock, turn the electricity off at the main fuse box before wiring. If you feel you do not have enough electrical wiring knowledge or experience, contact a licensed electrician. | |
| WARNING: To reduce the risk of fire, electric shock, or personal injury, mount to outlet box marked “Acceptable for fan support of 15.9 kg (35 lbs) or less”, and use the screws provided with the outlet box. | |
| WARNING: Electrical diagrams are for reference only. If you are using a light kit, refer to the light kit instruction manual o make the electrical connections. Optional use of any light kit shall be cUL-listed and marked suitable for use with this fan. | |
| WARNING: To reduce the risk of fire or electric shock, this fan should only be used with fan speed control part no. AP- RDL, manufactured by Dawnsun Electronic Co., LTD. | |
| WARNING: To reduce the risk of electric shock, this fan must be installed with an isolating wall switch. | |
![]() | CAUTION: To reduce the risk of personal injury, use only the screws provided with the outlet box. |
![]() | CAUTION: Do NOT use this fan with a dimmer switch or wall control. Using a dimmer switch or wall control will damage the fan. |
![]() | CAUTION: Changes or modifications not expressly approved by the party responsible for compliance could void the user’s authority to operate the equipment. |
This device complies with Industry Canada licence-exempt RSS standard(s). Operation is subject to the following two conditions:
- this device may not cause interference, and
- this device must accept any interference, including interference that may cause undesired operation of the device.
Warranty
The supplier warrants the fan motor to be free from defects in workmanship and material present at the time of shipment from the factory for a lifetime after the date of purchase by the original purchaser. The supplier warrants that the light kit, excluding any glass, be free from defects in workmanship and material at the time of shipment from the factory for a period of five years after the date of purchase by the original purchaser. The supplier also warrants that all other fan parts, excluding any glass or acrylic blades, be free from defects in workmanship and material at the time of shipment from the factory for a period of three years after the date of purchase by the original purchaser. We agree to correct such defects without charge or at our option replace them with a comparable or superior model if the product is returned. To obtain warranty service, you must present a copy of the receipt as proof of purchase. All costs of removing and reinstalling the product are your responsibility. Damage to any part, such as by accident, misuse, improper installation, or by affixing any accessories, is not covered by this warranty. Because of varying climatic conditions, this warranty does not cover any changes in brass finish, including rusting, pitting, corroding, tarnishing, or peeling. Brass finishes of this type give their longest useful life when protected from varying weather conditions. A certain amount of “wobble” is normal and should not be considered a defect. Servicing performed by unauthorized persons shall render the warranty invalid. There is no other express warranty. Interline hereby disclaims any and all warranties, including but not limited to those of merchantability and fitness for a particular purpose to the extent permitted by law. The duration of any implied warranty which cannot be disclaimed is limited to the time period as specified in the express warranty. Some states do not allow a limitation on how long an implied warranty lasts, so the above limitation may not apply to you. The retailer shall not be liable for incidental, consequential, or special damages arising out of or in connection with product use or performance except as may otherwise be accorded by law. Some states do not allow the exclusion of incidental or consequential damages, so the above exclusion or limitation may not apply to you. This warranty gives specific legal rights, and you may also have other rights which vary from state to state. This warranty supersedes all prior warranties. Shipping costs for any return of the product as part of a claim on the warranty must be paid by the customer. Contact the Customer Service Team at 1-855-HD-HAMPTON or visit www.homedepot.ca.
Pre-Installation
SPECIFICATIONS
| Size | Speed | Volts | Fan Power Consumption (without lights) WATT | Airflow CFM | Airflow Efficiency (Higher Is Better) CFM/WATT | Net Weight | Gross Weight | Cubic Feet |
| 54 in. | Low | 120 | 12 | 2797 | 233 | 8.4 kg (18.52 Ibs) | 9. 9.8 kg (21.6 Ibs) | 1.723 cu. ft. |
| Medium | 30 | 4504 | 150 | |||||
| High | 58 | 6247 | 107 |
NOTE: These are approximate measures. They do not include the Amps and Wattage used by the light kit.![]()
TOOLS REQUIRED
| Phillips screwdriver | |
| Flathead screwdriver | |
| Step ladder | Adjustable wrench |
![]() | Electrical tape |
| Wire cutter/ stripper | |
![]() | Step ladder |
HOMEDEPOT.CA
Please contact 1-855-HD-HAMPTON for further assistance.
HARDWARE INCLUDED
NOTE: Hardware not shown to actual size.
| Part | Description | Quantity |
| AA | The plastic wire connecting nuts | 3 |
| BB | Hanger pin | 1 |
| CC | Locking pin | 1 |
| DD | Extra mounting screws for outlet box | 2 |
PACKAGE CONTENTS
| Part | Description | Quantity |
| A | Slide-on mounting bracket | 1 |
| B | Ball/downrod assembly | 1 |
| C | Canopy | 1 |
| D | Decorative motor collar cover | 1 |
| E | Fan-motor assembly | 1 |
| F | Blade | 5 |
| G | Light kit assembly | 1 |
| H | Receiver | 1 |
| I | Remote control | 1 |
| J | Extension lead wire | 1 |
| K | Battery | 1 |
IMPORTANT: This product and/or components are governed by one or more of the following U.S. Patents: 5,947,436; 5,988,580; 6,010,110; 6,046,416; 6,210,117 and other patents pending.
Installation
MOUNTING OPTIONS
WARNING: To reduce the risk of fire, electric shock or personal injury, mount to outlet box marked “Acceptable for fan support of 15.9 kg (35 lbs) or less”, and use screws provided with the outlet box. An outlet box commonly used for the support of lighting fixtures may not be acceptable for fan support and may need to be replaced.
If in doubt, consult a qualified electrician.
If your ceiling fan does not have an existing cUL-listed mounting box, then install one using the following instructions:
- Disconnect the power by removing the fuses or turning off the circuit breakers.
- Secure the outlet box directly to the building structure. Use the appropriate fasteners and materials. The outlet box and support structure must be securely mounted and capable of reliably supporting a minimum of 15.9 kg (35 lbs). Use only cUL-listed outlet boxes marked “Acceptable for fan support of 15.9 kg (35 lbs) or less.” Do not use a plastic outlet box. The illustrations below show three different ways to mount the outlet box.

NOTE: You may need a longer downrod to maintain proper blade clearance when installing on a steep, sloped ceiling. The maximum angle allowable is 30° away from horizontal.
If the canopy touches the download, then remove the decorative canopy bottom cover, and turn the canopy 180° before attaching the canopy to the mounting plate.
To hang your fan where there is an existing fixture but no ceiling joist, you may need an installation hanger bar as shown above (available at any Home Depot store).
Assembly – Standard Ceiling Mount
Preparing for mounting
- Remove the canopy ring (FF) from the canopy (C) by turning the ring counterclockwise until it unlocks.
- Remove the mounting bracket (A) from the canopy (C) by loosening the two canopy screws (II) located in the “L-shaped” slots.
- Remove and save the two canopy screws (HH) in the round holes. This will enable you to remove the mounting bracket (A).

Routing the wires
- Route the wires exiting the top of the fan motor assembly (E) through the center of the canopy ring (FF). Make sure the slots on the canopy ring (FF) are on top.
- Insert the ball/download (B) through the canopy (C) and slide the decorative motor collar cover (D) onto the end of the ball/ download (B). Make sure the slots on the canopy (C) are on top.
- Route the wires exiting the top of the fan motor assembly (E) through the download (B) as shown.

Assembling the fan
WARNING: Failure to properly install the locking pin (CC) could result in the fan becoming loose and possibly falling.
CAUTION: To ensure the wobble-free operation and to avoid damage to the fan, the download (B) and the setscrew (JJ) must be completely tightened.
- Loosen, but do not remove, the setscrews (JJ) on the collar on top of the fan-motor assembly (E).
- Align the holes at the bottom of the ball/downrod assembly (B) with the holes in the collar on top of the fan-motor assembly (E).
- Carefully insert the hanger pin (BB) through the holes in the collar and ball/downrod assembly (B). Be careful not to jam the hanger pin (BB) against the wiring inside the ball/ downrod assembly (B).
- Insert the locking pin (CC) through the hole near the end of the hanger pin (BB) until it snaps into its locked position.
- Re-tighten the set screws (JJ) on the collar on top of the fan-motor assembly (E).

Assembly – Hanging the Fan
Attaching the fan to the electrical box
WARNING: To reduce the risk of fire, electric shock, or personal injury, mount to an outlet box marked “Acceptable for fan support of 15.9 kg (35 lbs) or less”, and use the screws provided with the outlet box.
NOTE: The mounting bracket (A) is designed to slide into place on an outlet box with the outlet box screws (TT) installed.
- Loosen the two mounting screws (TT) in the outlet box.
- Pass the 120-Volt supply wires through the center hole in the mounting bracket (A).
- Slide the mounting bracket (A) onto the mounting screws (TT) and center the mounting bracket (A) in relation to the outlet box.
If necessary, use leveling washers (not included) between the slide-on mounting bracket (A) and the outlet box. The flat side of the slide-on mounting bracket (A) should face toward the outlet box, as shown. - Securely tighten the two mounting screws (TT).

Hanging the fan
- Carefully lift the fan-motor assembly (E) up to the slide-on mounting bracket (A).
- Insert the ball portion of the ball/downrod assembly into the socket of the slide-on mounting bracket (A).
- Turn the ball/download (B) assembly clockwise until it is seated with the tab of the slide-on mounting bracket (A) aligned with the slot in the ball.

Connecting the safety cable
- Turn the wood screw (KK) (not provided) into the ceiling.
- Place the looped end of the safety cable (S) onto the wood screw and then tighten the screw firmly, or connect the safety cable directly to the outer joist.
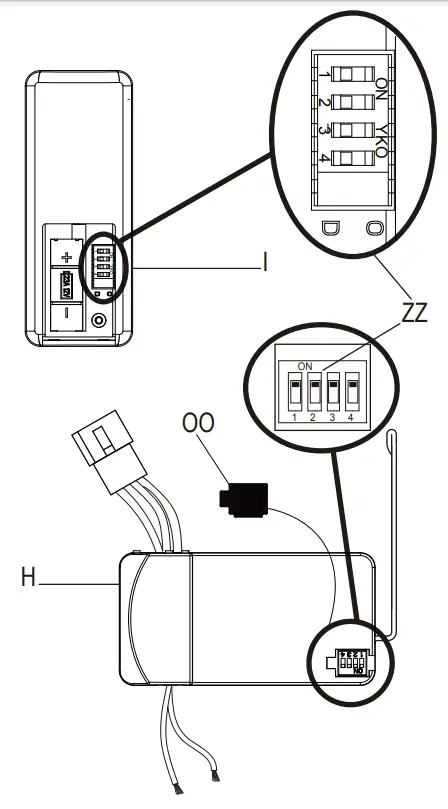
Setting the code on the remote control and receiver
NOTE: The frequencies on your receiver and hand unit have been preset at the factory. Before installing the receiver, make sure the dip switches on the receiver and hand unit are set to the same frequency. The dip switches on the hand unit are located inside the battery compartment.
NOTE: The battery will weaken with age and should be replaced before leaking takes place. Leakage will damage the hand unit. Dispose of the used battery properly and keep
the battery out of the reach of children.
- Remove the remote control (I) battery cover by pressing firmly on the arrow and sliding the cover off.
- Slide the dip switches (ZZ) to your choice of either up or down. The factory setting is up.
- Slide the dip switches (ZZ) on the receiver (H) to the same position as set on the remote control (I).
- Install the A23 12V battery (K).
- Replace the battery cover on the remote control (I).
- Insert the silicone rubber stopper (OO) into the hole on the receiver (H) to cover the dip switches.

Installing the receiver
WARNING: To reduce the risk of fire or electricity shocremember to disconnect the power. The electrical wiring must meet all local and national electrical code requirements. electrical source and fan must be 110/120 volt, 60Hz. Do not use this product in conjunction with any variable wall control. An incorrect wire connection can damage this receiver.
CAUTION: If other fan wires are a different color, haunt installed by a licensed electrician.
CAUTION: Do not install the receiver in a damp location or immerse in water (for indoor use only). Do not pull on or cut the receiver leads shorter. Do not drop or bump the unit.
- Position the house supply wires (AAA) to one side of the slide-on mounting bracket (A); position the fan wires (BBB)to the opposite side.
- Insert the narrow end of the receiver (H) (as shown, flat side towards the ceiling) into the slide-on mounting bracket, untilit rests on top of the ball/downrod assembly.

The receiver (H) is correctly positioned in the mounting bracket.
Wiring the receiver to the household wiring
WARNING: To avoid possible electrical shock, turn the electricity off at the main fuse box before wiring. If you feel you do not have enough electrical wiring knowledge
or experience, contact a licensed electrician.
WARNING: Each wire nut supplied with this fan is designed to accept up to one 12-gauge house wire and two wires from the fan. If you have larger than 12-gauge house wiring or more than one house wire to connect to the fan wiring, consult an electrician for the proper size wire nuts to use.
IMPORTANT: Use the wire connecting nuts (AA) supplied with your fan. Secure the connectors with electrical tape and ensure there are no loose strands or connections.
- Spread the wires apart so that the green and white wires are on one side of the outlet box and the black wire is on the other side.
- Connect the green fan wires to the household ground wire (this may be a green or bare wire) using a wire connecting nut (AA).
- Connect the receiver (H) black or red wire to the household black (hot) wire using a wire connecting nut (AA).
- Connect the receiver (H) white wire to the household white wire (neutral) using a wire connecting nut (AA).
- Secure each wire connecting the nut using electrical tape.

Wiring the fan to the receiver
NOTE: The fan comes with 12-in. lead wires for use with the provided 6-in. ball/downrod assembly (B). If you wish to use a longer download, you can use the extension lead wire (42 in.) (J) provided.
- If using the 6-in. ball/downrod assembly (B) provided, wire the receiver to the fan wires by connecting the molded adaptor plug from the receiver (H) with the molded adaptor of the fan motor assembly (E) together.
- If you wish to use a longer downrod, you can use the extension lead wire (42 in.) (J) provided by connecting the molded adaptor together.

Mounting the fan-motor assembly (standard mount)
- Align the locking slots of the canopy (C) with the two screws (II) in the mounting bracket (A). Push up to engage the slots and turn clockwise to lock them in place.
- Firmly tighten the two mounting screws (II).
- Install the two canopy screws (HH) (saved from Assembly Step 1 “Preparing for mounting”) into the holes in the canopy (C) and tighten them firmly.
- Install the decorative canopy ring (FF) by aligning the ring’s slots with the screws in the canopy (C). Rotate the ring clockwise to lock it in place.

Assembly – Attaching the Fan Blade
Attaching the blade to the motor
- Attach a blade (F) to the fan motor housing (E) by inserting the blade (F) into the slot in the side of the fan motor housing (E) until it stops. The locking clip (LL) will click when the blade is correctly installed. Ensure the blade is snapped into the locking clip (LL) completely by pulling the fan blade away from the motor housing.
- Repeat these steps for the remaining blades (F).

Removing the blade from the motor
- To remove the blade (F) from the motor housing (E), squeeze the tabs of the locking clip (LL) towards each other and pull the fan blade away from the motor housing.
- Repeat these steps for the remaining blades (F).
Assembly – Attaching the Accessories
Attaching the light kit fitter assembly
- Connect the wires from the light kit assembly (G) to the wires from the fan motor assembly (E) by connecting the molded adaptor plugs together. Carefully tuck all wires and splices into the switch cup and connect the safety cable (SS) from the light kit assembly (G) to the hook from the motor assembly (E).
- Push the light kit assembly (G) up to the motor assembly (E) by aligning the magnet part of the motor assembly (E) until it

Operating Your Fan and Remote Control
Remote Control – Your fan is equipped with a remote control to operate the speed and lights of your new ceiling fan. Speed setting for warm or cool weather depends on factors such as room size, ceiling height, number of fans, and so on. The fan is shipped from the factory with the reversing switch (YY) positioned to circulate air downward. If the airflow is desired in the opposite direction, turn your fan off and wait for the blades to stop turning. Then slide the reversing switch (located on the top of the motor housing) to the opposite position and turn the fan on again. The fan blades will turn in the opposite direction and reverse airflow. Warm weather – (Forward) A downward airflow creates a cooling effect. This allows you to set your air conditioner in a higher setting without affecting your comfort.
Cool-weather – (Reverse) An upward airflow moves warm air off of the ceiling. This allows you to set your heating unit in a lower setting without affecting your comfort.
Power ON/OFF: Press and release the power button to turn the fan and light on or off.
Fan speed: LEDs on the fan speed button illuminate to the corresponding speed.
Press and release 1 time: turns the fan on high speed.
Press and release 2 times: turns the fan on to medium speed.
Press and release 3 times: turns the fan on at low speed.
Press and release 4 times: turns the fan off.
Light ON/OFF:
Press and release the button to turn the light on or off.
Press and hold the button to activate the dimmer function.
Correlated Color Temperature (CCT) changing:
NOTE: The default temperature of the ceiling fan light is 3000k (Soft White).
Push and release the button to cycle through the three color temperature options.
Option 1: 2700K (Warm White).
Option 2: 3000K (Soft White).
Option 3: 5000K (Daylight).
Care and Cleaning
WARNING: Make sure the power is off before cleaning your fan.
- Because of the fan’s natural movement, some connections may become loose. Check the support connections, brackets, and blade attachments twice a year. Make sure they are secure. It is not necessary to remove the fan from the ceiling.
- Clean your fan periodically to help maintain its new appearance over the years. Do not use water when cleaning, as this could damage the motor or the wood, or possibly cause an electrical shock. Use only a soft brush or lint-free cloth to avoid scratching the finish.
- You can apply a light coat of furniture polish to the wood for additional protection and enhanced beauty. Cover small scratches with a light application of shoe polish.
- You do not need to oil your fan. The motor has permanently-lubricated sealed ball bearings.
- To remove the blade from the motor housing, squeeze the tabs of the locking clip towards each other and pull the fan blade away from the motor housing (refer to page 11).
Troubleshooting
| Problem | Solution |
| The fan will not start. |
|
| The fan is noisy. |
|
| The fan wobbles. |
|
Questions, problems, missing parts? Before returning to the store, call Hampton Bay Customer Service
8 a.m. – 7 p.m., EST, Monday – Friday, 9 a.m. – 6 p.m., EST, Saturday
1-855-HD-HAMPTON
HOMEDEPOT.CA
Retain this manual for future use.



















