BOBRICK B-9100 PureDri Surface-Mounted Automatic Hand Dryer and Air, Hand Sanitizer

Product Information
The B-9100 PureDri Surface-Mounted Automatic Hand Dryer and Air/Hand Sanitizer is an electric hand dryer and sanitizer designed for use in household environments by non-expert users. It is not suitable for outdoor use. The appliance can be used by children aged 8 years and above, and persons with reduced physical, sensory, or mental capabilities or lack of experience and knowledge if they have been given supervision or instruction concerning the safe use of the appliance. The unit is intended for connection to fixed wiring and must be installed by a qualified licensed electrician in accordance with local codes and regulations.
IMPORTANT SAFETY INSTRUCTIONS
READ AND FOLLOW ALL INSTRUCTIONS
- Electric Hand Dryer and Hand/Air Sanitizer intended for use in a household environment by non-expert users. Not suitable for outdoor use.
- This appliance can be used by children aged from 8 years and above and persons with reduced physical, sensory or mental capabilities or lack of experience and knowledge if they have been given supervision or instruction concerning use of the appliance in a safe way and understand the hazards involved. Children shall not play with the appliance. Cleaning and user maintenance shall not be made by children without supervision.
- This appliance is intended for connection to fixed wiring. A fused means for disconnection in all poles must be provided in the fixed wiring in accordance with the wiring rules. Check that the electrical rating shown on the Hand Dryer and Hand/Air Sanitizer (rating label) is compatible with the electrical supply.
- WARNING: THIS PRODUCT MUST BE EARTHED. Electrical installation and repair should be carried out by a qualified electrician in accordance with local codes and regulations.
SAVE THESE INSTRUCTIONS
Electrical Characteristics
The electrical rating shown on the hand dryer and sanitizer (rating label) must be compatible with the electrical supply. The product must be earthed, and electrical installation and repair should be carried out by a qualified electrician in accordance with local codes and regulations.
Universal Voltage: 110V–240V, 50/60 Hz, 200 Watts, cULus Listed and CE marked.
Recommended Mounting Heights
Recommended mounting height of bottom air-outlet is 40″ (1015mm) above finished floor.
Opening the Door
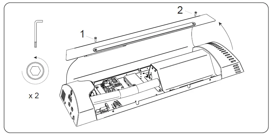
- Start installation of unit by opening the door. To open the door, insert Allen wrench (provided with unit) into the two screws on the door’s right side until they are completely loose.

Installation of Mounting Base
Note: For proper electrical connections, check local building codes. The unit must be installed by a qualified licensed electrician.
- Hold the Installation Template against the wall in the desired location of the installed unit. Recommended mounting height of the bottom of air-outlet is 40″ (1015mm) above finished floor.

- Make sure line on template representing bottom of unit mounting base is horizontal and located at the desired height above floor.

NOTE: Surface-mounted electrical supply entry is located in the lower right corner of the mounting base. Surfacemounted supply cable should be fitted in a conduit. - For brick, stone and concrete walls, drill four 0.315″ (8mm) holes to suit provided wall plugs 0.315″ x 1-1/4″ (8 x 45mm) and screws #10 x 2″ (4.8 x 50mm) long. See template for wall plug and screw installation details. For plaster or dry wall construction, provide concealed backing to comply with local building codes and secure with four #10 (4.8) round-head sheet-metal screws or 3/16″ (5mm) toggle bolts (not furnished).

- Fasten mounting base securely to wall.

WARNING: TURN ELECTRICAL POWER SUPPLY OFF BEFORE MAKING ELECTRICAL CONNECTIONS. UNIT MUST BE GROUNDED (EARTHED).
Electrical Connection
WARNING: TURN ELECTRICAL POWER SUPPLY OFF BEFORE MAKING ELECTRICAL CONNECTION.
FOR PROPER ELECTRICAL CONNECTIONS, CHECK LOCAL BUILDING CODE. UNIT MUST BE INSTALLED BY A QUALIFIED LICENSED ELECTRICIAN
- This appliance is intended for connection to fixed wiring. A fused means for disconnection in all poles must be provided in the fixed wiring in accordance with the wiring rules.
- Check that the electrical rating shown on the Hand Dryer (rating label) is compatible with the electrical supply.
WARNING: THIS PRODUCT MUST BE EARTHED. - Electrical installation and repair should be carried out by a qualified electrician in accordance with local codes and regulations.
- Maximum overall dimension of supply cable must be 9/16″ (14mm) diameter.
- Connect the ground / earth supply to the terminal marked,(
) the Live supply to the terminal marked (L) and the Neutral supply to the terminal marked (N).
Check Unit’s Operation
- Turn electrical power supply on. Position hands under nozzle and unit should turn on for 20 seconds (+6 seconds).

Maintenance
Prior to carrying out any maintenance, ensure that the electrical supply has been disconnected. The cover should be wiped occasionally with a damp cloth to remove surface marks. Every six months (more frequently in a dusty environment) the inlet and outlet grilles should be cleaned with a small brush to remove accumulated debris. If a fault develops disconnect the electrical supply, a qualified electrician should be called.
WARNING: This appliance contains a UV emitter. Do not stare at the light source produced by the lamp in this apparatus. Prior to carrying out any maintenance or bulb replacement, ensure the electrical supply has been disconnected. Always replace the lamp with bulbs provided by the original manufacturer. Unintended use of the appliance or damage to the housing may result in the escape of dangerous UV-C radiation. UV-C radiation may, even in little doses, cause harm to the eyes and skin. PureDri Hand Dryer and Air/Hand Sanitizer that are obviously damaged must not be operated. Replacement of the UV-C bulb by the user is not allowed.
Warranty
- Installation Date: _ ____________________________________________________________________________________________
- Serial No(s).:__________________________________________________________________________________________________
- Installation Address:___________________________________________________________________________________________
- Telephone No.:________________________________________________________________________________________________
The Bobrick PureDri Hand Dryer and Air/Hand Sanitizer of the serial number(s) indicated herein, and all parts are warranted to the original owner of the installed unit for B-9100 five years from date of original purchase for PureDri Hand Dryer and Air/Hand Sanitizer, against defects in factory workmanship or material under normal use and service.* This warranty is limited to repair or exchange of defective parts at the option of Bobrick Washroom Equipment, Inc.
THIS WARRANTY DOES NOT COVER ACCIDENTAL DAMAGE, IMPROPER HANDLING OR INSTALLATION, OR REPAIRS MADE BY UNAUTHORIZED PERSONS, AND SPECIFICALLY EXCLUDES CLAIMS FOR INDIRECT, ACCIDENTAL OR CONSEQUENTIAL DAMAGES TO PROPERTY. THE IMPLIED WARRANTIES OF MERCHANTABILITY AND FITNESS FOR A PARTICULAR PURPOSE ARE LIMITED TO THE SAME DURATION OF THE ABOVE WARRANTY.
Some states do not allow the exclusion of incidental or consequential damages, so the above limitation or exclusion may not apply to you. Some states do not allow limitations on how long an implied warranty lasts, so the above limitation may not apply to you. This warranty gives you specific legal rights, and you may also have other rights which vary from state to state.
* Normal service constitutes performing the following preventive maintenance procedures at six-month intervals. Remove cover and clean any lint, dust or grease from air-intake grille and baffle from behind air-outlet nozzle. Labor costs for preventive maintenance shall be at owner’s expense. For repair or exchange of defective part, send the part, together with installation date and serial number, to BOBRICK.
In the United States: BOBRICK WASHROOM EQUIPMENT, INC.
200 Commerce Drive, Clifton Park, NY 12065-1350, Tel : 518.877.7444 • FAX : 518.877.5029
6901 Tujunga Avenue, North Hollywood, CA 91605-6213,
Tel: 818.982.9600,
FAX: 818.503.9287
e-mail: [email protected]
In Canada : BOBRICK WASHROOM EQUIPMENT COMPANY
45 Rolark Drive, Scarborough, Ontario M1R 3B1
Eastern Canada Tel : 877.423.6555 • FAX : 423.765.8555
Western Canada:
Tel: 877.423.6444
FAX: 423.503.8444
e-mail: [email protected]
International
BOBRICK WASHROOM EQUIPMENT, INC. 6901 Tujunga Avenue, North Hollywood, CA 91605-6213 : (818) 764-1000, FAX: (818) 503-994
email: [email protected]
BOBRICK WASHROOM EQUIPMENT Pty, Ltd. Australia 1.800.353158, FAX: 1.800.221926
email: [email protected]
BOBRICK WASHROOM EQUIPMENT Limited United Kingdom +44 (0)20 8366 1771, FAX: +44 (0)20 8363 5794
email: [email protected]























