SASO PB200L Digital photoelectric beam detector Instruction Manual
We appreciate tour purchase of our photoelectric beam detector. This detector will provide long and dependable service when properly installed. Please read this instruction manual carefully for correct and effective use.
Description

Cautions on Installation
- Avoid strong light from sun, auto-mobile head-lights etc. shining on transmitter or receiver

- Do not install in a site where beam may be interrupted by trees or plants, consider seasonal changes.

- Do not install in places where units may be splashed continuously by dirty water or direct sea spray.

- Do not install the unit on unsteady surfaces.

Installation
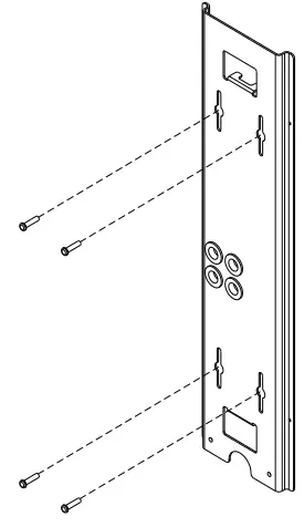
Wall mount
- Remove cover from unit by unscrewing bolts

- Put the plate against wall and secure the plate with 4mm screws.

- Pull wires through the holes on the rear as the figure, connect wires to terminal, attach the unit to the mounting plate, and screw it

- After wiring is completed, adjust alignment, check operation, and attach cover.

Pole mount (Pole size : Φ38 ~ Φ44mm)
- Remove cover from unit by unscrewing bolts
- Attach pole brackets to pole and secure to mounting plate with screws.
- Attach the unit to the mounting plate
- Pull through wire.
- Connect terminals.
- After wiring is completed, adjust alignment, check operation, and attach cover.

Quad Synchronized Pulse Beams

- In order for an alarm to be activated, both beams on upper or lower pairs should be blocked at response time of 700ms.
- When only one beam is blocked, alarm will not be activated.
- When all 4 beams are blocked at response time of 50ms ~ 700ms, alarm will be activated.
- This is to prevent a false alarm when leaves, a small bird, or any objects block one beam.
Response Time
Response Time Adjustment

- Sprint (6.9m/s) – 50msec.

- Quick Walk(1.2m/s) – 200msec.

- Normal Walk (0.7m/s) – 300msec.

- Slow Walk(0.5m/s) – 500msec.

- Climbing Wall (0.3m/s) – 700msec.

Range of Beam Coverage

| MODEL | L | A |
| SASO-PB200L | 100m | 3m |
| 200m | 6m |
Mounting Height
Heights of Installation
Using pole brackets, install the detector at a height of 80~100cm from the ground for optimal detection of intruder.

Installation Examples

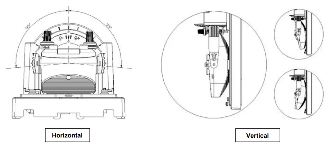
Optical Alignment
Read voltage from monitor jack with volt-meter(digital) to confirm optical alignment until the voltage reaches the highest level (3.5~4.0V).
- Supply power with cover detached. Align Transmitter and Receiver to face each other using angle adjustment.

- Horizontal angle can be adjusted within the range of 0 ° to ±90 ° One click of movement changes the angle by 3°
- After the first approximate alignment, use the view finder and adjustment bolts for more accurate alignment
- Look through the view finder on either side, and line-up optics horizontally and vertically by rotating the adjustment bolt, until the opposite unit appears in the center of the view finder.
- Perform the alignment process for both upper and lower optical units of the transmitter and receiver

- To confirm the correct alignment, insert a tester in a monitor jack and check monitor output voltage. Continue aligning using the above method until the voltage reading on the tester reaches above 3.5V.

Channel Setting
- Selectable 4 channels prevents mutual interference between sets, allowing multiple application of the beams.
- Make sure to set the transmitter and receiver to the same channel.

| CH | Setting |
1 | ![]() |
2 | ![]() |
3 | ![]() |
4 | ![]() |
- DOUBLE LEVEL DETECTION

- STRAIGHT LINE DETECTION

- DOUBLE LEVEL STRAIGHT LINE DETECTION

CH1 beam that the transmitter (upper TX) generates will not be recognized by the receiver set with CH2 (lower RX).
Terminal Arrangement

Receiver | ||
| No | Terminal Configuration | |
| 1 | VCC | |
| 2 | GND | |
| 3 | ALARM | COM |
| 4 | NC | |
| 5 | NO | |
| 6 | ENVIR. DQ | COM |
| 7 | NC | |
| 8 | NO | |
| 9 | TAMPER | |
| 10 | ||
| 11 | SPARE | |

Transmitter | |
| No | Terminal Configuration |
| 1 | VCC |
| 2 | GND |
| 3 | TAMPER |
| 4 | |
Wiring distance
| Wiring size /Voltage | DC 12V |
| AWG 22(Dia 0.65mm) | 145m |
| AWG 20(Dia 0.8mm) | 225m |
| AWG 18(Dia 1.0mm) | 350m |
| AWG 16(Dia 1.1mm) | 500m |
Connection

- Maximum wiring distance when two or more sets are connected is the value above divided by the number of sets.
- The signal line can be wired to distance of up to 1,000m with AWG22 telephone line.
Environmental Disqualification Output

ENVIRONMENT DISQUALIFICATION
Environmental output activate d when beam strength is below acceptable level over 4 0 seconds
- When beam strength continues to be below 1.0V for more than 40 seconds by various of reasons, the environmental output will be activated, providing a notice that there have been impairments to the unit.
- For example, when the alignment of the unit has been tilted by animals, hurricane, or an object is blocking one of the beams, the receiver outputs an environmental output.
Alarm Memory Function

- When multiple sets of detectors are installed, alarm memory LED will blink for up to 24 hours, allowing users to check which set the alarm was activated.
- After checking which set the alarm was activated from, you can reset this function by 1) disable the function by selecting OFF on dip switch #2, 2) pressing tamper switch. The function will also be rest automatically 24 hours after the alarm.
Tone Indicator
This function aids installation by generating the different intervals of tones based on the strength of beam that the receiver receives. When the monitor jack voltage is above 3.0V, which is good enough strength, then the tone is continuous. The lower voltage, which means less strength, results in the shorter interval of the tones.

Beam Strength Selection
- 2 Different beam strength can be selectable based on desired detection distance.
- HIGH : For detection distance of 100m ~ 200m
- LOW : For detection distance of 0m~100m

Power Status Check
- This function gives a notification when the supply voltage is currently below 9.6V(+ 0.3V) by a blue LED.
- When the power check indicator is ON, please check the supply voltage immediately for the low voltage can affect the overall function of the unit.
- This function is only installed in the Transmitter.

Quad Tamper

- When all 4 tamper should be pushed for a proper tamper setting.
- When all 4 tampers are pushed, the cover is properly closed.
- All LED will be shut off when cover is properly closed for economical operation.
Anti-Insect / Rain Construction

- Rubber sealing in base, wire holes, and bracket bolt holes prevents any penetration of dust, insects, and/or rain.
Troubleshooting
| Trouble | Possible Cause | Possible Solution |
| Operation LED does not light | No power supply. | Turn on the power. |
| Bad wiring connection or broken wire, short | Check wiring. | |
| Alarm LED does not light when the beam is broken. | No power supply. | Turn on the power. |
| Bad wiring connection or broken wire, short. | Check wiring. | |
| Beam is reflected on another object and sent into the receiver. | Remove the reflecting object or change beam direction. | |
| Two beams aren’t broken simultaneously | Break 2 beams simultaneously. | |
| Alarm LED continues to light | Beam alignment is out. | Check and adjust again. |
| Shading object between Tx. and Rx. | Remove the shading object. | |
| Optics of units are soiled. | Clean the optics with a soft cloth. | |
| Improper channel. | Check channel. | |
| Intermittent alarms. | Bad wiring connection. | Check again. |
| Change of supply voltage. | Stabilize supply voltage. | |
| Shading object between Tr. and Re. | Remove the shading object. | |
| A large electric noise source, such as power machine, is located nearby Tx. and Rx. | Change the place for installation. | |
| Unstable installation of Tx. and Rx. | Stabilize. | |
| Soiled optics of Tx. and Rx. | Clean the optics with a soft cloth | |
| Improper alignment. | Check and adjust again. | |
| Small animals may pass through the 2 beams | Set the response time longer. |
Specifications
| Model | SASO-PB200L | |
| Detection system | Simultaneous breaking of 2 beams | |
| Infrared beam | Double modulation pulsed beams by LED | |
| Protection range | Indoor or Outdoor 200m | |
| Supply voltage | 9.6V ~ 30V DC (Polarity) | |
| Current | TX : 45mA / RX : 40mA | |
| Response time | 50 ~ 700 m/s | |
| LED | Transmitter | Green LED : Power On / Red LED : Power Status Check |
| Receiver | Green LED : Correct Setting / Red LED : Alarm Activated / Blue LED : Alarm Memory | |
| Alarm output | Dry contact relay output 1C Contact action : Interruption time & delay time(1~3 sec) Contact capacity : 30V(AC/DC) 1A or less | |
| Environment output | Dry contact relay output 1C Contact action : Interruption time & delay time(1~3 sec) Contact capacity : 30V(AC/DC) 1A or less | |
| Tamper output | Dry contact relay output from N/C (Receiver only) Contact action : Activated when cover is detached | |
| Temperature | -20℃ ~ 60℃ | |
| Beam adjustment | Horizontal : 190˚ (±95˚), Vertical : 20˚ (±10˚) | |
| Mounting position | Outdoor / Indoor | |
| Material | PC resin(Green) | |
| IP rating | IP 55 | |
| External dimensions | W113 x H460 x D122 (mm) | |
| Weight | Rx / Tx : 3.4kg | |
| Functions | Alarm Memory, Environmental Disqualification, Quad Tamper, Tone Indicator, Power Check. Etc. | |
| Option | Pole attachment(2pcs/set) | |
External Dimensions










































