Simplex 2098-9211 Photoelectric Detectors

GENERAL INFORMATION
Before installing there detectors, make a survey of the area to be covered in accordance with information provided in NFPA 72 E, Sections 4-1 through 4-6 (an overview of which is provided below). For specific applications, refer to Simplex publication “Common Code Requirements For Fire Alarm Systems” – Publication No. FA2-91-010. For additional information, refer to NFPA 72 E and the NEMA Guide For Proper Use of System Smoke Detectors.
SPECIAL CONSIDERATIONS
- Is there human occupancy?
- Contents to be protected.
- Type of construction and use.
- Burning characteristics of contents.
- Air movement – stratification.
- Deflections and obstructions.
- Height of ceilings.
- Surface conditions of ceilings.
- Type of ceiling construction.
- Total area.
- Vent locations – velocities – dilution.
APPLICATIONS
Each detector is capable of providing from 450 to 900 square feet (42 to 84 square meters) of coverage, depending on:
- Requirements of local codes.
- Results of engineering evaluation.
- Physical characteristics of protected area.
Examples:- Smooth, flat ceiling
- Detectors may be spaced 30 feet (9 meters) apart.
- Ceiling divided by beams of more than 18 in. (46 cm) depth
- At least one detector will be required in the space between every two beam.
- Ceiling divided by beams of more than 8 in. (20 cm) but less than 18 in. (46 cm) depth
- Reduce the coverage area for each detector, and mount the detector to the bottom of the beams.
Important
Smoke must enter the chamber of the detector. Thus, air flow, air stratification, air velocity, air stagnation, and air migration will affect detector efficiency. Therefore:
- Do not install detectors in areas where temperatures are likely to exceed 100° F (38°C) or fall below 32° F (0° C).
- Do not install detectors on a ceiling within 4 inches (1 0 cm) of a wall.
- Do not install detectors where forced air ventilation may dilute the smoke before it reaches the detector.
- Do not install detectors in areas where smoke is normally present (kitchens, furnace rooms, laundry rooms, loading docks, rooms with fireplaces, rooms with candles, soldering rooms, etc.).
- Do not install detectors in areas where there is likely to be steam (in hospital patient rooms with vaporizers, near shower rooms, above large sinks, etc.).
- Do not install detectors above ashtrays in elevator lobbies.
- Wall-mounted detectors should be located 4 to 12 inches (10-30.5 cm) from the ceiling to detector head.
- Protect all detector heads during construction to avoid infiltration of construction debris!
MAINTENANCE
The minimal requirement for detector maintenance should consist of cleaning surface dust by using a vacuum cleaner. Cleaning programs should comply with NFPA and local environments. Cleaning of the internal chamber should be done by Simplex technical representative only.
TEST EQUIPMENT AVAILABLE
- 2098-9822 (553-394) Extendable Smoke Generator
- 2098-9809 (553-533) Sensitivity Tester
- 2098-9814 (553-536) Test and Removal Tool (for use with 2098-9201, -9202, -9203, & -9576)
- 2098-9815 (553-553) Test and Removal Tool Holder (for use with 553-536 & 553-574)
- (553-574) Test and Removal Tool (for use with 2098-9208)
TESTING
Before testing, disconnect city, release devices, and extinguish systems. Notify all appropriate personnel of test. The preferred test is with smoke using a 553-394 Extendable Smoke Generator. If this method is not acceptable or practical, a functional test can be performed by using a Test and Removal Tool. To test the detector, place the test tool around the detector body. This will alarm the detector. To clear the detector, remove the test tool and reset the fire alarm panel. TABLE 1
| SPECIFICATIONS | SMOKE DETECTOR DATA | ||||
| Detector | 2098-9576 | 2098-9201 | 2098-9202 | 2098-9203 | t2098-9208 |
| Type of Detector | Ionization | Photoelectric | Photoelectric with Heat | Photoelectric | Photoelectric |
| Working Voltage (2-Wire) | 15-36.3 voe | 15-36.3 VDC | 15-36.3 voe | 15-36.3 voe | 15-32 voe |
| Rated Voltage (4-Wire) | 17.7-33.o voe | 17.7-33.o voe | 11.7-33.o voe | 17.7-33.o voe | 17.7-33.o voe |
| Voltage Waveform | Filtered DC * 18V Ripple Max. | Filtered DC* 18V Ripple Max. | Filtered DC * 18V Ripple Max. | Filtered DC* 18V Ripple Max. | Filtered DC t 18V Ripple Max. |
| Max. Alarm Current | 86mA | 86mA | 86 mA | 86mA | 86mA |
| Surge Current | 200uA | 200 uA | 200 uA | 200 uA | 200 uA |
| Standby Current | 40 uA | 40 uA | 40 uA | 40 uA | 50 uA |
| Heat Element Rating | NIA | NIA | 135 Degrees F | N/A | N/A |
| ** Compatibility Identifier | 2098-9576 | 2098-9201 | 2098-9202 | 2098-9203 | 2098-9208 |
| Test Procedure | Magnet or 553-536 | Magnet or 553-536 | Magnet or 553-536 | Magnet or 553-536 | Magnet or 553-574 |
| Max. Qty. Per Initiating Circuit | See Table 4 | See Table 4 | See Table 4 | See Table 4 | See Table 4 |
CAUTION: Do not use the 2098-9208 detector with the 2098-9734 power pack. The 2098-9208 does not
operate from a full wave, rectified (unfiltered) DC power source.
When using 2098-9536 four-wire base, full wave, rectified DC can be used.
Compatibility identifier is the PIO (model number) found on the panel or module and detector base. TABLE2
| BASE | BOX MOUNTING | ||
| 3 1/2″ OCTAGONAL | 4″ OCTAGONAL | 4″ SQUARE | |
| 2098-9211 | Yes | Yes | Yes |
| 2098-9637 | Yes | Yes | Yes |
| 2098-9536 | Yes | Yes | No |

TABLE3
| INITIATING CIRCUITS OR PANEL PIO (MODEL NO.) |
| 2120-7012 |
| 2120-7013 |
| 2120-7014 |
| 2120-7015 |
| 2120-7019 |
| 2120-7023 |
| 2120-7024 |
| 2120-7031 |
| 2120-7032 |
| 2120-7033 |
| 4002-5001 |
| 4002-5002 |
| 4002-5003 |
| 4002-5004 |
| 4020-0305 |
| 4020-7003 |
| 4100-5001 |
| 4100-5002 |
| 4100-5011 |
| 4100-5012 |
TABLE4
| DETECTOR HEADS | COMPATIBLE 2-W BASE | MAX.QTY.OF BASES PER INITIATING CIRCUIT |
| 2098-9211 or | 30 (SeeTable 3 and Note 5) | |
| 2098-9211 | ||
| 2098-9201, 2098-9202, 2098-9203, | with 2098-9738 or 2098-9827 | 1 (See Note 1) |
| 2098-9208, or | 2098-9637 | 30 (SeeTable 3 and Note 5) |
| 2098-9576 | or | |
| 2098-9637 | ||
| with | 1 | |
| 2098-9738 or | (See Note 1) | |
| 2098-9827 |
Notes
- Relay operation cannot be guaranteed unless it is the only device on that zone.
- Panel compatibility identification marker is the model number of the module or panel.
- Detector compatibility identification marker is the model number found on the detector label.
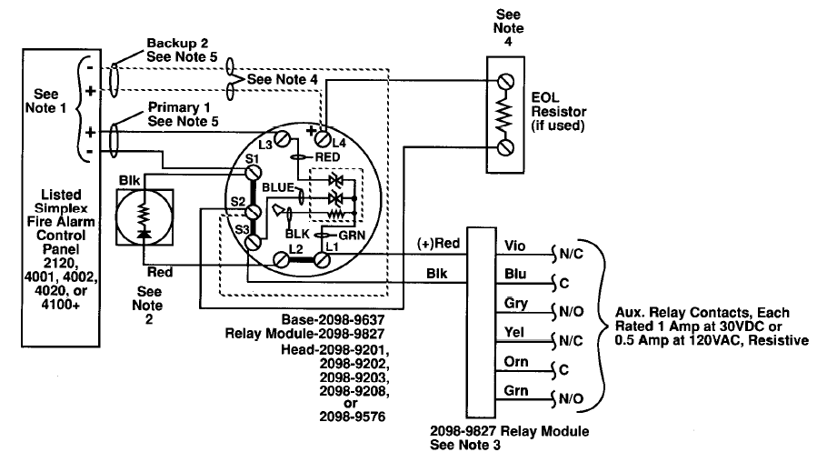
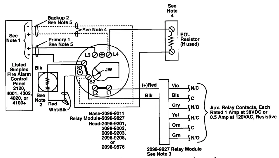
- For detailed interconnection data, see wiring diagrams in Document 841-687.
- Exceptions for the maximum quantity of 30 bases per initiating circuit are as follows:
Initiating Circuit Qty. of Bases
- 2120-0523 20
- 2120-0527 20
- 2120-7011 18
- 2120-7022 18
- 2120-7805 25
- 2120-7806 25
- 4001-9403 18
- 4001-9404 18
- 4001-9813 18
WARNING
Red-labeled detector heads MUST only be used with red-labeled bases. Use in any other base will result in a non-functioning detector. 
CAUTION
Install the bases in this instruction in accordance with applicable NFPA standards, local codes, and the authorities having jurisdiction. Failure to follow these instructions may result in failure of the detector to initiate an alarm condition. Simplex is not responsible for detectors that have been improperly installed, tested, or maintained.
CAUTION
CONNECT WIRING TO TERMINALS AS SHOWN. DO NOT LOOP WIRE UNDER TERMINALS. BREAK WIRE RUN TO PROVIDE SUPERVISION OF CONNECTIONS. 
Notes:
- Refer to wiring diagrams (841-687) provided with system panel for proper panel connections.
- If used, remote LED (2098-9808) is polarized; observe color-coded wiring. DO NOT USE RELAY if LED is used.
- DO NOT USE REMOTE LED when relay (2098-9737) is used.
- Aux. alarm contacts -form C-each rated 1A@ 24VDC or 115VAC, resistive.
- Aux. alarm contacts -two form C -each rated 3A@ 24VDC or 115VAC, resistive.
- Refer to wiring diagrams provided with system panel for proper end-of-line resistor value.

Notes:
- Refer to wiring diagrams (841-687) provided with system panel for proper panel connections.
- If used, remote LED (2098-9808) is polarized; observe color-coded wiring.
- It is recommended that the primary-1 and the backup-2 lines be in separate wire runs and in compliance with local requirements.

Notes:
- Refer to wiring diagrams (841-687) provided with system panel for proper panel connections.
- If used, remote LED (2098-9808) is polarized; observe color-coded wiring.
- Refer to wiring diagrams provided with system panel for proper end-of-line resistor value.
2098-9637 BASE CONNECTIONS FOR STYLE B (FORMERLY CLASS 8) INITIATE CIRCUIT 
Notes:
- Refer to wiring diagrams (841-687) provided with system panel for proper panel connections.
- If used, remote LED (2098-9808) is polarized; observe color-coded wiring.
- When wiring relay to base, remove resistor (black wire) from base terminal S3. Wire only one base/relay per initiate circuit.
- For Style D (formerly Class A) initiate circuit, wire per dotted lines and do not use EOL resistor. If Style B (formerly Class
B) initiate circuit, refer to wiring diagrams provided with system panel for proper EOL resistor value. - For Style D (formerly Class A) wiring, it is recommended that the primary-1 and the backup-2 lines be in separate wire runs and in compliance with local requirements.

Notes:
- Refer to wiring diagrams (841-687) provided with system panel for proper panel connections.
- 2. If used, remote LED (2098-9808) is polarized; observe color-coded wiring.
3. When wiring relay to base, cut JW. Wire only one base/relay per initiate circuit.
4. For Style D (formerly Class A) initiate circuit, wire per dotted lines and do not use EOL resistor. If Style B (formerly Class
B) initiate circuit, refer to wiring diagrams provided with system panel for proper EOL resistor value.
5. For Style D (formerly Class A) wiring, it is recommended that the primary-1 and the backup-2 lines be in separate wire runs and in compliance with local requirements.
Notes:
- Refer to wiring diagrams (841-687) provided with system panel for proper panel connections.
- If used, remote LED (2098-9808) is polarized; observe color-coded wiring.
- It is recommended that the primary-1 and the backup-2 lines be in separate wire runs and in compliance with local requirements.

Notes:
- Refer to wiring diagrams (841-687) provided with system panel for proper panel connections.
- If used, remote LED (2098-9808) is polarized; observe color-coded wiring.
- Refer to wiring diagrams provided with system panel for proper end-of-line resistor value.

Notes:
- Refer to wiring diagrams (841-687) provided with system panel for proper panel connections.
- If used, remote LED (2098-9808) is polarized; observe color-coded wiring.
- When wiring relay to base, remove resistor (black wire) from base terminal S3. Wire only one base/relay per initiate circuit.
- For Style D (formerly Class A) initiate circuit. wire per dotted lines and do not use EOL resistor. If Style B (formerly Class B) initiates the circuit, refer to wiring diagrams provided with system panel for proper EOL resistor value.
- For Style D (formerly Class A) wiring, it is recommended that the primary-1 and the backup-2 lines be in separate wire runs and in compliance with local requirements.

Notes:
- Refer to wiring diagrams (841-687) provided with system panel for proper panel connections
- If used, remote LED (2098-9808) is polarized; observe color-coded wiring.
- When wiring relay to base, cut JW. Wire only one base/relay per initiate circuit.
- For Style D (formerly Class A) initiate circuit. wire per dotted lines and do not use EOL resistor. If Style B (formerly Class B) initiate circuit, refer to wiring diagrams provided with system panel for proper EOL resistor value.
- For Style D (formerly Class A) wiring, it is recommended that the primary-1 and the backup-2 lines be in separate wire runs and in compliance with local requirements.
LIMITATIONS OF SMOKE DETECTORS
The smoke detectors used with these bases are designed to activate and initiate emergency action, but will do so only when used in conjunction with other equipment. They are designed for installation in accordance with NFPA standards 72-1990 and 72E. Smoke detectors will not work without power. AC or DC powered smoke detectors will not work if the power supply is cut off for any reason.
Smoke detectors will not sense fires which start when smoke does not reach the detectors. Smoke from fires in chimneys, in walls, on roofs or on the other side of closed doors may not reach the smoke detector and alarm it. A detector may not detect a fire developing on another level of a building. For this reason, detectors should be located on every level of a building.
Smoke detectors have sensing limitations, too.
Ionization detectors are better at detecting fast, flaming fires than slow, smoldering fires. Photoelectric detectors sense smoldering fires better than flaming fires. Because fires develop in different ways, and are often unpredictable in their growth, neither type of detector is always best, and a given detector may not always provide warning of a fire. In general, detectors cannot be expected to provide warning for fires resulting from inadequate fire protection practices, violent explosions, escaping gases, improper storage of flammable liquids like cleaning solvents, other safety hazards, or arson.
Smoke detectors cannot last forever. Smoke detectors contain electronic parts. Even though detectors are made to last for many years, any of these parts could fail at any time. Therefore, test your smoke detector system per NFPA 72E & 72H at least semi-annually. Clean and take care of your smoke detectors regularly.






















