MTSIM Table Mount Keyboard Bridge Instrument Carrier

Product Information
The Table Mount Keyboard Bridge Instrument Carrier is a versatile instrument mounting solution designed to securely hold keyboards or other musical instruments on a table. It features a universal connector and profile nut for easy assembly and adjustment. The product comes with a hex key set with a ball head and extension required for assembly.
Product Usage Instructions
- Start by gathering all the necessary parts and tools:
- Table Mount Keyboard Bridge Instrument Carrier
- Hex key set with ball head and extension
- Slot nut M8
- Universal connector M8x30
- Bolts (M8x35 and M8x25)
- Profile cap assembly
- Bolt dimensions (M8x35, M8x25)
- M5 bolts
- Follow these steps for assembly:
- Attach the universal connector to the Table Mount Keyboard Bridge Instrument Carrier using the slot nut M8.
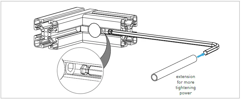
- Use the hex key set with the ball head and extension to tighten the universal connector.
- If needed, use the extension for more tightening power.
- Measure and select the appropriate bolt dimensions (M8x35 or M8x25) for your specific setup.
- Assemble the profile cap according to the provided dimensions.
- Attach the profile cap assembly to the Table Mount Keyboard Bridge Instrument Carrier.
- Secure the assembly using two M8x30 flat-head bolts.
- Attach the slot nuts and M5 bolts as needed for additional support.
- Ensure that all parts are securely tightened and properly assembled.
- Verify the stability and functionality of the Table Mount Keyboard Bridge Instrument Carrier before placing any instruments on it.
Please refer to the provided diagrams and dimensions in the user manual for a visual representation of the assembly process.
WARNING NOTICES:
Please read and follow all warning notices provided in the user manual to ensure safe usage of the Table Mount Keyboard Bridge Instrument Carrier.
GENERAL ASSEMBLY INFO AND HOW TO
PROFILE NUT

HEX KEY SET WITH BALL HEAD + EXTENSION OR SIMILAR REQUIRED

UNIVERSAL CONNECTOR

ALTERNATIVE


DIMENSIONS
BOLT DIMENSIONS AND HOW TO MEASURE THEM [mm]

PROFILE CAP ASSEMBLY

PARTS
[dimensions in mm/different scales] No extra or spare parts listed!
ASSEMBLY




WARNING NOTICES
- CAUTION! Do not clamp your fingers while attaching the table mount keyboard bridge.
- CAUTION! Check before usage if all screws are tightened.
- CAUTION! Check before usage that the mounting plate is screwed on tight after making height adjustments.
- DANGER: Contains small parts not suitable for children under 3 years.
Only suitable for children over 12 years and adults.
- All MTSIM products are hand-assembled and quality checked.
- The mount is designed for usage only with a computer controller (e.g. joystick or throttle).
- We exclude liability if the product is used for purposes other than intended.
MTSIM shall be liable for damage arising from causes other than the detriment to life, body, and health only to the extent that such damage arises from wilful misconduct, gross negligence or the culpable violation of a fundamental contractual obligation on the part of MTSIM or a vicarious agent (e.g. the delivery service) of MTSIM. Any further liability for damages shall be excluded.
If you have safety concerns or questions regarding assembly, contact us at [email protected] or visit www.mtsim.com/en/.












