
DG0JI220824029 Aluminum Frameless Surface Mount Soft Close
Medicine Cabinet with Mirror and LED Lighting
Instruction Manual
Thank you for buying this Mirror Trend product
products are crafted with superior quality standards and workmanship and engineered to stand the test of time. However, that does not mean the product can be neglected and will need some care and cleaning.
The best and safest cleaner for a mirror is warm water used with a soft, lint-free cloth. Wring all water from the cloth before wiping the mirror. Dry the mirror immediately with another dry lint-free cloth.
Don’t use acid or alkali cleaners. Either substance can attack the front surface and edges as well as the backing of the mirror. Abrasive cleaners should never be used on any mirror surface as these can scratch and damage the edge treatment.
Don’t spray the cleaner directly on the mirror. Always apply cleaner directly to a soft, lint-free cloth and then wipe the mirror. No preparatory cleaner should be in contact with the edges of the mirror as these can damage the edge treatment and cause water damage.
Don’t use commercial mirror cleaners that contain ammonia or vinegar.
Following these simple principles will ensure your
products will remain as lustrous and stunning as the day it was first received. ENJOY!
Sincerely,
Mirror Trend![]()

IMPORTANT SAFETY INSTRUCTIONS
When using electrical furnishing, basic precautions should always be followed, including the following
DANGER
READ AND FOLLOW ALL INSTRUCTIONS BEFORE USING THIS MIRROR
WARNING
To reduce the risk of burns, fire, electric shock or injury to persons. Use this furnishing only for its intended use as described in these instructions. Do not use attachments not recommended by the manufacturer. Never drop o insert any object into any opening. Do not use outdoors.
WARNING
Risk of electric shock. Connect this furnishing to a properly grounded circuit only. See Grounding instructions.
GROUNDING INSTRUCTIONS:
This product must be connected to a grounded metal, permanent wiring system, or an equipment-grounding conductor must be run with the circuit conductors and connected to the equipment-grounding terminal or lead on the product.
WARNING
An Electrical option cabinet must be wired to a 20 Amp GFI (Ground Fault Interrupter) protected circuit when used in bathrooms and all other locations required by the National Electric Code.
PLEASE SAVE THESE INSTRUCTIONS FOR FUTURE REFERENCE
TOOLS REQUIRED FOR ASSEMBLY

PARTS INCLUDED

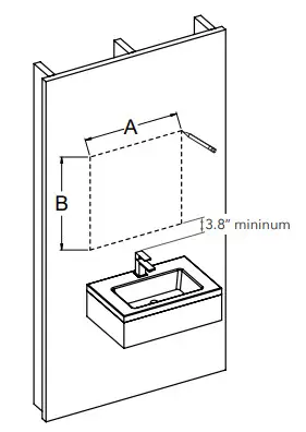
NOTE: Determine overall mirror dimensions before proceeding to installation.
*All dimensions & specifications are approximate and subject to change without notice.
ELECTRIC CONNECTIONS
ALL WIRING SHOULD BE DONE BY A QUALIFIED LICENCED ELECTRICIAN
WARNING: Shut off power before wiring the mirror.
WARNING: An Electrical option mirror must be wired to a 20 Amp GFI (Ground Fault Interrupter) protected circuit when used in bathrooms and all other locations required by the National Electric Code.
WARNING: This mirror must be connected to a grounded, metal permanent wiring system or an equipment-grounding conductor must be run with the circuit conductors and connected to the equipment grounding terminal or lead on the mirror.
CAUTION: Requires 120 VAC 20 Amp GFI protected circuit.

Electric wiring: Be sure to provide enough wire to make the proper and safe connection to the Field/Power.

MIRROR FEATURES
- 5mm copper free silver mirror
- High output LED lighting: CRI 90+, 2700-6500K CCT, IP44
- Color Temperature changing touch switch for surface LED
- Defogger
WALL HUNG INSTALLATION
PLACEMENT
Select the desired position of the cabinet.
Level and mark the location.

SUPPORT LOCATION
Measure the center of the holes and mark the drilling locations to ensure the marking are leveled.

INSTALL SCREWS
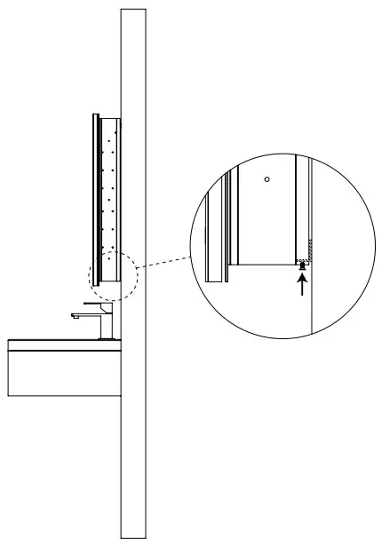
Using a drill, make holes and fill them with supplied plugs and screws. Leave a gap of 2 – 3mm between the head of the screw and the wall.

Using the two provided screws, install the bracket onto the bottom of the cabinet.

Hang the cabinet on the cleats and check the level, adjust horizontally to the desired location. (This may require two people)

Mark the location of the bottom bracket on the wall with a pencil.

Lift and remove the cabinet from the wall to reveal the pencil mark location of the bracket.

Uninstall the bracket from the mirror by removing the two screws previously installed during step 4.

Using the screw provided, mount the bracket to the wall at the marked pencil location. Do not over-tighten

Lift cabinet and carefully lower onto cleats and adjust horizontally.

Using the screws provided, align the lower bracket and attach to the cabinet.

Install side mirror.

Install clamps to hold the glass shelf, and install shelf.

Secure the position of the glass shelf.


- Move the door away/towards the cabinet.
This must be adjusted first to prevent scratching the surface of the aluminum cabinet. - Move door(s) up/down
- Move door(s) left/right
RECESS INSTALLATION
Measure the size of the cabinet mounted inside the wall.

Draw the dimension of the cabinet on the wall.

Dig out the mounting holes for installation of the mirror cabinet.

Cut the marked dimension with suitable tool.

Frame the opening for the cabinet based on the measurements.

Connect electrical wires before inserting the cabinet into the opening.

Position cabinet in cut out opening.

Be careful to avoid squeezing the wiring while inserting the cabinet.
Affix using hardware screws into the studs.

Install clamps to hold the glass shelf, and install shelf.

Secure the position of the glass shelf.


- Move the door away/towards the cabinet.
This must be adjusted first to prevent scratching the surface of the aluminum cabinet. - Move door(s) up/down
- Move door(s) left/right
FINAL ASSEMBLY
How to use Defogger Switch and Dimmer Switch:
Single button touch switch
Touch
to turn the task light and defogger on or off.
Press and hold
to change the color temperature of the task light.
Double buttons touch switch
Touch
to turn the task light on or off.
Touch
to turn the defogger on or off.
Press and hold
to change the color temperature of the task light.
Press and hold
to dim or brighten the task light.
3 buttons touch the switch
Touch
to turn the task light on or off.
Touch
to cycle color temperature.
Press and hold
to change the color temperature of the task light.
Touch
to turn the defogger on or off.
Press and hold
to dim or brighten the task light.


















