WELLFOR HW-HPY-61184 Surface Mount Bathroom Medicine Cabinet with Mirror
Safety and Care Advice
Important – Please read these instructions fully before starting assembly
- Check you have all the components and tools listed on page 2 and 3.
- Remove all fittings from the plastic bags and separate them into their groups.
- Keep children and animals away from the work area, small parts could choke if swallowed.
- Make sure you have enough space to layout the parts before starting.
- During assembly do not stand or put weight on the product, this could cause damage.
- Assemble the item as close to its final position (in the same room) as possible.
- Assemble on a soft level surface to avoid damaging the unit or your floor.
- Parts of the assembly will be easier with 2 people.
- We do not recommend the use of power drills/drivers for inserting screws, as this could damage the user. Only use hand screwdrivers
Care and maintenance
- Only clean using a damp cloth and mild detergent, do not use bleach or abrasive cleaners
- From time to time check that there are no loose screws on this unit.
- This product should not be discarded with household waste. Take it to your local authority waste disposal center
Handy Hints
- Assemble all parts and bolts loosely during assembly, only once the product is complete should you fully tighten the bolts
- Regularly check and ensure that all bolts and fittings are tightend properly
Note: if required the next page can be cut out and used as a reference throughout the assembly. Keep this page with these instructions for future reference.
Components – Panels
Please check you have all the panels listed below
Components – Fittings
If you have damaged or missing components, call the Customer Helpline: 0345 640 0800
Please check you have all the fittings listed below
Note: The quantities below are the correct amount to complete the assembly. In some cases more fittings may be supplied than are required
Tools required
Using Camlocks
Step 1
Connect the male cam lock as directed in the assembly instructions using a screwdriver.
Step 2
Insert the female cam lock as shown in the instructions.
Note: ensure that the arrow on the top of the cam lock points towards the entry hole for the male cam lock.
Step 3
Push the male camlock into the entry hole.
Step 4
Tum the female Camlock clockwise with a screwdriver.
You should feel a click when the cam lock is locked in place.
The joint is now secure.
Assembly Instructions
Step 1
Inserting Male Camlocks
- Insert 6 x Male Camlocks A to Panels .23 and 4
- Connect Magnetic Catch D to Top Panel |1] as shown using 2 x Screw E

Step 2
- Insert 4x Dowels C into the ends of Cross Bar 6
- Insert 4 x Dowels C)into the ends of the Shelf |5
- Connect Panels 5 and 6 to the Left Side panel |3.
- Locate Right Side Panel 4 onto Panels 5 and 6 as shown.
- Into the underside of Shelf 5 insert 2 x Female Camlocks
Use a screwdriver to turn the Female Camlocks Clockwise to lock
For more information refer to the Using Camlocks Section
Step 3
- Insert 8x Dowels C into the ends of Side Panels 3 and 4
- Locate Both Top and Bottom Panels 1 and 2] onto Side Panels |3 and 4
- Into Holes shown in Side Panels 3 J and 4 insert 4 X Female Camlocks B
Use a screwdriver to turn the Female Camlocks Clockwise to lock
For more information refer to the Using Camlocks Section
Step 4
- On the reverse of unit 9 using 14 x Screws K connect the Back Panel

Step 5
- To doors 7 and 8 connect 2 x Handles using 2 x Screw per handle
- Connect 2 x Catch Plates E to Doors 7] and 8 using 1 x Screw per Plate.
- Connect 4 x Hinges G to Doors[7Jand | 8 Juicing 2 x Screw& per Hinge
- Connect the Doors to the unit by attaching the hinges to Panels 3 and 4 as shown using 2x Screw 8 per Hinge

Step 6
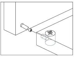
- To mount the unit to the wall 2 x holes will need to be drilled.
Note: Please refer to the wall mounting guide at the back of this instruction for further details.
Mark this distance on the wall in the desired position with a suitable scribe, Please use a spirit level to ensure that your marks are level before any holes are drilled.
Warning: Before driling.check wall for hidden pipes and cables. - Once 2 x holes have been drilled insert 2 x wall plugs into the wall.
- With the aid of someone else. Hold the unit in position and using 2x screws L attach the unit to the wall.

A Guide to Wall Mounting & Fixings
Important note:
If plastic wall plugs (rawl plugs) are supplied with your product, e.g.:
- these are only suitable for use in masonry walls.
- If you are in any doubt about the correct wall plugs for your wall, seek professional advice.
- Failure of the product due to using the incorrect fixings is the responsibility of the installer.
Important: when drilling into walls always check that there are no hidden wires or pipes etc.
Make sure that the screws and wall plugs being used are suitable for supporting your unit. Consult a qualified tradesperson if you are unsure.
Hints:
- General rule: & always use a larger screw and wall plug if you are not sure.
- Ensure you use the recommended drill bit to match the wall plug and hole size.
- Ensure you drill the hole horizontally; do not force the drill or enlarge the hole.
- Take extra care when drilling high walls, ceilings and ceramic tiles.
Ensure wall plugs are inserted beyond the thickness of the ceramic tiles to avoid the tiles splitting or cracking. - Ensure wall plugs are well fitted and are a tight fit in the drilled hole.
Types of walls
You can use one of the following types of wall plugs if your walls are made of brick, breeze block, concrete, stone or wood.
- “General Purpose” wall plug

Generally, aerated blocks should not be used to support heavy loads, use a specialist fitting in this case. For light loads, general-purpose wall plugs can be used. - “Plasterboard” wall plug

For use when attaching light loads onto plasterboard partitions - “Cavity Fixing” wall plug

For use with plasterboard partitions or hollow wooden doors - “Cavity Fixing – Heavy Duty” wall plug

For use when fitting or supporting heavy loads such as shelving, wall cabinets, and coat racks. - “Hammer Fixing” wall plug

For use with walls stuck with plasterboard. The hammer fixing allows it to be fixed to the wall rather than the plasterboard. Always check the fixing is secure to the retaining wall. - “Shield Anchor” wall plug – heavy loads
For use with heavier loads such as TV and HiFi speakers and satellite dishes etc.
Care & Maintainance
Safety: always check the fitting and location to ensure your safety in and around the home.
Fitting: from time to time check the fitting to ensure the wall plugs or screws do not become loose.
- Use a soft, clean cloth that will not scratch the surface when dusting.
- The use of furniture polish is not necessary.
- Should you choose to use polish, test first in an inconspicuous area.
- Using solvents of any kind on your furniture may damage the finish.
- Never use water to clean your furniture as it may cause damage to the finish.
- Liquid spills should be removed immediately. Using a soft clean cloth, blot the spill gently. Avoid rubbing.
- Check bolts/screws periodically and tighten them if necessary.
Further advice about wood furniture care
- It is best to keep your furniture in a climate-controlled environment.
- Extreme temperature and humidity changes can cause fading, warping, shrinking, and splitting of wood.
- It is advised to keep furniture away from direct sunlight as the sun may damage the finish.
- Proper care and cleaning at home will extend the life of your purchase.
- Following these important and helpful tips will enhance your furniture as it ages.













For use with heavier loads such as TV and HiFi speakers and satellite dishes etc.
















