
USER MANUAL
Thank you for choosing Better Bathrooms. Please read this manual before installing your product and keep for future reference.
Westbury 667mm Mirror Cabinet
BeBa_27048/BeBa_27049/BeBa_27050

All furniture must be installed in a room with good ventilation and must be wiped dry after every use to prolong the life of the product.
- Multi-person assembly
- We always recommend using professional tradespeople to install your product
Congratulations on your purchase
And welcome to our growing gang of savvy shoppers We’re on a mission to bring you extraordinary bathroom products, for less. From modern to traditional style ceramics, plus the gorgeous fixtures, fittings, and furniture to match. So, you can fall in love with your space every single day.
As one of the UK’s largest independent bathroom stores, we’ve received countless awards including the National Business Awards UK, the Digital Entrepreneur Awards, and being placed on The Sunday Times Fast Track 100.
We hope your new product exceeds your highest expectations. However, if you experience any problems, please:
- call our friendly UK call center on 03303903062 (9 am-7 pm Monday to Friday, or 10 am-4 pm Saturday and Sunday), or
- send us a message via [email protected]
Important information
- Please read these instructions thoroughly and retain them for future reference
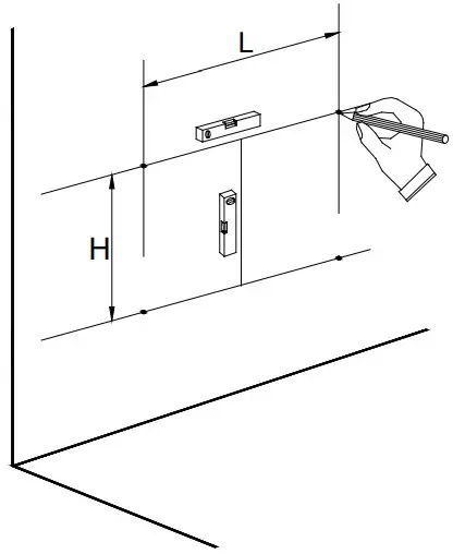
- Please check for pipes and cables before drilling the wall
Tools required(Tools not provided)

Important information Please read carefully. Keep this information for further reference.
Serious or fatal crushing injuries can occur if the furniture is not secured correctly. To prevent furniture from tipping over it must be permanently fixed to the wall.
Fittings for the wall are not included since different wall materials require different types of fittings.
Use fittings suitable for the walls in your home. For advice on suitable fittings, contact your local dealer.
![]() | ![]() |
![]() | ![]() |
Installation
Gap Adjustment




Please note – wall fixings are not supplied These can be purchased from a local DIY store

Cleaning
-Clean with a soft cloth & warm soapy water only
-Do not use abrasive cleaning agents
-Dry unit with a cloth after use


For more information
visit betterbathrooms.com
email [email protected]
call 03303903062
write to Trident Business Park, Neptune Way, Huddersfield, FID21UA
part of the BuildDirect group





















