ECHO RB-80 Broadcast Spreader
WARNING
Carefully Read These Instructions Before Use
IMPROPER USE OR FAILURE TO FOLLOW INSTRUCTIONS CAN RESULT IN PRODUCT FAILURE OR INJURIES.
FOR SAFE USE OF THIS PRODUCT YOU MUST READ AND FOLLOW ALL INSTRUCTIONS BEFORE USING.
WARNING: Cancer and Reproductive Harm.
www.P65Warnings.ca.gov.
- Do not allow anyone to operate the broadcast spreader without proper instructions
- Do not permit children to operate the broadcast spreader
- Wear protective eyewear and gloves when handling and applying lawn and garden chemicals
- Read the chemical label instructions and warnings for handling and applying the chemicals you plan to spread – application settings provided are only a guideline
Contents
Spreader Hardware (Actual size)

Note: Not all components shown may be needed on your model
TOOLS NEEDED:

Spreader Components (Not Actual size)
Assembly Instructions
Handle Grip Assembly

Note: Hopper not shown in drawing for clarity.
Loosen nuts and bolts (H-5), place C-4 into C-6 assembly. Assemble nuts (H-7) on existing bolts (H-5).
Assemble Impeller to Gear Box

Assemble Impeller to Gear Box Shaft

Note: Hopper not shown in drawing for clarity
IMPORTANT: Gearbox runs counterclockwise when viewed from above. Orientated as shown in diagram.
Counterclockwise marking on the impeller.
NOTE: Hopper not shown in drawing for clarity.
Assemble wheels
Note: Hopper not shown in drawing for clarity.
Bolt installation on inside of wheel
Cotter pin installation on outside of wheel
Assemble Auger
Choose flat auger (H-9) for General turf applications.
- Fertilizers
- Herbicides
- Pesticides
- Grass Seed
- Free-Flowing Material
Thread auger (H-9) clockwise onto impeller shaft (C-3) and secure with H-10 nut.
Choose spiked auger for use with dense materials that have a tendency to clump or have a higher moisture content.
- Ice Melt- Calcium Chloride
- Lawn Mineral Supplement
CAUTION: This spreader is NOT recommended for use with rock salt.
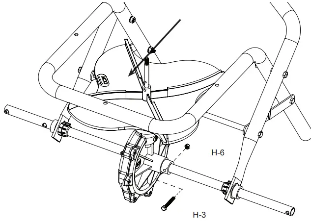
Thread auger (H-12) clockwise onto impeller shaft (C-3). Insert auger nut (H-6).
Tighten with 10 mm wrench. Do not over tighten.
Assemble Gate Linkage
Insert C-7 into key hole. Rotate clockwise to align with Rotary Gate Control Arm.
Assemble first H-10 nut to linkage C-7 as shown. Assemble C-7 to Rotary Rod Adapter as shown. Attach second H-10 nut to C-7 linkage.
Loosely attach nut (H-10) to linkage (C-7).
Keep loose for adjustment later.
Insert C-5 linkage arm into hole Rotary Gate Pivet and rotate clockwise.
Insert C-5 linkage arm into hole in rotary gate below hopper.
Attach R-Pin (H-8)
Attach Rear Baffle (snap onto frame)

Snap rear baffle (C-11) onto both frame legs (C-6) as shown with flat edge towards ground.
Assemble Adjustable Feet
Go back and tighten all hardware that was left loose.
Use hammer to tap in adjustable feet (H-5). Use adjustable feet to level spreader on flat surface.

Adjust Gate Control

Before setting gate, make sure the Hex Nuts (H-10) are positioned as shown.
Turn rotary gate (part of hopper assembly) clockwise until gate is completely closed. Note: Impeller (C-2) not shown in drawing for clarity.
Set gate control (C-4) in forward position as shown.
With the rotary gate closed and the gate control arm in the closed position, tighten the Hex nuts to the bracket as shown.
Adjust Spread Pattern Using Left and Right Gate
Full Spread Pattern
Left Spread Pattern
Right Spread Pattern
Narrow (centered) Spread Pattern
STORAGE AND MAINTENANCE
- Use garden hose to wash down the spreader after each use.
- Be careful not to direct the spray directly onto the gear box
- It is recommended that you DO NOT use a power washer on your spreader.
- If the RB-80 gear box has a Zerk fitting, grease it once a season. Before applying grease, first clean any dirt or debris from the fitting. Then apply 1-2 pumps of a lithium-based grease with an appropriate grease gun. Once removing the grease gun, clean any excess grease from the fitting.

Replacement Parts
| ITEM NO. | PART NUMBER | DESCRIPTION |
| 1 | 91210 | Gear Box Assembly |
| 2 | 91211 | Drive shaft w/2 bushings |
| 3 | 91212 | Gate Control Assembly, Zinc |
| 4 | 91213 | Impeller & Securing Screw Assembly |
| 5 | 91215 | (1) RB-80 Tire & Rim Assembly 12” |
| 6 | 91216 | Handle Grips (2) |
| 7 | 91217 | Hardware Blister, Zinc |
| 8 | 91218 | Rain Cover |
| 9 | 91219 | Auger & Lock Nut Assembly |
| 10 | 91220 | Rear Baffle |

APPLICATION CHART
| All Season Residential & Professional Push Spreader Application Conversion Chart | |||||||||||||||||||
| SCOTTS | 2 | 2.5 | 3 | 3.25 | 3.5 | 4 | 4.75 | 5 | 5.5 | 6 | 7 | 8 | 9 | 10 | 11 | 12 | 13 | 14 | 15 |
| ECHO | 9 | 10 | 11 | 11 | 12 | 13 | 14 | 14 | 15 | 16 | 17 | 19 | 20 | 22 | 23 | 25 | 26 | 28 | 30 |
| EARTHWAY | 12 | 13 | 13.5 | 14 | 14.25 | 14.5 | 15 | 16 | 17 | 18 | 20 | 21 | 22 | 23 | 24 | 25 | 26 | 27 | 28 |
| LESCO | 4 | 5 | 5.5 | 6 | 7 | 8 | 9 | 9 | 9.5 | 10 | 11 | 12 | 13 | 14 | 15 | 16 | 17 | 18 | 19 |
| All Season Residential & Professional General Application Guidelines | |
| Fine Control | 1 – 10 |
| Weed Control | 11 – 12 |
| Fertilizer | 13 – 14 |
| Grass Seed–Overseeding | 16 – 17 |
| Grass Seed-New lawn | 20 – 30 |
| Salt & Ice-Melt | 20 – 30 |
Sample Spread Pattern
Product Registration Card
ONLINE OPTION: Register online and save a stamp! You will be alerted of product updates and/or be sent new ECHO product information and special offers. Simply go to: www.echo-usa.com


ECHO LIMITED WARRANTY STATEMENT
ECHO LIMITED WARRANTY STATEMENT FOR SPREADERS SOLD IN USA AND CANADA BEGINNING 01/01/2017
ECHO’S RESPONSIBILITY
ECHO Incorporated’s Limited Warranty, provides to the original purchaser that this ECHO product is free from defects in material and workmanship. Under normal use and maintenance from date of purchase, ECHO agrees to repair or replace at ECHO’s discretion, any defective product free of charge at any authorized ECHO servicing dealer within listed below application time periods, limitations and exclusions. THIS LIMITED WARRANTY IS ONLY APPLICABLE TO ECHO PRODUCTS SOLD BY AUTHORIZED ECHO DEALERS. IT IS EXTENDED TO THE ORIGINAL PURCHASER ONLY, AND IS NOT TRANSFERABLE TO SUBSEQUENT OWNERS. Repair parts and accessories replaced under this warranty are warranted only for the balance of the original unit or accessory warranty period. Any damage caused by improper installation or improper maintenance is not covered by this warranty. All parts or products replaced under warranty become the property of ECHO, Inc. For a list of Authorized ECHO Dealers refer to WWW.ECHO-USA.COM or call 1-800-432-3246.
OWNER’S RESPONSIBILITY
To ensure trouble free warranty coverage it is important that you register your Echo equipment on-line at WWW.ECHO-USA.COM or by filling out the warranty registration card supplied with your unit. Registering your product confirms your warranty coverage and provides a direct link if we find it necessary to contact you.
The owner shall demonstrate reasonable care and use, and follow preventative maintenance and storage instructions as prescribed in the operator’s manual. Should a product difficulty occur, you must, at your expense, deliver or ship your ECHO unit to an authorized ECHO servicing dealer for warranty repairs (within the applicable warranty period), and arrange for pick-up or return of your unit after the repairs have been made. For your nearest authorized ECHO servicing dealer, call ECHO’s Dealer Referral Center, at 1-800-432-3246 or you can locate an ECHO servicing dealer at WWW.ECHO-USA.COM. Should you require assistance or have questions concerning ECHO’s Warranty Statement, you can contact our Consumer Product Support Department at 1-800-673-1558 or contact us through the web at WWW.ECHO-USA.COM.
PRODUCT WARRANTY PERIOD
HOMEOWNER APPLICATION
- 5 YEAR WARRANTY – All units for homeowner, or non-income producing use will be covered by this limited warranty for five (5) years from date of purchase.
EXCEPTIONS:
Damage caused by:
- Failure to follow Operator’s Manual
- Failure to follow all chemical manufacturers’ instructions included on their label or elsewhere
- Failure to follow Storing/Maintaining Your Spreader section in the Operator’s Manual
- Wear items including but not limited to: Tires / Tire Inner Tubes. These items are covered for 90 days from date of purchase
- Any mis-use of product is not covered including but not limited to: using un-approved chemicals or parts, un-approved uses, exceeding hopper weight capacity, using damaged or missing units/parts during operation, or modifying your spreader in any manner.
COMMERCIAL APPLICATION
- 2 YEAR WARRANTY – All other units for commercial, institutional, agricultural, industrial, or income producing use will be covered by this limited warranty for two (2) years from the date of purchase.
EXCEPTIONS:
Damage caused by:
- Failure to follow Operator’s Manual
- Failure to follow all chemical manufacturers’ instructions included on their label or elsewhere
- Failure to follow Storing/Maintaining Your Spreader section in the Operator’s Manual
- Wear items including but not limited to: Tires / Tire Inner Tubes. These items are covered for 90 days from date of purchase
- Any mis-use of product is not covered including but not limited to: using un-approved chemicals or parts, un-approved uses, exceeding hopper weight capacity, using damaged or missing units/parts during operation, or modifying your spreader in any manner.
RENTAL APPLICATION – 90 DAYS WARRANTY
- Units for rental use will be covered against defects in material and workmanship for a period of 90 days from the date of purchase except for any of the above listed EXCEPTIONS.
ECHO does not offer an over the counter exchange program. Any ECHO product re-built other than by ECHO or sold through an unauthorized dealer, or an unauthorized outlet store, is sold without ECHO’s limited warranty coverage. The ECHO Limited Warranty coverage is extended to the original purchaser only, and is not transferable. Repair parts and accessories replaced under this warranty are warranted only for the balance of the original unit or accessory warranty period. Any damage caused by improper installation or improper maintenance is not covered by this warranty. All parts or products replaced under warranty become the property of ECHO.
PURCHASED REPAIR PARTS AND ACCESSORIES
- 90-day homeowner, or non-income producing warranty except for any one of the above listed EXCEPTIONS
- 30-day commercial, institutional, agricultural, industrial, income producing, or rental application warranty except for any one of the above listed EXCEPTIONS
It is a dealer’s and/or customer’s responsibility to complete and return the warranty registration card supplied with your ECHO product or by visiting WWW.ECHO-USA.COM. Your receipt of purchase including date, model and serial number must be maintained and presented to an authorized ECHO servicing dealer for warranty service. Proof of purchase rests solely with the customer. Some states do not allow limitations on how long an implied warranty lasts, so the above limitations may not apply to you. Some states do not allow the exclusion or limitation of incidental or consequential damages, so you may also have other specific legal rights which vary from state to state. This limited warranty is given by ECHO Incorporated, 400 Oakwood Rd., Lake Zurich, IL 60047.
DISCLAIMER OF IMPLIED WARRANTIES
This limited warranty is in lieu of all other expressed or implied warranties, including any warranty of FITNESS FOR A PARTICULAR PURPOSE OR USE and any implied warranty of MERCHANTABILITY otherwise applicable to this product. ECHO and its affiliated companies shall not be liable for any special incidental or consequential damage, including lost profits. There are no warranties extended other than as provided herein. This limited warranty may be modified only by ECHO.
Customer Service
ECHO, INCORPORATED
400 Oakwood Road, Lake Zurich, IL 60047
www.echo-usa.com

















