SIEMENS EN-PADR PAD-3 Power Supply Enclosure

INTRODUCTION
Models EN-PAD and EN-PADR enclosures from Siemens Industry, Inc., are used to house the PAD-3 power supply. The EN-PAD is black and the EN-PADR is red. They are identical in all other ways, and will be referred to in the remainder of this document as ENPAD. (See Figure 1.) The backbox is mounted on a flat surface with four user-supplied bolts that are a maximum of 3/16 inch in diameter. The backbox contains enough space to mount a set of BT-33 batteries in the bottom.
PRE-INSTALLATION
If desired, remove the door before mounting the enclosure by first removing the ground strap and then lifting the door up and off its hinges.
INSTALLATION
Prior to installation consider the following:
- Mounting height for access to the enclosure.
- Weight and size of the enclosure.
- Local codes.
Install the backbox:
- Select a clean, dry, shock and vibration free surface.
- Position the backbox clear of obstructions so that the front door opens freely and the controls and indicators are easily accessible.
- Mark the locations of the two upper mounting bolts of the backbox on the wall (Refer to Figure 3).

- Drill the two holes located in the previous step and screw in the top bolts, leaving a small gap between the wall and each top bolt.
- Place the backbox over the two top bolts and allow it to slide down over the bolts (Refer to Figure 4).

- Mark, drill, and install the two bottom bolts in the backbox.
- Tighten all four bolts securely against the back wall of the backbox.
WIRING
In compliance with UL-864, effective May 1, 1995, all power limited fire protective signaling conductors must be separated a minimum of ¼ inch from all of the following wiring located within a control panel:
- electric light
- power
- Class 1 or non-power limited fire protective signaling conductors
To meet these requirements, the following guidelines must be observed when installing modules and wiring to this control panel. When installing power limited field wiring, the installer must comply with NEC article 760, which states: The fire alarm power-limited circuits are installed using Types FPL, FPLR, FPLP or permitted substitute cable, provided these power-limited cable conductors extending beyond the jacket are separated by a minimum of 0.25 in. (6.35 mm) or by a nonconductive sleeve or nonconductive barrier from all other conductors.
NOTE: If power-limited wiring is not used within the EN-PAD enclosure, then the following guidelines do not apply. In that case, be sure to follow standard wiring practices.
To avoid induced noise (transfer of electrical energy from one wire to another), keep input wiring isolated from high current output and power-limited wiring. Inproper wiring installation may cause improper operation. Avoid pulling one multi-conductor cable for the entire system. Instead, separate high current input/ output from low current.
Wiring within the cabinet should be routed around the perimeter of the cabinet. It should not cross the printed circuit board where it could induce noise into the sensitive microelectroincs or pick up unwanted RF noise from the switching power supply circuit.
Wiring Entering Enclosure Non-Power Limited Wiring
Wiring entering the enclosure from the top and left side of the backbox is considered non-power limited wiring. Wiring must be in the shortest route and must not overlap any other wiring. (Refer to Figure 5.)
Power Limited Wiring
Wiring entering the enclosure from the right side of the backbox is considered power limited. Wiring must be in the shortest route and must not overlap any other wiring. (Refer to Figure 5.)
Install Wiring
The System is designed to operate from an external 120 VAC, 50/60 Hz power source. The external source must have a separate or dedicated circuit breaker. Wire in accordance with local codes and NEC 760.
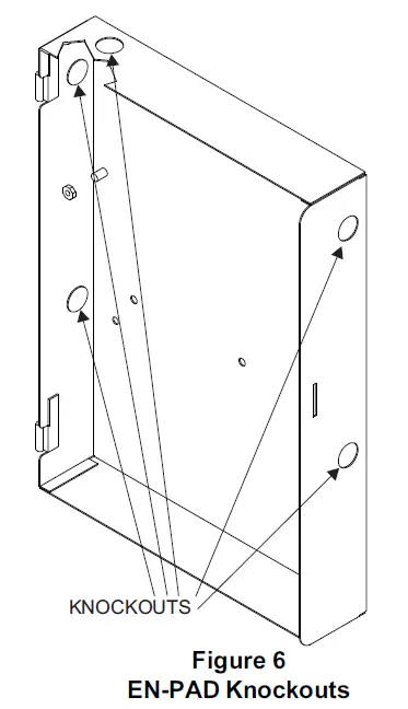
- Remove the knockouts in the backbox for the entry of field wiring (Refer to Figure 6 for the location of knockouts).

- Pull all field wiring into the backbox. Do not dress the wiring until the location of all the equipment is known.
- Install the wiring from the external power source to the approximate location of the power supply.
POST-INSTALLATION
After the backbox is installed and the wiring completed, finish the installation by replacing the door and the ground strap (if removed).
- Install the outer door by placing it on its hinges.
- Install the ground strap on both the door and backbox (See Figure 7).

SPECIFICATIONS
EN-PAD backbox: 12.12″W x 3.00″D x 17″H
Siemens Industry, Inc.
Building Technologies Division
Florham Park, NJ
Siemens Building Technologies, Ltd.
Fire Safety & Security Products
2 Kenview Boulevard
Brampton, Ontario
L6T 5E4 Canada



















